Бесплатная техническая библиотека
Реле поворотов на МОП-транзисторах. Энциклопедия радиоэлектроники и электротехники

Энциклопедия радиоэлектроники и электротехники / Автомобиль. Электронные устройства
Комментарии к статье
В предлагаемом реле указателя поворотов удалось обойтись без сильноточного электромагнитного реле с разрывными контактами. Его легко установить в большинство как отечественных автомобилей, так и "иномарок" с номинальным напряжением бортовой электросети 12 В, взамен вышедших из строя электронных и простейших термомеханических прерывателей тока.
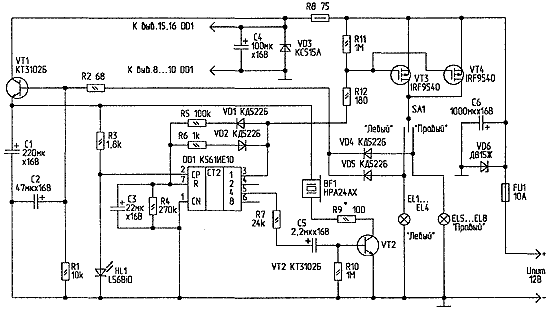
Принципиальную схему устройства вы видите на рис.1, а чертеж печатной платы (размерами 115x60 мм) - на рис.2. Все детали устройства, кроме предохранителя, звукоизлучателя и светодиода (при желании) распаиваются на ней.
Рис.1. Принципиальная схема реле поворотов (нажмите для увеличения)
Рис.2. Печатная плата
В качестве мощного узла коммутации используется пара современных р-канальных МОП-транзисторов типа IRF9540. Сопротивление открытого канала исток-сток такого транзистора не превышает 0,2 Ом. При параллельном включении двух таких транзисторов мы имеем сопротивление "замкнутого" МОП-ключа менее 0,1 Ом, что дает падение напряжения на нем не более 1 В при токе нагрузки 10 А. Такие замечательные параметры позволяют применять это реле не только для питания ламп "поворотников", но и использовать в системе сигнализации аварийной остановки.
Для упрощения схемы в качестве генератора импульсов использован мигающий светодиод HL1. При включении выключателем SA1 светового сигнала "левого" или "правого" поворота, через соответствующий диод VD5 или VD4 и токоограничительный резистор R2 заряжается конденсатор С2. Эмиттерный повторитель на VT1 открывается, и светодиод начинает весьма ярко вспыхивать (ток "вспышки" - около 6 мА). В момент вспышки напряжение на HL1 не превышает 2,2 В, а во время паузы близко к напряжению питания. С анода светодиода сигнал прямоугольной формы, следующий с частотой вспышек света (около 3 Гц), поступает на вход СР (вывод 2) четырехразрядного двоичного счетчика DD1. Переключение триггеров счетчика происходит по спаду импульса положительной полярности, т.е. при погасании светодиода.
На выходе 1 (вывод 3) DD1 появляется сигнал прямоугольной формы с частотой, вдвое меньшей чем на входе микросхемы. Когда на выводе 3 DD1 - логический "0", напряжение затвор-исток полевых транзисторов VT3 и VT4 будет около 12...14 В, они открыты, и соответствующие лампы будут мигать.
Во время вспышек ламп подзаряжается С2. В то время, когда на выводе 3 DD1 -логическая "1", напряжение затвор-исток VT3, VT4 не превышает 1 В, транзисторы закрыты, лампы не светятся.
С каждой четвертой вспышкой света подается короткий звуковой сигнал, который издает BF1 - пьезокерамический излучатель со встроенным генератором. Такой режим не так надоедает во время длительной стоянки у светофора. Кроме того, меньше эффект привыкания, когда перестаешь обращать внимание на звуковой сигнал, и "поворотники" остаются включенными без необходимости.
При размыкании SA1 лампы гаснут, конденсатор С2 быстро разряжается через резистор R1, вспышки светоди-ода затухают. В редких случаях, после размыкания контактов SA1, возможна остановка счетчика DD1 в таком состоянии, когда на его выводе 3 - логическая "1", транзисторы VT3, VT4 закрыты, и запуск генератора на мигающем светодиоде невозможен. Вывести устройство из "зависания" помогает цепь R5-VD1-R6-VD2-C3-R4. В случае, если на выходе 1 установился уровень логической "1", через VD1 и R5 заряжается конденсатор C3, и (примерно через 1,5 с) счетчик DD1 сбрасывается в начальное состояние, когда на выходе 1 - логический "0". Цепь R6-VD2 разряжает C3 при каждой вспышке ламп; напряжение на нем не поднимается выше 1,5 В, поэтому вход сброса R на работу микросхемы не влияет.
Мощный стабилитрон VD6 с напряжением стабилизации 18 В и цепочка R8-VD3 предназначены для защиты устройства от выбросов высокого напряжения (более 17...27 В), которые проскакивают в бортовой электросети автомобиля. Конденсатор С6 уменьшает помехи от системы зажигания.
Громкость контрольных гудков можно регулировать подбором R9, а их продолжительность зависит от емкости С5. Период следования гудков можно выбрать иным, подключив верхний по схеме вывод R7 к другим выводам DD1.
В этом реле поворотов можно использовать любые малогабаритные резисторы типов С1-4, С2-23, С2-33, МЛТ, ВС. Электролитические конденсаторы желательны надежные и малогабаритные, например, фирм "Rubicon", "Keltron", "Samsung" или отечественные серий К52, К53. Все диоды - кремниевые, серий КД521, КД522, КД105, КД209 и т.п. Стабилитрон VD3 заменяется на КС515Г, КС508Б, КС215Ж, VD6 - на КС541Б, КС529А, Д816А.
В качестве предохранителя FU1 можно использовать как одноразовый плавкий предохранитель, так и самовосстанавливающийся (MF-R900 на ток 9 А или более мощный).
Мигающий светодиод желательно взять красного цвета, например, L36BSRD/B, L56BCRD/B, L796BSRD/B, L796BSRC/B, L816BSRD/B диаметром от 3 до 10 мм фирмы "Kingbright". Можно использовать аналогичные светодиоды и других фирм [4].
Биполярные транзисторы можно установить любые структуры n-p-n с большим h21э из серий КТ3102, КТ315, КТ503, КТ645. На месте VT3, VT4 можно установить пару мощных р-канальных полевых транзисторов типов IRF9532, КП784А, КП785А. Их желательно разместить на небольших латунных или алюминиевых теплоотводах. Не следует забывать, что лампы накаливания имеют большой пусковой ток зажигания. Суммарный импульсный ток включения всех ламп не должен превышать половины допустимого импульсного тока примененных полевых транзисторов. Если общая мощность одновременно включаемых ламп будет более 90 Вт, желательно установить параллельно три полевых транзистора. Микросхему DD1 можно заменить на КР1561ИЕ10, CD4520AE. Звукоизлучатель со встроенным генератором можно поставить EFM-250, EFM-472A, EFM-475, EFM-471L.
Литература
- А.Бутов. Электронное реле указателя поворотов. - Радио, 2002, N8, С.54.
- П.Головин. Реле указателя поворотов на КМОП-микросхемах. - Радио, 1991, N6, С.З0.
- А.Иванов. Реле указателя поворотов на КР512ПС10. - Радио, 1993, N7, С.35.
- С.Рюмик. Все о мигающих светодиодах... - Радиохобби, 2002, N1, С.31.
- С.Чеботков. Новые мощные полевые транзисторы. - Радиомир, 2001, N8, С.39.
- Лампы накаливания автомобильные. Принципиальные электрические схемы прерывателей указателей поворотов. - Радиоаматор-Электрик, 2002, N7, С. 15.
Автор: А.Бутов, с.Курба; Публикация: radioradar.net
Смотрите другие статьи раздела Автомобиль. Электронные устройства.
Читайте и пишите полезные комментарии к этой статье.
<< Назад
Последние новости науки и техники, новинки электроники:
Впервые преоодолена передача ВИЧ от матери к ребенку
02.01.2026
Проблема вертикальной передачи ВИЧ - от матери к ребенку - остается одной из ключевых задач глобальной медицины. Недавний отчет Всемирной организации здравоохранения (ВОЗ) демонстрирует историческое достижение: Бразилия впервые в своей истории полностью преодолела этот путь передачи вируса. Страна стала 19-й в мире и первой с населением более 100 миллионов человек, которая достигла такого результата.
Достижения Бразилии основаны на комплексных медицинских программах, обеспечивающих своевременный доступ к диагностике и терапии для всех слоев населения. ВОЗ официально подтвердило, что уровень передачи ВИЧ от матери к ребенку снизился до менее двух процентов. Более 95% беременных женщин в стране получают регулярный скрининг на ВИЧ и необходимое лечение в рамках стандартного ведения беременности.
Изначально программа тестировалась в крупных муниципалитетах и штатах с населением более 100 тысяч человек, а затем была масштабирована на всю страну. Такой подход позволил унифицировать ста ...>>
Нанослой германия увеличивает эффективность солнечных батарей на треть
02.01.2026
Разработка высокоэффективных солнечных батарей остается одной из ключевых задач современной энергетики. Недавнее исследование южнокорейских ученых позволило повысить производительность тонкопленочных солнечных элементов почти на 30%, что открывает новые перспективы для возобновляемых источников энергии, гибкой электроники и сенсорных устройств.
Команда исследователей сосредоточилась на элементах на основе моносульфида олова (SnS) - нетоксичного и доступного материала, который идеально подходит для гибких солнечных панелей. До настоящего времени эффективность SnS-устройств оставалась низкой из-за проблем на границе контакта с металлическим электродом. В этой области возникали структурные дефекты, диффузия элементов и электрические потери, что существенно ограничивало возможности таких батарей. "Этот интерфейс был главным барьером для достижения высокой производительности", - отмечает профессор Джейонг Хо из Национального университета Чоннам.
Для решения этих проблем ученые предлож ...>>
Электростатическое решение для борьбы с льдом и инеем
01.01.2026
Борьба с льдом и инеем на транспортных средствах и критически важных поверхностях зимой остается сложной и затратной задачей. Ученые из Virginia Tech разработали инновационную технологию, способную разрушать лед и иней без использования тепла или химических реагентов, что открывает новые возможности для безопасной и экологичной зимней эксплуатации транспорта.
Исследователи обнаружили, что лед и иней образуют кристаллическую решетку с так называемыми ионными дефектами - заряженными участками, способными перемещаться под воздействием электрического поля. Эти дефекты являются ключом к управлению прочностью льда и его удалением с поверхностей.
Когда на замерзшую поверхность подается положительный электрический заряд, отрицательные ионные дефекты притягиваются к источнику поля. Это вызывает разрушение кристаллической решетки льда, в результате чего часть льда буквально "отскакивает" от поверхности. Такой эффект позволяет удалять лед без применения внешнего тепла или химических средств ...>>
Случайная новость из Архива Cota - технология зарядки гаджетов по воздуху
08.04.2015
Разработчики технологии беспроводной зарядки Cota, потратившие на свое детище 8 лет, готовы к запуску разработки в серийное производство. Cota использует радиоволны для передачи энергии и может заряжать все устройства в доме одновременно.
Стартап Ossia завершил разработку технологии беспроводной зарядки Cota и готов предоставить ее производителям мобильных устройств и бытовой электроники. В компании рассчитывают, что первые контракты на поставку Cota они заключат до конца 2015 г., сообщает InfoWorld.
Разработка технологии заняла 8 лет, впервые она была представлена в 2013 г. Cota позволяет передавать энергию различным электронным устройствам по воздуху, используя радиоволны в тех же диапазонах частот, которые используются стандартами Wi-Fi и Bluetooth.
Для работы зарядника Cota не имеет значения, лежит ли заряжаемое устройство или находится в кармане пользователя, который постоянно перемещается по помещению. Главное, чтобы это устройство находилось в радиусе 10 м от передатчика энергии.
Передатчик энергии - это один из двух компонентов технологии Cota. Второй компонент - чипсет, который необходимо поместить в каждое устройство, которому необходимо передать энергию. Это может быть смартфон, планшет, ноутбук, "умные часы", датчик дыма, "умный термостат" и т. д. В компании уверяют, что размер чипсета позволит встроить его практически в любое современное устройство.
В случае если устройство оснащено антенной Wi-Fi или Bluetooth, то прием энергии будет осуществляться с ее помощью. То есть, например, в случае со смартфоном, планшетом и нотбуком никаких дополнительных компонентов, помимо чипсета Cota, встраивать не понадобится. В случае с термостатом, датчиком дыма и другой бытовой электроникой потребуется антенна, если она не предусмотрена конструкцией.
Принцип действия Cota основан на фокусировке радиосигнала на заряжаемом устройстве. Это позволяет передавать ему сигнал мощностью 1 Вт - треть той мощности, которую обеспечивает мобильному телефону порт USB. А так как технология основана на радиоволне, устройства не должны находиться в прямой видимости от передатчика, как, например, в одном из концептов Microsoft.
"Вам не обязательно помещать передатчик энергии в каждую комнату. Поставьте его в одно место и он будет передавать энергию всем устройствам в доме. Это как с Wi-Fi. Если ваше устройство ловит Wi-Fi, то значит и энергию оно получит", - рассказал основатель стартапа Хэтем Зейн (Hatem Zeine).
По словам Зейна, стартап Ossia обладает четырьмя ключевыми патентами на технологию Cota в США.
Инженеры Ossia утверждают, что новая технология безопасна для человека - мощность сигнала, испускаемого передатчиком энергии, в 10 тыс. раз меньше в сравнении с Wi-Fi-роутером.
|
Другие интересные новости:
▪ LDB - серия понижающе-повышающих DC-DC светодиодных драйверов
▪ Летающий автомобиль
▪ Новые DC/DC-преобразователи FAN2011 и FAN2012
▪ 5-дюймовый дисплей 1920 x 1080 пикселей от LG
▪ Ветра для энергетики хватит на всех
Лента новостей науки и техники, новинок электроники
Интересные материалы Бесплатной технической библиотеки:
▪ раздел сайта И тут появился изобретатель (ТРИЗ). Подборка статей
▪ статья Сегодня я - гений. Крылатое выражение
▪ статья В какой стране на Рождество принято решать накопившиеся за год конфликты в кулачном бою? Подробный ответ
▪ статья Трицикл-пневмоход. Личный транспорт
▪ статья Имитатор звуков капели. Энциклопедия радиоэлектроники и электротехники
▪ статья Импульсный блок питания на базе блока питания ПК. Энциклопедия радиоэлектроники и электротехники
Оставьте свой комментарий к этой статье:
Главная страница | Библиотека | Статьи | Карта сайта | Отзывы о сайте

www.diagram.com.ua
2000-2025