Menu Home

Бесплатная техническая библиотека для любителей и профессионалов Бесплатная техническая библиотека


Автомобильные охранные системы на микроконтроллере PIC12F629. Энциклопедия радиоэлектроники и электротехники

Бесплатная техническая библиотека

Энциклопедия радиоэлектроники и электротехники / Автомобиль. Охранные устройства и сигнализация

Комментарии к статье Комментарии к статье

В продолжении темы автомобильных охранных систем на микроконтроллерах фирмы MICROCHIP [1], [2] предлагается еще две схемы автомобильных охранных систем на PIC12F629, модернизированных с целью повышения надежности работы как в неблагоприятных климатических условиях, так и в условиях взлома автомобиля, при попытках вывода из строя автомобильной охранной системы.

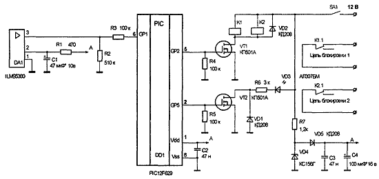
Схема на рис. 1 представляет собой модернизированный вариант автомобильной охранной системы АОС [1] с использованием новой элементной базы. Модернизация коснулась коррекции алгоритма работы охранной системы для микроконтроллера PIC12F629, изменения входных цепей приема сигналов от дверных включателей освещения, концевых выключателей капота и багажника, изменения схемы подключения светодиода.

Принципиальная схема автомобильной охранной системы; Увеличить в новом окне
Рис.1. Принципиальная схема автомобильной охранной системы (нажмите для увеличения)

Автомобильная охранная система АОСМ выполнена на основе микроконтроллера PIC12F629 фирмы MICROCHIP с энергонезависимой памятью. Наличие энергонезависимой памяти позволяет сохранять текущее состояние АОСМ при нормальном или умышленном отключении питания и переходить в него при восстановлении питания. Изменения алгоритма работы АОС коснулись в основном режима ПОДГОТОВКА [1]. В новом варианте алгоритм работы АОСМ в этом режиме будет следующий:

ПОДГОТОВКА - после высадки пассажиров и закрытия всех дверей, визуальной проверки состояния капота и багажника, водитель, сидя в кабине, включает потайной тумблер питания SA1 (рис. 1) блока АОСМ и, если питание системы АОСМ было выключено водителем в режиме СНЯТИЕ С ОХРАНЫ, то загорится и будет гореть непрерывно светодиод VD1 (рис. 1).

Примечание: если питание системы АОСМ было отключено в режиме ОХРАНА, то при восстановлении питания система АОСМ немедленно перейдет в режим ОХРАНА.

Если питание системы АОСМ было отключено в режиме ОХРАНА после взлома, то при восстановлении питания система АОСМ немедленно перейдет в режим ОХРАНА с блокировкой зажигания.

Если питание блока АОСМ было отключено во время состояния ВЗЛОМ, то при подаче питания система АОСМ немедленно перейдет в режим ВЗЛОМ с соответствующей звуковой сигнализацией. И только после отработки этого режима и перехода в режим ОХРАНА возможен режим СНЯТИЕ С ОХРАНЫ.

Таким образом, попытки умышленного вывода из строя системы АОСМ путем вскрытия капота и снятия проводов с клемм аккумулятора и последующего их подключения, будут сопровождаться звуковой сигнализацией при каждом подключении проводов к аккумулятору в режиме ВЗЛОМ.

Последующий алгоритм работы модернизированной автомобильной охранной системы АОСМ совпадает с алгоритмом работы системы АОС [1].

Изменение входных цепей приема сигналов от концевых датчиков вызвано необходимостью повышения надежности работы охранной системы в условиях повышенной влажности и в зимних условиях. При срабатывании одного из концевых выключателей, катод VD3 или VD4 (рис. 1) [1] замыкается на корпус. Напряжение на одном из входов PIC-контроллера уменьшается при этом с 4...5 В до 0,5...0,7 В за счет падения напряжения на диоде. В этом случае микроконтроллер будет работать в соответствии с алгоритмом работы, приведенным в [1].

При небрежном подключении проводов к концевым выключателям, при окислении контактов выключателей из-за длительной эксплуатации, при применении диодов с повышенным падением напряжения в условиях низкой температуры это напряжение увеличивается и может превысить значение в 0,8 В - порог срабатывания микроконтроллера.

В итоге охранная система не будет становиться на охрану либо не будет реагировать на срабатывание каких-то выключателей. Для исключения подобных ситуаций и проведена доработка входных цепей охранной системы.

Изменена и схема подключения светодиода на тот случай, если взломщику станут доступны провода подключения к светодиоду, и он попытается вывести из строя АОСМ путем подачи на провод, подключенный к катоду светодиода, напряжения величиной, например в 100 В. В этом случае будет выгорать резистор R12, но работоспособность автомобильной охранной системы не будет нарушена. Способ изготовления датчика удара, другие технические подробности приведены в статье [1].

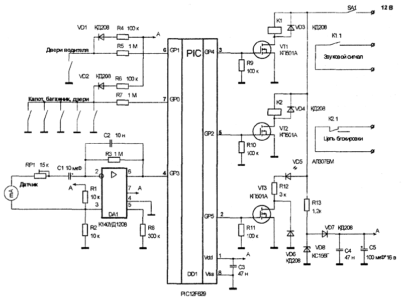
Схема на рис. 2 представляет собой один из вариантов технической реализации иммобилайзера - автомобильной охранной системы с двумя каналами блокировки работы двигателя.

Автомобильные охранные системы на микроконтроллере PIC12F629. Схема подключения
Рис.2. Схема подключения (нажмите для увеличения)

Иммобилайзер блокирует пуск двигателя при включении зажигания. Постановка на охрану и снятие с охраны осуществляется бесконтактным способом с помощью брелка на ИК-лучах. Схема брелка и описание его работы приведены в [2]. Для передачи команд от брелка блоку иммобилайзера используется 32-разрядный код, индивидуальный для каждого образца автомобильной охранной системы, и фазоимпульсная модуляция инфракрасных лучей.

Включатель SA1 размещается в труднодоступном месте и предназначен для аварийного отключения блока иммобилайзера при выходе его из строя. Сам блок вместе с фотоприемником и реле размещаются за приборной панелью. Фотоприемник прикрепляют изнутри к приборной панели любым способом, предварительно высверлив в месте крепления отверстие диаметром 1...3 мм для прохождения ИК-лучей. Хотя можно предварительно проверить работу иммобилайзера без сверления отверстия. Возможно, мощности излучения брелка хватит для преодоления препятствия в виде стенки приборной панели.

Питание 12 В на блок иммобилайзера подается с электроцепи автомобиля, на которой появляется напряжения при включении зажигания. При выключении зажигания иммобилайзер обесточивается и не потребляет тока от аккумулятора.

Алгоритм работы иммобилайзера следующий:

  1. ВЫКЛЮЧЕНО - питание блока выключено, и охранная система в этом режиме не влияет на электрооборудование автомобиля.
    ПОДГОТОВКА - при первоначальной подаче питания на блок иммобилайзера загорается и горит непрерывно светодиод VD1. Реле К1 и К2 при этом отключены. Иммобилайзер запоминает это текущее состояние системы в своей энергонезависимой памяти и при последующих отключениях и включениях питания возвращается в это состояние. В это же состояние иммобилайзер переходит и по команде с брелка при снятии с охраны.
  2. ПОСТАНОВКА НА ОХРАНУ - при включенном зажигании в состоянии ПОДГОТОВКА направить брелок на фотоприемник и нажать кнопку брелка один раз. Система переходит при этом в режим БЛОКИРОВКА.
  3. БЛОКИРОВКА - в этом режиме светодиод VD1 (рис. 2) мигает с частотой 2 Гц, включаются реле К1 и К2 и своими контактами К1.1 и К2.1 разрывают выбранные цепи блокировки. Иммобилайзер запоминает это текущее состояние системы в своей энергонезависимой памяти и, при последующих отключениях и включениях зажигания, возвращается в это состояние, блокируя работу двигателя.
  4. СНЯТИЕ С ОХРАНЫ - при включенном зажигании в режиме БЛОКИРОВКА направить брелок на фотоприемник и нажать кнопку брелка один раз. Иммобилайзер перейдет при этом в режим ПОДГОТОВКА.

Во время работы в режиме БЛОКИРОВКА микроконтроллер постоянно проводит контроль наличия сигнала с фотодатчика. При пропадании сигнала с фотодатчика частота мигания светодиода уменьшается с 2 Гц до 0,5 Гц, но блокировка двигателя не снимается при выключении и включении зажигания. Для снятия блокировки двигателя необходимо устранить возникшую неисправность либо отключить питание иммобилайзера выключателем SA1 (рис. 2). При появлении сигнала с фотодатчика частота мигания светодиода возвращается к исходной частоте.

При включении питания и переходе в режим ПОДГОТОВКА микроконтроллер также проводит контроль наличия сигнала с фотодатчика, и при его отсутствии светодиод начинает мигать еще реже с частотой 0,2 Гц, указывая на возникшую неисправность, но не блокируя работу двигателя. Необходимо и в этом случае оперативно устранить возникшую неисправность.

Фотоприемник DA1 типа ILMS5360 можно заменить фотоприемниками SFH506-36, TFMS5360 и т.д. Выключатель SA1 может быть любого типа, желательно малогабаритный.

Реле К1 и К2 - любые реле на 12 В с допустимым током через контакты 8...15 А и более, в зависимости от коммутируемой нагрузки.

Остальные технические подробности работы дистанционного управления на ИК-лучах приведены в статье [2].

За консультацией по поводу работы описанных схем и со своими пожеланиями и предложениями обращаться к автору статьи.

Литература

  1. "Простая автомобильная охранная система на PIC12C508A", - Радиолюбитель, 2002, №2.
  2. "Простая автомобильная охранная система на PIC12F629 с дистанционным управлением на ИК-лучах", - Радиолюбитель, 2003, №5.

Автор: Н. Купреев, г. Минск; Публикация: radioradar.net

Смотрите другие статьи раздела Автомобиль. Охранные устройства и сигнализация.

Читайте и пишите полезные комментарии к этой статье.

<< Назад

Последние новости науки и техники, новинки электроники:

Рыжий ген и ускоренная эволюция 30.04.2026

Вопрос о том, как и насколько быстро меняется человеческий вид, давно занимает биологов и генетиков. Долгое время считалось, что эволюционные процессы происходят крайне медленно, однако новые данные заставляют пересматривать эти представления. Особенно интересные результаты связаны с изменением частоты редких генетических признаков, включая рыжий цвет волос. Рыжеволосость сегодня остается редкой чертой: ее носители составляют менее 2 процентов мирового населения. Однако анализ древней и современной ДНК показывает, что ген, связанный с этим признаком, за последние примерно 10 тысяч лет стал заметно более распространенным, особенно среди популяций Европы. Более того, вместе с ним исследователи фиксируют и другие изменения в генетическом профиле человека, затрагивающие внешность и физиологические особенности. Среди сопутствующих тенденций, выявленных в генетических данных, отмечается увеличение частоты светлой кожи, снижение вероятности мужского облысения, а также некоторые физиолог ...>>

Нейтринный лазер 30.04.2026

Нейтринный лазер - это гипотетическое устройство, способное управлять потоками одних из самых трудноуловимых частиц во Вселенной. Такая разработка открывает новые горизонты в изучении фундаментальных законов природы и может изменить представления о космосе. Идею нового типа излучателя представили физики из Massachusetts Institute of Technology, предложив лазер, который вместо света генерирует поток нейтрино. Эти частицы, почти не взаимодействующие с материей, настолько слабо проявляют себя, что их часто называют "частицами-призраками". Тем не менее они пронизывают все вокруг: по оценкам, триллионы нейтрино ежесекундно проходят через человеческое тело, не оставляя следа. Несмотря на их колоссальную распространенность во Вселенной, нейтрино остаются одними из наименее изученных частиц. Их крайне сложно регистрировать, а еще сложнее контролировать, поэтому традиционно их получают в крупных установках вроде ядерных реакторов или ускорителей частиц. Такие комплексы требуют огромных за ...>>

Мороженое не такое вредное, как принято считать 29.04.2026

В питании часто встречаются продукты, которые одновременно вызывают удовольствие и сомнения с точки зрения здоровья. К таким относится и мороженое: оно воспринимается как типичный десерт с высоким содержанием сахара и жиров, однако современные научные данные постепенно усложняют это привычное представление. Долгое время считалось, что мороженое не может быть частью рационального питания, однако исследования последних лет показывают более неоднозначную картину. Ученые подчеркивают, что влияние этого продукта на организм зависит не только от его сладости или калорийности, но и от состава, качества ингредиентов и общего образа жизни человека. Одни из наиболее масштабных данных были получены в рамках долгосрочных наблюдений в США, включавших проекты Nurses Health Study, Nurses Health Study II и Health Professionals Follow-Up Study. В этих исследованиях на протяжении 20-40 лет наблюдали примерно 190 тысяч взрослых участников, регулярно собирая данные об их питании, физической активнос ...>>

Случайная новость из Архива

Искусственная легочная ткань по примеру легких ящериц 09.01.2022

В отличие от легких человека с их сложной древовидной структурой, легкие ящерицы вида коричневый анолис развиваются намного проще. И могут стать подходящей моделью для создания искусственных легких, разработанных учеными Принстонского университета (США).

У птиц и млекопитающих легкие развиваются в очень непростые структуры из-за бесконечного ветвления и сложной биохимической передачи сигналов. Легкие же коричневого анолиса формируются более простым способом: как будто мягкий шарик выдавливается из сетки, как в обычной игрушке-антистрессе.

Легкое ящерицы начинает развиваться в виде полой удлиненной мембраны, окруженной однородным слоем гладкой мускулатуры. Во время развития клетки легких выделяют жидкость, и при этом внутренняя мембрана медленно раздувается и истончается, как воздушный шар. Это оказывает давление на гладкую мускулатуру, заставляя ее сжиматься и распространяться на пучки волокон, которые в конечном итоге образуют сетку в форме сот.

Давление жидкости продолжает выталкивать эластичную мембрану наружу, через щели в жилистой сетке. В результате образуются заполненные жидкостью "луковицы", которые покрывают легкие. Эти выпуклости создают большую площадь поверхности, на которой происходит газообмен. И это все.

Весь процесс занимает менее двух дней и завершается в течение первой недели инкубации. У вылупившейся ящерицы воздух входит в верхнюю часть легкого, циркулирует вокруг полостей, а затем выходит обратно.

Для биоинженеров эта скорость и простота формирования легкого создают новую парадигму дизайна легочной ткани. Исследование также открывает новые возможности для более подробного изучения развития рептилий.

Другие интересные новости:

▪ Свет из асфальта

▪ Управление дроном движением корпуса

▪ Конкурс инверторов для солнечных электростанций

▪ Экологически чистый катализатор пропилена

▪ Чувствительная дорога

Лента новостей науки и техники, новинок электроники

 

Интересные материалы Бесплатной технической библиотеки:

▪ раздел сайта Инфракрасная техника. Подборка статей

▪ статья Без гнева и пристрастия. Крылатое выражение

▪ статья Перевод какой книги на языки европейских народов способствовал созданию их национальной письменности и литературного языка? Подробный ответ

▪ статья Коммерческий директор. Должностная инструкция

▪ статья УКВ ЧМ пpиемник на м/с КХА058. Энциклопедия радиоэлектроники и электротехники

▪ статья Сверхрегенеративный приемник на 80-125 МГц. Энциклопедия радиоэлектроники и электротехники

[an error occurred while processing this directive] Оставьте свой комментарий к этой статье:

Имя:


E-mail (не обязательно):


Комментарий:




Комментарии к статье:

Владимир
Очень интересная статья. Хотелось бы получить прошивку данного МК (программатор имеется), и приемника и брелка, или как программировать, если возможно, без программатора. С уважением Владимир, kiparis95@gmail.com.


Главная страница | Библиотека | Статьи | Карта сайта | Отзывы о сайте

www.diagram.com.ua

www.diagram.com.ua
2000-2026