Menu Home

Бесплатная техническая библиотека для любителей и профессионалов Бесплатная техническая библиотека


Пропорциональное управление вентилятором охлаждения двигателя автомобиля. Энциклопедия радиоэлектроники и электротехники

Бесплатная техническая библиотека

Энциклопедия радиоэлектроники и электротехники / Автомобиль. Электронные устройства

Комментарии к статье Комментарии к статье

Предлагаемое устройство позволяет перейти от релейного принципа управления вентилятором системы охлаждения двигателя "температура выше нормы - включен, ниже нормы - выключен" к более, по мнению автора, благоприятному для двигателя пропорциональному управлению. Теперь с ростом температуры охлаждающей жидкости частота вращения ротора вентилятора линейно увеличивается.

Сегодня во многих автомобильных двигателях вентилятор охлаждения имеет электрический привод, но управляют им в большинстве случаев по релейному принципу. Такое управление имеет только одно достоинство - простоту реализации. Достаточно иметь датчик температуры с контактным выходом, непосредственно или через промежуточное реле управляющий электродвигателем вентилятора.

Основной недостаток этого метода - резкое снижение температуры охлаждающей жидкости на выходе радиатора после включения вентилятора. Работающий на полную мощность вентилятор понижает температуру охлаждающей жидкости на выходе радиатора на 15...25 оС и более. Поступая в рубашку охлаждения двигателя, существенно охлажденная жидкость наносит термоудар по горячим поверхностям, что негативно сказывается на работе двигателя. Для его комфортной работы температуру охлаждающей жидкости желательно поддерживать близкой к оптимальной, рекомендуемой заводом-изготовителем, а резкие скачки температуры (термоудары) должны быть исключены в принципе.

На части автомобилей, имеющих механический привод вентилятора охлаждения, это достигнуто соединением вентилятора с коленчатым валом двигателя через виско-муфту. Она изменяет передаваемый на вал вентилятора крутящий момент в зависимости от температуры охлаждающей жидкости. Это стабилизирует температурный режим.

Предлагаемое устройство представляет собой электронный аналог виско-муфты для вентилятора с электрическим приводом. Оно автоматически регулирует частоту его вращения в зависимости от температуры охлаждающей жидкости.

Устройство работает от бортсети автомобиля при напряжении в ней 10...18 В и может управлять вентилятором с максимальным потребляемым током до 20 А или до 30 А при условии увеличения площади теплоотвода силовых элементов. Собственное потребление тока устройством не превышает нескольких миллиампер. Значения температуры включения вентилятора с минимальной частотой вращения и температуры, при которой частота вращения вентилятора достигает максимума, задают с дискретностью 0,1 оС при программировании микроконтроллера.

При отказе датчика температуры охлаждающей жидкости устройство переходит в аварийный режим, позволяющий безопасно для двигателя доехать до ремонтной мастерской.

Схема устройства изображена на рис. 1. Измеряет температуру цифровой датчик DS18B20 (BK1). Применение этого датчика позволяет отказаться от калибровки изготовленного устройства и улучшает его повторяемость.

Пропорциональное управление вентилятором охлаждения двигателя автомобиля
Рис. 1. Схема устройства (нажмите для увеличения)

Информацию о температуре считывает с датчика микроконтроллер ATtiny2313A-PU (DD1), который тактируется импульсами частотой 1 МГц от внутреннего RC-генератора. Пропорционально температуре он регулирует напряжение питания двигателя вентилятора и, следовательно, частоту вращения его ротора. На двигатель поступает импульсное напряжение, постоянная составляющая которого, определяющая частоту вращения, зависит от коэффициента заполнения (отношения длительности импульсов к периоду их повторения). Коэффициент заполнения программа задает восьмиразрядными двоичными числами, загружаемыми в регистр сравнения работающего в режиме ШИМ таймера микроконтроллера.

Сформированные микроконтроллером импульсы управляют работой силового ключа на полевом транзисторе VT1, замыкающего и размыкающего цепь питания двигателя вентилятора от бортовой сети автомобиля. При этом постоянная составляющая приложенного к двигателю напряжения равна

U = U0 (N / 255), где U0 - напряжение в бортсети, В; N - число, загруженное в регистр микроконтроллера.

Ее можно изменять с шагом ΔU = U0 / 255.

При напряжении в бортсети 12 В ΔU≈0,05 В, что позволяет регулировать частоту вращения вентилятора практически плавно.

Для обеспечения надежной работы ключевого транзистора VT1 в переходных режимах микроконтроллер управляет им через драйвер TC4420EPA (DA1). Современные полевые транзисторы, имея очень малое сопротивление открытого канала (единицы миллиом), способны коммутировать значительный ток даже без применения теплоотвода. Однако большая входная емкость полевого транзистора, доходящая у мощных приборов до нескольких тысяч пикофарад, в процессе его переключения заряжается и разряжается. Это занимает тем больше времени, чем больше выходное сопротивление источника управляющего сигнала.

Плохо то, что в процессе перезарядки емкости полевой транзистор находится в активном режиме и сопротивление его канала довольно велико. Поэтому за время переключения в кристалле транзистора выделяется значительная мощность, что может привести к его перегреву и необратимому повреждению. Единственный способ борьбы с этим явлением - ускорение процесса перезарядки. Для этого полевыми транзисторами управляют через специализированные усилители (драйверы), имеющие низкое выходное сопротивление и обеспечивающие большой (до нескольких ампер) импульсный зарядно-разрядный ток. Это обеспечивает быструю перезарядку входной емкости полевого транзистора и, следовательно, минимизирует продолжительность его работы в активном режиме и снижает рассеиваемую на нем мощность.

Резистор R4 поддерживает на входе драйвера низкий логический уровень напряжения во время запуска микроконтроллера, пока все его выходы остаются в высокоимпедансном состоянии. Это исключает ненужное в это время открывание транзистора VT1. Диод VD1 устраняет импульсы ЭДС самоиндукции, возникающие в обмотках двигателя вентилятора в моменты закрывания транзистора VT1.

Во время работы программа микроконтроллера постоянно следит за наличием и работоспособностью датчика температуры. Если связи с ним нет, она переходит в аварийный режим работы. В этом режиме независимо от температуры охлаждающей жидкости вентилятор на 33 с будет включен на полную мощность, а затем на такое же время выключен. Конечно, это далеко не оптимальный вариант охлаждения двигателя, но он предотвращает его полный отказ в отсутствие охлаждения. О переходе в аварийный режим сигнализирует включение светодиода HL1. Если нарушение связи с датчиком было временным, после ее восстановления устройство переходит в нормальный режим работы.

В программу микроконтроллера для управления вентилятором заложены в виде констант следующие исходные данные:

- Tmin = 87 - температура охлаждающей жидкости, оС, при которой вентилятор должен начинать работать с минимальной частотой вращения;
- Tmax = 92 - температура охлаждающей жидкости, оС, при которой частота вращения вентилятора должна достичь максимального значения;
- N1 = 70 - значение загружаемого в регистр сравнения таймера кода, обеспечивающее вращение ротора вентилятора с минимальной частотой.

Как известно, промышленные датчики, предназначенные для управления работой вентиляторов охлаждения, имеют два основных параметра - температуру включения и температуру выключения. Их и следует выбрать в качестве Tmax и Tmin. Значение N1 нужно задать таким, при котором постоянная составляющая напряжения на двигателе вентилятора равна напряжению его трогания Uтр.

Проблема в том, что напряжение трогания не принято указывать в технических данных вентиляторов, поэтому найти в литературе или в документации значение этого параметра автору не удалось. Его пришлось определять экспериментально. Методика проста - подавая напряжение на двигатель, найти его значение, при котором вал начнет медленно (оборот за одну-две секунды), но устойчиво вращаться. Для большинства двигателей постоянного тока с номинальным напряжением питания 12 В напряжение трогания лежит в пределах 3...5 В.

При запуске программы микроконтроллер на основании значений Tmax, Tmin и N1 рассчитывает Dn - требуемую крутизну зависимости значения загружаемого регистр сравнения таймера кода от температуры:

Dn = (255 - N1) / (Tmax - Tmin).

Затем начинается главный цикл программы. Прежде всего, происходит проверка связи с датчиком температуры, а при ее отсутствии - переход в аварийный режим работы. Такую проверку программа выполняет каждую секунду. Если очередная проверка показывает, что датчик работает, восстанавливается нормальный режим работы.

Когда датчик исправен, он измеряет текущую температуру охлаждающей жидкости T. Если она ниже Tmin, программа выключает вентилятор, в противном случае вычисляет требуемое значение управляющего кода по формуле

N = (T - Tmin)·Dn+N1.

Пропорционально ему будут установлены коэффициент заполнения питающего двигатель напряжения и, следовательно, частота вращения его ротора. В результате температура охлаждающей жидкости при неизменной нагрузке на двигатель поддерживается постоянной. При переменной нагрузке температура колеблется в небольших пределах внутри интервала Tmin...Tmax.

Все детали устройства, за исключением датчика BK1 и светодиода HL1, размещены на печатной плате размерами 58x65 мм, чертеж которой показан на рис. 2, а расположение элементов - на рис. 3.

Пропорциональное управление вентилятором охлаждения двигателя автомобиля
Рис. 2. Чертеж печатной платы

Пропорциональное управление вентилятором охлаждения двигателя автомобиля
Рис. 3. Расположение элементов на плате

Микросхемы впаяны непосредственно в плату без панелей, применение которых в условиях повышенной вибрации нежелательно. На плате имеются не показанные на схеме контактные площадки SCK, RST, VCC, MISO, MOSI, GND, к которым на время программирования микроконтроллера припаивают одноименные провода от программатора. При этом плату и программатор во время программирования следует питать напряжением +5 В (VCC) от одного источника.

Плата рассчитана на установку резисторов и конденсаторов типоразмера 1206 для поверхностного монтажа. Диод SR2040 (URL: files.rct.ru/ pdf/diode/5261755198365.pdf) - в двухвыводном корпусе TO220AC. Вместе с транзистором IRF3808 он закреплен с применением теплопроводной пасты на общем теплоотводе с площадью охлаждающей поверхности около 60 см2.

Принцип крепления транзистора 5 или диода к теплоотводу 1 и всего узла к печатной плате 2 показан на рис. 4. Диод изолирован от теплоотвода слюдяной прокладкой, а от крепящего винта 4 и металлической втулки 3 - изоляционной втулкой (изолирующие элементы на рисунке не показаны). Между корпусами диода и транзистора находится третья точка крепления теплоотвода к плате. Здесь он также закреплен винтом и втулкой.

Пропорциональное управление вентилятором охлаждения двигателя автомобиля
Рис. 4. Принцип крепления транзистора или диода к теплоотводу и всего узла к печатной плате

Все печатные проводники платы, по которым течет ток двигателя вентилятора, должны быть покрыты слоем припоя толщиной не менее 0,7...1 мм, а сечение подводящих проводов должно обеспечивать пропускание этого тока.

Светодиод HL1 целесообразно вынести в салон автомобиля, чтобы водитель имел оперативную информацию о текущем режиме работы устройства.

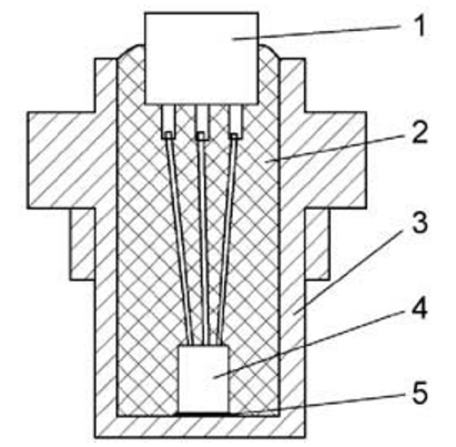
Датчик DS18B20 (ВК1) следует поместить в корпус от штатного контактного датчика температуры охлаждающей жидкости, из которого предварительно следует удалить всю "начинку". Такой корпус можно и выточить из латуни с сохранением габаритных и присоединительных размеров. Размещение датчика DS18B20 в корпусе показано на рис. 5. Датчик 4 с припаянным к его выводам разъемом 1 помещают в полость корпуса 3 так, чтобы его верхушка, на которую нанесен слой теплопроводной пасты 5, касалась дна полости.

Пропорциональное управление вентилятором охлаждения двигателя автомобиля
Рис. 5. Размещение датчика DS18B20 в корпусе

После этого полость заливают термостойким герметиком.

Разъем 1 должен иметь антикоррозийное покрытие контактов, бытьбрызгозащищенным, надежно фиксировать ответную часть, не допуская ее отстыковки под действием вибрации. Подготовленный датчик устанавливают на место штатного.

Собранная плата помещена в корпус подходящих размеров, который размещен в моторном отсеке автомобиля. В корпусе предусмотрены вентиляционные отверстия.

Микроконтроллер ATtiny2313A может быть заменен другим семейства AVR, имеющим как минимум один 8-разрядный и один 16-разрядный таймер и не менее 2 Кбайт программной памяти. Естественно, замена микроконтроллера потребует перекомпиляции программы и, возможно, изменения топологии печатной платы.

Вместо неинвертирующего драйвера нижнего плеча TC4420EPA можно использовать другой подобный, например, MAX4420EPA.

Диод с барьером Шотки SR2040 можно заменить аналогичным с допустимым обратным напряжением не менее 25 В и допустимым прямым током не менее рабочего тока вентилятора. Однако диоды Шотки с обратным напряжением более 40 В применять не рекомендуется, так как большее прямое падение напряжения на таком диоде приведет к возрастанию тепловыделения.

Замену полевому транзистору IRF3808 с изолированным затвором и каналом n-типа следует подбирать с опустимым постоянным током стока при температуре 100 °C в 2,5...3 раза больше рабочего тока вентилятора и с сопротивлением открытого канала при рабочем токе вентилятора до 20 А - не более 10 мОм, а 20...30 А - не более 7 мОм. Допустимое напряжение сток-исток должно быть не менее 25 В, а затвор-исток - не менее 20 В.

Правильно собранное из исправных деталей устройство потребует налаживание только в том случае, если исходные данные в прилагаемом варианте программы, о которых было сказано ранее, не соответствуют требуемым. В этом случае их нужно откорректировать в исходном тексте программы, заново откомпилировать его в среде разработки Bascom AVR и загрузить в память микроконтроллера вместо приложенного к статье файла Cooler-test.hex полученный HEX-файл.

Если напряжение трогания двигателя вентилятора неизвестно, его можно определить экспериментально. Для этого в память микроконтроллера вместо рабочей программы нужно загрузить разработанную мной отладочную программу. В приложенном к статье файле Cooler-test.hex содержатся ее коды. Конфигурацию микроконтроллера программируют одинаково для рабочей и тестовой программ в соответствии с рис. 6, где показано окно установки конфигурации программатора AVRISP mkII.

Пропорциональное управление вентилятором охлаждения двигателя автомобиля
Рис. 6. Программирование микроконтроллера

Через 3 с после включения питания программа Cooler-test начинает управлять вентилятором, постепенно увеличивая от 55 до 95 шагами по 5 единиц код, задающий коэффициент заполнения питающего вентилятор импульсного напряжения. Это примерно соответствует изменению постоянной составляющей этого напряжения от трех до пяти вольт. Длительность каждой ступени - 10 с, в течение которых вентилятор и светодиод HL1 включены, и пауза длительностью 5 с, в течение которой напряжение с вентилятора снято, а светодиод погашен. Об окончании работы программы сигнализирует серия из пяти коротких вспышек светодиода.

Наблюдая за светодиодом, несложно определить, на какой ступени вентилятор начал вращаться, и определить значение N1, которое следует записать в основную программу.

Работу устройства в аварийном режиме проверяют, отключив разъем от датчика температуры. При этом вентилятор должен включиться и работать на полную мощность в прерывистом режиме (33 с - работа, 33 с - пауза). Светодиод HL1 при этом должен светиться. Его желаемую яркость устанавливают подборкой резистора R3.

Программы микроконтроллера можно скачать по адресу ftp://ftp.radio.ru/pub/2016/11/fan.zip.

Автор: А. Савченко, пос. Зеленоградский Московской обл.

Смотрите другие статьи раздела Автомобиль. Электронные устройства.

Читайте и пишите полезные комментарии к этой статье.

<< Назад

Последние новости науки и техники, новинки электроники:

Хорошо управляемые луга могут компенсировать выбросы от скота 15.02.2026

Животноводство, особенно разведение крупного рогатого скота, часто обвиняют в значительном вкладе в глобальное потепление из-за мощного парникового газа - метана, который выделяется при пищеварении у жвачных животных. Это вызывает острые политические споры и призывы к сокращению потребления мяса. Однако ученые напоминают, что полная картина климатического воздействия отрасли не ограничивается только выбросами от животных: огромную роль играет окружающая экосистема - пастбища, почва и растительность, которые способны активно поглощать углекислый газ из атмосферы. Исследователи из Университета Небраски-Линкольна решили глубже изучить этот баланс. Группа под руководством профессора Галена Эриксона сосредоточилась на том, как правильно организованные пастбища накапливают углерод в растениях и грунте благодаря естественным процессам, стимулируемым выпасом скота. Ученые подчеркивают, что при достаточном уровне осадков и грамотном управлении такие луга превращаются в мощные природные погло ...>>

NASA тестирует инновационную технологию крыла 15.02.2026

Коммерческая авиация ежегодно расходует колоссальные объемы керосина, что сказывается не только на бюджете авиакомпаний, но и на состоянии окружающей среды. В 2024 году глобальные затраты на авиационное топливо достигли 291 миллиарда долларов, и эта сумма продолжает расти. Чтобы справиться с этими вызовами, NASA активно работает над технологиями, способными заметно повысить аэродинамическую эффективность самолетов. Одним из самых перспективных направлений стало создание специальной конструкции крыла, которая максимизирует естественный ламинарный поток воздуха и минимизирует сопротивление. В январе 2026 года специалисты NASA Armstrong Flight Research Center успешно провели важный этап наземных испытаний концепции Crossflow Attenuated Natural Laminar Flow (CATNLF). Для эксперимента под фюзеляж исследовательского самолета F-15B закрепили вертикально ориентированную масштабную модель высотой около 0,9 м (3 фута), напоминающую узкий киль. Такая компоновка позволила подвергнуть прототип р ...>>

Забота о внуках очень полезна для здоровья мозга 14.02.2026

Общение между поколениями приносит радость всей семье, но мало кто задумывается, насколько активно бабушки и дедушки, заботящиеся о внуках, поддерживают свою умственную форму. Регулярное взаимодействие с детьми стимулирует мозг пожилых людей, помогая сохранять память, скорость мышления и общую когнитивную активность. Новые научные данные подтверждают, что такая добровольная помощь не только важна для общества, но и может замедлять возрастные изменения в мозге. Исследователи из Тилбургского университета в Нидерландах провели анализ, чтобы понять, приносит ли уход за внуками реальную пользу здоровью пожилых людей. Ведущий автор работы Флавия Черечес отметила, что многие бабушки и дедушки регулярно присматривают за детьми, и оставался открытым вопрос, насколько это положительно сказывается на их собственном благополучии, особенно в плане когнитивных функций. Ученые поставили цель выяснить, способен ли регулярный уход за внуками замедлить снижение памяти и других умственных способ ...>>

Случайная новость из Архива

Подростки не слушают родителей 23.05.2022

Многие, очень многие родители сталкиваются с тем, что их ребенок, только вчера еще послушный, вдруг превращается в трудного подростка, которому явно неинтересно, что говорят папа с мамой, который делает все не так, как ему говорят, который ведет себя так, как будто вообще не слышит старших.

Сотрудники Стэнфордского университета выяснили, что все так и есть: подростки не слышат старших в прямом смысле слова. Правда, не то чтобы не слышат - просто родительский голос перестает быть главным среди голосов других людей.

Что значит перестает быть главным? В прошлых работах ученые исследовали как детский мозг воспринимает материнский голос. Оказалось, что голос матери включает в детском мозге целый ряд зон, начиная от сугубо слуховых и заканчивая теми, которые отвечают за самосознание и анализ лиц. Более того, материнский голос активирует все эти зоны сильнее, чем голос незнакомой женщины.

Эти эксперименты ставили с детьми от 7 до 12 лет; для новых экспериментов пригласили уже детей от 7 до 16 лет - и оказалось, что шестнадцатилетний мозг реагирует на голос матери иначе, чем мозг семи лет от роду. Зоны, отвечающие за внимание и за предчувствие награды, по мере взросления начинают сильнее реагировать на незнакомые голоса; соответствующие изменения начинаются где-то между тринадцатью и четырнадцатью годами. То есть нельзя сказать, что подросток вообще перестает слышать мать, просто при наличии альтернативы он с большим вниманием прислушается к другому голосу, не обязательно товарища-ровесника, но и просто постороннего взрослого.

Некоторым, может быть, сложно с этим смириться, но ни одни родители в мире не смогут инсталлировать в ребенка всю сумму знаний, которая понадобится в жизни - и к таким знаниям относится и умение жить в обществе. Человек будет сталкиваться с множеством других людей, с которыми нужно как-то договариваться, чьи слова нужно анализировать, чьи эмоции и мысли нужно как-то понимать, и чем скорее мозг научится этим процедурам, тем лучше. Чтобы научится, нужен учебный материал, вот потому семейный мир размыкается во внешнюю среду, и ухо начинает ловить в первую очередь то, что говорят другие, вместо давно привычных внутрисемейных разговоров.

Однако такое переключение на внешний мир должно зависеть от множества разных факторов, и один из главных факторов здесь, конечно же, отношения между ребенком и матерью. А на эти отношения, очевидно, влияют и другие родственники, и тут было бы интересно узнать, меняется ли как-то восприятие отцовского голоса или голоса братьев, сестер и пр.

Другие интересные новости:

▪ Эмбрионы в камне

▪ Бумага, сохраняющая энергию электричества

▪ Нобелевские лауреаты стареют

▪ Решение от TI для построения простой беспроводной сети до 100 узлов

▪ Мозг из крови

Лента новостей науки и техники, новинок электроники

 

Интересные материалы Бесплатной технической библиотеки:

▪ раздел сайта Дом, приусадебное хозяйство, хобби. Подборка статей

▪ статья Разведение костра. Виды костров. Основы безопасной жизнедеятельности

▪ статья Как дельфины могут играть с китами? Подробный ответ

▪ статья Генекен. Легенды, выращивание, способы применения

▪ статья Таймером управляет звук. Энциклопедия радиоэлектроники и электротехники

▪ статья Преобразователь полярности напряжения. Энциклопедия радиоэлектроники и электротехники

Оставьте свой комментарий к этой статье:

Имя:


E-mail (не обязательно):


Комментарий:




Комментарии к статье:

viktor
При кз он не отключит - сгорит проводка т.к. работает при мелкой нагрузке.

Леонид
Не понял в чём изюминка? тиристор действительно может включать и выключать массу. Но при установке диода она - масса, остаётся включенной. и для того чтобы это работало необходимо добавить реле, которое будет подключать в систему диод и подавать напряжение на управляющий электрод. Возможно я чего то не понимаю, кто более грамотный - поясните

Гость
Леонид! Диод пропускает ток в одном направлении, т.е. от генератора к аккумулятору.


Главная страница | Библиотека | Статьи | Карта сайта | Отзывы о сайте

www.diagram.com.ua

www.diagram.com.ua
2000-2026