Menu Home

Бесплатная техническая библиотека для любителей и профессионалов Бесплатная техническая библиотека


Многоэтажная ТВ-антенна. Энциклопедия радиоэлектроники и электротехники

Бесплатная техническая библиотека

Энциклопедия радиоэлектроники и электротехники / Антенны телевизионные

Комментарии к статье Комментарии к статье

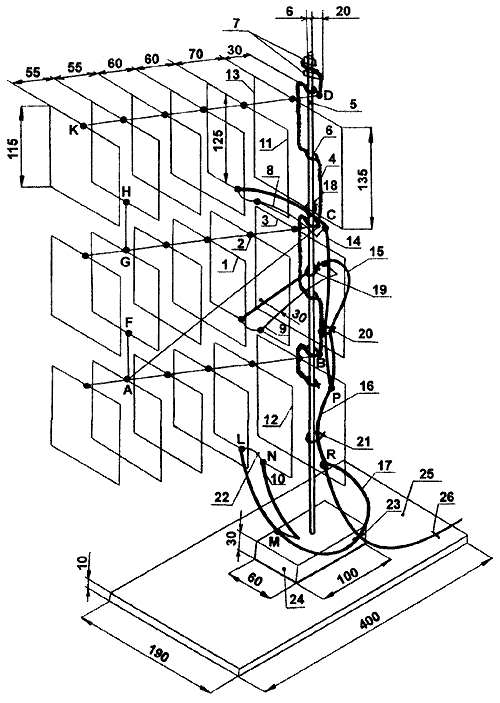
Чтобы сделать хорошую телевизионную антенну, нужно определить размеры ее элементов и выбрать конструкцию. С размерами просто - они выбираются по справочнику. Найти же описание подходящей конструкции довольно сложно, поскольку хочется чего-нибудь не очень трудоемкого. Наиболее простая конструкция антенны - из проволочных рамок, которые изгибаются из одного куска проволоки и спаиваются. Для повышения эффективности можно сделать ее в несколько этажей (рис.1).

Многоэтажная ТВ-антенна. ТВ-антенна из проволочных рамок
Рис.1. ТВ-антенна из проволочных рамок

Если дециметровая антенна состоит всего из трех четвертьволновых рамок и несущей стрелы из медной проволоки диаметром 2,5 мм, то она получается достаточно жесткой. Телевизионный кабель прямо отходит к телевизору и не гнет несущую стрелу. Но принимает такая антенна слабо, потому что комната, где проводились эксперименты, расположена на первом этаже и закрыта от источника сигнала многоэтажными зданиями. Через преграды проникает только слабый отраженный сигнал.

Пришлось увеличить количество рамок до шести, припаяв спереди еще 3 таких же, как первая. Седьмая рамка уже не увеличивала коэффициент усиления, а уменьшала. По всей видимости, размеры антенны стали выходить за зону пучности сигнала. Использование одинаковой проволоки и крепеж элементов пайкой упростили эксперименты. Ведь легко согнуть дополнительные рамки и заменить несущую стрелу, использовав более длинный кусок такой же проволоки.

При полученной окончательной длине антенны консольно закрепленная проволочная несущая стрела АВ легко гнулась вниз под весом рамок и кабеля. Пришлось припаять растяжку АС. При экспериментах рамки были смещены одна относительно другой снизу вверх. Прием неожиданно улучшился. Оптимальным также оказалось крепление несущей стрелы под углом к стойке (угол АВД ~60°). Плоскости рамок при этом остались вертикальными. Растяжка АС нужна независимо от величины этого угла.

Затем было изготовлено еще два таких же антенных полотна, и построена многоэтажная антенна. Однако увеличение коэффициента усиления наблюдалось только при малом расстоянии между ними (половина длины рамки). Похоже, что большее расстояние выводило антенну по вертикали за размеры зоны стоячей волны. Чтобы несущие стрелы KD и GC не гнулись, использованы подпорки AF и GH. Они с нулевым потенциалом, поэтому ток по ним не проходит, и они не мешают приему. Теперь все антенные полотна опираются на треугольник ABC. Чтобы не гнулась вертикальная несущая штанга 4, скрученная из таких же проволок, как и рамки, она выгнута меандром и надета на металлический штырь 5 петлями 6, образованными путем раздвигания отверткой проволок штанги 4. Несущие стрелы KD, GC, AB припаяны в уголках В, С, D штанги 4, где удобнее паять.

Антенна удерживается на штыре 5 с помощью двух гаек 7. Для них в верхней части штыря 5 нарезана резьба. Расстояние от штанги 4 и штыря 5 до рамок-рефлекторов не влияет на усиление сигнала. Прием не ухудшается и при отгибе согласующих ответвителей 8, 9,10 от рамок-вибраторов 11, 2, 12. Так, согласователь 10 согнут дугой, ответвитель 8 направлен в промежуток между рамками-рефлекторами 13, 3, а согласователь 9 расположен внутри рамки рефлектора 3 антенного полотна GC. Такие изгибы согласующих ответвителей от рамок-вибраторов 11, 2, 12 нужны, чтобы расположить отрезки соединительного кабеля 14, 15, 16, 17 поближе к штырю 5. Кабель прикручен кусками проволоки 18, 19, 20, 21 к штырю 5. Каждая рамка-вибратор (например, 12) и ее согласователь (10) согнуты из одного куска проволоки. Такое согласующее ответвление длиной четверть длины волны припаяно концом к оплетке кабеля в точке М. Конец отрезка кабеля 17 соединен оплеткой с точкой L. Жила кабеля 22 припаяна к точке N изгиба проволоки, где вибратор 12 переходит в согласователь 10.

Чтобы припаять толстую проволоку к оплетке кабеля в точке М, необходимо вначале снять в этом месте верхнюю изоляцию с кабеля в виде кольца. Затем сдвинуть верхнюю изоляцию совместно с оплеткой на участке LM в сторону точки М, где образуется выступающий с кабеля поясок оплетки. Тогда появляется место на оплетке кабеля, где есть возможность припаять проволоку к оплетке, если использовать переходник из более тонкой проволоки.

Штырь 5 на фанерной подставке 25 удерживает брусок 24. Скоба 23, закрепив кабель, фиксирует положение рамки 12 и ответвителя 10. Брусок 24 и фанера 25 скреплены между собой клеем и шурупами. Штырь 5 вставлен в отверстие в бруске 24. Размеры деталей 24 и 25 зависят от размеров антенны. Они обеспечивают устойчивость конструкции. Отходящий от антенны кабель прикреплен скобой 26 к подставке 25. Многочисленные крепления кабеля препятствуют вращению антенны на штанге 5.

Длины отрезков кабеля 14, 15, 16, 17 должны быть такими, чтобы ток от трех полотен антенн суммировался, а не вычитался. Они подбираются экспериментально. Для этого используются несколько кусков кабеля длиной 1/8, 1/4 и 1/2 длины волны. Из них составляются комбинации, так чтобы получить более контрастное изображение. Результирующая длина усредняется. Таким способом подбираются антенны на любой телевизионный канал. На рисунке указаны размеры для антенны на 37-й канал, частота которого 600 МГц, а длина волны 50 см. Рамки - со стороной четверти длины волны. Подпорки HG и AF имеют длину 6,5 см. Высота штыря 5 от подставки 25 - 64 см. Длина кабеля LM - 12, 5 см (аналогично для двух других согласователей), остальная часть отрезка кабеля - 17...22 см. Длина кабеля PR - 8 см. Отрезок кабеля 14 от точки пайки проволоки 8 до точки соединения кабелей Р - 21 см. Для жесткости соединения отрезков кабелей, в точке Р накладываются поверх изоляции текстолитовые полоски и приматываются изолентой. В точке R текстолитовая подкладка имеет Т-образную форму. Вся антенна, кроме штыря 5, спаяна из медной проволоки d2,5 мм паяльником мощностью 100 Вт.

Для других телевизионных каналов размеры антенны нужно изменить пропорционально изменению длины волны.

Автор: В.Солонин, г.Конотоп; Публикация: radioradar.net

Смотрите другие статьи раздела Антенны телевизионные.

Читайте и пишите полезные комментарии к этой статье.

<< Назад

Последние новости науки и техники, новинки электроники:

Питомцы как стимулятор разума 06.10.2025

Помимо эмоциональной поддержки, домашние питомцы могут оказывать заметное воздействие на когнитивные процессы, особенно у пожилых людей. Новое масштабное исследование показало, что общение с кошками и собаками не просто улучшает настроение - оно действительно способствует замедлению возрастного снижения умственных способностей. Работа проводилась в рамках проекта Survey of Health, Ageing and Retirement in Europe (SHARE), охватывающего период с 2004 по 2022 год. В исследовании приняли участие тысячи европейцев старше 50 лет. Анализ показал, что владельцы домашних животных демонстрируют более устойчивые когнитивные функции по сравнению с теми, кто не держит питомцев. Особенно выражен эффект оказался у владельцев кошек и собак. Согласно данным ученых, владельцы собак дольше сохраняют хорошую память, в то время как хозяева кошек медленнее теряют способность к быстрому речевому взаимодействию. Исследователи связывают это с тем, что ежедневное взаимодействие с животными требует внимани ...>>

Мини-ПК ExpertCenter PN54-S1 06.10.2025

Компания ASUSTeK Computer презентовала новый мини-компьютер ASUS ExpertCenter PN54-S1. Устройство ориентировано на пользователей, которым важно сочетание производительности, энергоэффективности и универсальности - от офисных задач до мультимедийных проектов. В основе ExpertCenter PN54-S1 лежит современная аппаратная платформа AMD Hawk Point, использующая архитектуру Zen 4. Это поколение чипов отличается улучшенным управлением энергопотреблением и повышенной вычислительной мощностью. Новинка доступна в конфигурациях с процессорами Ryzen 7260, Ryzen 5220 и Ryzen 5210, представленных AMD в начале 2025 года. Таким образом, устройство охватывает широкий диапазон задач - от базовых офисных до ресурсоемких вычислений. Корпус мини-ПК выполнен из прочного алюминия и имеет размеры 130&#215;130&#215;34 мм, что делает его практически незаметным на рабочем столе или за монитором. Несмотря на компактность, внутренняя компоновка позволяет установить два модуля оперативной памяти SO-DIMM ...>>

Глазные капли, возвращающие молодость зрению 05.10.2025

С возрастом человеческий глаз постепенно теряет способность четко видеть на близком расстоянии - развивается пресбиопия, или возрастная дальнозоркость. Этот естественный процесс связан с утратой эластичности хрусталика и ослаблением цилиарной мышцы, отвечающей за фокусировку. Миллионы людей по всему миру сталкиваются с необходимостью носить очки для чтения или прибегают к хирургическим методам коррекции. Однако исследователи из Центра передовых исследований пресбиопии в Буэнос-Айресе представили решение, которое может стать удобной и неинвазивной альтернативой - специальные глазные капли, способные улучшать зрение на длительный срок. Разработку возглавила Джованна Беноцци, директор Центра. По ее словам, цель исследования состояла в том, чтобы предоставить пациентам с пресбиопией эффективный и безопасный способ коррекции зрения без хирургического вмешательства. Новые капли, созданные на основе пилокарпина и диклофенака, показали убедительные результаты: уже через час после первого пр ...>>

Случайная новость из Архива

Сердца поющих хористов синхронизируются 24.07.2013

У певцов, поющих в хоре, синхронизируется сердцебиение, и в результате их пульс учащается и замедляется одновременно, говорится в исследовании ученых из Салгренской академии при Гетеборгском университете (Швеция). Теперь ученые точно определили, что значит "петь в унисон".

Цель исследования шведских ученых - изучить влияние музыки на наше тело и здоровье и найти новые формы использования музыки в медицинских целях, прежде всего в рамках реабилитации и профилактической помощи. В этой части исследования ученые уже доказали, что музыка влияет на частоту сердечных сокращений каждого хориста.

В эксперименте участвовали 15 учеников одной из школ Гетеборга. Им предлагалось выполнить три хоровых упражнения: монотонное гудение, исполнение известного рождественского гимна и распевание мантр. В каждом конкретном случае исследователи фиксировали сердечные ритмы всех участников хора. Результаты исследования показали, что музыка оказывает непосредственное влияние на сердцебиение каждого хориста, и при этом пульс всех певцов синхронизируется во время пения - он учащается и замедляется в одно и то же время.

По мнению ученых, поющие люди регулируют деятельность блуждающего нерва, который участвует в нашей эмоциональной жизни, влияет на общение с другими людьми, а также на тембр нашего голоса. Как оказалось, песни с длинными фразами обладают тем же эффектом, что и дыхательные упражнения при йоге. Исследователи предполагают, что посредством пения мы можем контролировать свое психическое состояние.

Воздействие хорового пения на здоровье пока только начали изучать, но уже заметен положительный эффект. По предположению ученых, польза хорового пения состоит в том, что оно успокаивает наше дыхание, нормализует сердечный ритм, а это в свою очередь положительно влияет на здоровье.

В случае контролируемого дыхания, частота пульса и сердечный ритм уменьшаются на выдохе, а затем увеличиваются на вдохе. Выдох активирует блуждающий нерв, который снижает частоту сердечных сокращений и замедляет пульс. Колебание частоты сердечных сокращений между вдохом и выдохом называют синусовой дыхательной аритмией. Это разновидность физиологической аритмии, которая лучше всего выражена у молодых здоровых людей, не подверженных стрессу. И, по мнению ученых, песня помогает контролировать дыхание: во время распевания фраз происходит выдох, а в паузах - вдох.

Хоровое пение помогает развить навык контролируемого дыхания. Кроме того, пульс и сердцебиение хористов синхронизируется во время исполнения

Теперь исследователи намерены разобраться, как синхронизация сердечного ритма во время хорового пения позволит создать благоприятную психологическую атмосферу для укрепления способностей к сотрудничеству и коммуникации людей.

Другие интересные новости:

▪ Хрящевая ткань в суставах не обновляется в течение жизни

▪ В Амстердаме построен большой подводный велопаркинг

▪ Технология Qi для беспроводной подзарядки аккумуляторов

▪ Лекарство против старости

▪ Геотермальная энергия вулканов для майнинга

Лента новостей науки и техники, новинок электроники

 

Интересные материалы Бесплатной технической библиотеки:

▪ раздел сайта Начинающему радиолюбителю. Подборка статей

▪ статья Урология. Конспект лекций

▪ статья Что означают звуки йо-хо-хо в пиратской песне из романа Остров сокровищ? Подробный ответ

▪ статья Роза коричная. Легенды, выращивание, способы применения

▪ статья Еще о снижении частоты вращения вентилятора. Энциклопедия радиоэлектроники и электротехники

▪ статья Простой импульсный стабилизатор, 5 вольт 400 миллиампер. Энциклопедия радиоэлектроники и электротехники

Оставьте свой комментарий к этой статье:

Имя:


E-mail (не обязательно):


Комментарий:





Главная страница | Библиотека | Статьи | Карта сайта | Отзывы о сайте

www.diagram.com.ua

www.diagram.com.ua
2000-2025