Бесплатная техническая библиотека
Моментальная антенна. Энциклопедия радиоэлектроники и электротехники

Энциклопедия радиоэлектроники и электротехники / Антенны телевизионные
Комментарии к статье
Бывает, что приехав на отдых с палаткой в лес или на берег реки, обнаруживаешь, что переносной телевизор плохо работает на штатную антенну из-за слабого сигнала. Тогда начинаются эксперименты с разными суррогатными антеннами. Найденный кусок провода размещают в разных местах, изгибают всякими петлями. Но это почти ничего не дает. А чтобы сделать более или менее приличную антенну, нужны инструменты, материалы и крепежные элементы. Но оказывается, антенну "Рамочный волновой канал" можно быстро изготовить из одного куска проволоки, без каких-либо креплений, просто ее скрутив. На рис.1 показана развертка антенны (скрутка проволоки), которую затем изгибают (вид сбоку показан на рис.2).
Рис.1. Развертка антенны
Рис.2. Вид сбоку
Для оптимального приема должен использоваться провод с минимальным сопротивлением, и все размеры антенны для конкретного канала нужно брать из справочника. Так как на месте отдыха, скорее всего, не найдется толстой медной проволоки и справочника радиолюбителя, придется ограничиться "среднепотолочными" размерами. Для антенны подойдет любая найденная проволока, даже железная, лишь бы она скручивалась, а изготовленная конструкция была достаточно жесткая и не гнулась под собственным весом и на ветру.
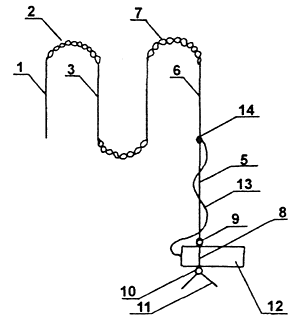
Например, антенна, состоящая из 4-х рамок с длиной стороны 10 см, будет работать вполне прилично, если ее изготовить из железной проволоки 00,6 мм и больше. Проволоку изгибают пополам, а место изгиба выполняют в виде квадрата 1 с длиной стороны, равной половине длины волны принимаемого сигнала. На середине стороны рамки 1, ближней к концам проволоки, выполняют скрутку 2 концов проволоки на длине, равной трети длины волны. Далее вновь выгибается такая же рамка 3, а затем такая же скрутка 4. После выполнения рамок и скруток по всей длине проволоки, концы проволоки выгибаются в виде прямоугольника 5 полуволновой длины, и шириной, равной четверти стороны квадрата 1. Это согласующий трансформатор, он расположен посередине стороны последнего квадрата 6 напротив скрутки 7. При этом должны оставаться еще концы проволоки для выполнения круглой петли 8 диаметром 8 мм (такой диаметр кольцевого контакта антенного гнезда телевизора), отделенной от трансформатора 5 короткой скруткой 9 примерно на 2 оборота. Петля 8 завершается еще одной такой же скруткой 10. Лишний провод нужно отломать, оставив концы 11 длиной примерно 2 см, используемые для крепления антенны на телевизоре.
Если расположить плоскости рамок друг против друга на расстоянии четверти длины волны, изогнув для этого скрутки 2, 4, 7 дугой (как показано на рис.2), то получиться антенна "Рамочный волновой канал".
Для подключения антенны к телевизору необходима трубка 12 диаметром 8 мм, скрученная из жести от консервной банки, зачищенной от эмали. Длина трубки такая, чтобы на ее конец можно было надеть изготовленную антенну контактной петлей 8. Концы 11 проволоки упираются в корпус телевизора. За счет этого и тугой посадки петли 8 на трубку 12, антенна крепится на телевизоре. Длина концов 11 должна быть достаточной, чтобы это крепление было достаточно надежным. В центральный контакт антенного гнезда телевизора вставляется зачищенный от изоляции конец провода 13, накрученного двумя витками на одном плече трансформатора 5. Другой конец провода 13, зачищенный от изоляции, прикручен к другому плечу трансформатора 5 в точке 14 его перехода в сторону рамки 6.
Если частота принимаемого сигнала, а следовательно, и длина волны неизвестны, то их можно приблизительно определить по расположению на телевизоре стрелки плавной подстройки частоты принимаемого сигнала. Дециметровый диапазон начинается с канала 21, в котором сигнал имеет частоту 470 МГц и длину волны 64 см, а заканчивается каналом 60 с частотой 790 МГц и длиной волны 38 см.
Запас по длине скруток 2, 4, 7, скрепляющих рамки друг с другом, необходим для подбора размеров рамок с целью улучшения приема сигнала. При необходимости можно раскрутить крайние участки скруток и за счет освободившейся проволоки увеличить размеры рамок. И, наоборот, увеличение длины скруток приводит к уменьшению размера рамок. Если антенное гнездо в телевизоре расположено вертикально или под углом, то можно соответствующим образом согнуть скрутку 9, а если этого окажется недостаточно - то и трансформатор 5.
Описанную конструкцию можно использовать как комнатную антенну, изготовив ее из толстой медной проволоки с соблюдением оптимальных размеров. Количество рамок - чем больше, тем лучше (в пределах 10 штук).
Автор: В.Солонин, г.Конотоп; Публикация: radioradar.net
Смотрите другие статьи раздела Антенны телевизионные.
Читайте и пишите полезные комментарии к этой статье.
<< Назад
Последние новости науки и техники, новинки электроники:
Рыжий ген и ускоренная эволюция
30.04.2026
Вопрос о том, как и насколько быстро меняется человеческий вид, давно занимает биологов и генетиков. Долгое время считалось, что эволюционные процессы происходят крайне медленно, однако новые данные заставляют пересматривать эти представления. Особенно интересные результаты связаны с изменением частоты редких генетических признаков, включая рыжий цвет волос.
Рыжеволосость сегодня остается редкой чертой: ее носители составляют менее 2 процентов мирового населения. Однако анализ древней и современной ДНК показывает, что ген, связанный с этим признаком, за последние примерно 10 тысяч лет стал заметно более распространенным, особенно среди популяций Европы. Более того, вместе с ним исследователи фиксируют и другие изменения в генетическом профиле человека, затрагивающие внешность и физиологические особенности.
Среди сопутствующих тенденций, выявленных в генетических данных, отмечается увеличение частоты светлой кожи, снижение вероятности мужского облысения, а также некоторые физиолог ...>>
Нейтринный лазер
30.04.2026
Нейтринный лазер - это гипотетическое устройство, способное управлять потоками одних из самых трудноуловимых частиц во Вселенной. Такая разработка открывает новые горизонты в изучении фундаментальных законов природы и может изменить представления о космосе.
Идею нового типа излучателя представили физики из Massachusetts Institute of Technology, предложив лазер, который вместо света генерирует поток нейтрино. Эти частицы, почти не взаимодействующие с материей, настолько слабо проявляют себя, что их часто называют "частицами-призраками". Тем не менее они пронизывают все вокруг: по оценкам, триллионы нейтрино ежесекундно проходят через человеческое тело, не оставляя следа.
Несмотря на их колоссальную распространенность во Вселенной, нейтрино остаются одними из наименее изученных частиц. Их крайне сложно регистрировать, а еще сложнее контролировать, поэтому традиционно их получают в крупных установках вроде ядерных реакторов или ускорителей частиц. Такие комплексы требуют огромных за ...>>
Мороженое не такое вредное, как принято считать
29.04.2026
В питании часто встречаются продукты, которые одновременно вызывают удовольствие и сомнения с точки зрения здоровья. К таким относится и мороженое: оно воспринимается как типичный десерт с высоким содержанием сахара и жиров, однако современные научные данные постепенно усложняют это привычное представление.
Долгое время считалось, что мороженое не может быть частью рационального питания, однако исследования последних лет показывают более неоднозначную картину. Ученые подчеркивают, что влияние этого продукта на организм зависит не только от его сладости или калорийности, но и от состава, качества ингредиентов и общего образа жизни человека.
Одни из наиболее масштабных данных были получены в рамках долгосрочных наблюдений в США, включавших проекты Nurses Health Study, Nurses Health Study II и Health Professionals Follow-Up Study. В этих исследованиях на протяжении 20-40 лет наблюдали примерно 190 тысяч взрослых участников, регулярно собирая данные об их питании, физической активнос ...>>
Случайная новость из Архива Синаптический транзистор, имитирующий человеческий мозг
29.12.2023
Международная группа ученых из ведущих университетов США добилась важного прогресса в интеграции компьютерной архитектуры с человеческим мозгом, создав инновационный синаптический транзистор. Это устройство предоставляет возможность преодолеть разрыв между биологическими и электронными системами.
Традиционные различия в обработке и хранении информации между мозгом и компьютерами представляли серьезный вызов для ученых. В отличие от обычных компьютеров, которые передают данные между процессором и памятью, человеческий мозг выполняет обе эти функции одновременно. Решением этой проблемы стало создание новой ячейки памяти, способной выполнять функции транзистора.
Ключевым моментом в этом исследовании стало разработанное устройство - синаптический транзистор, функционирующий при комнатной температуре и потребляющий минимальное количество энергии - всего 20 пиковатт (пВт). Ученые сфокусировались на использовании муаровых квантовых материалов, обычно требующих криогенных условий, и успешно продемонстрировали работу своего изобретения при комнатной температуре, открыв новые горизонты в области наноэлектроники.
Синаптический транзистор состоит из двух слоев материала атомной толщины - графена и нитрида бора, перекрывающихся с небольшим смещением в горизонтальной плоскости.
Основной секрет заключается в создании муарового узора путем поворота одного слоя под определенным углом, вызывающего уникальные взаимодействия, известные как "магические углы". Эти углы индуцируют кулоновское взаимодействие между материалами, что приводит к экзотическим электрическим явлениям, невидимым в обычных материалах.
Исследователи также создали нейронные схемы на основе этих синаптических транзисторов, успешно обучив их ассоциативному обучению. Экспериментальные схемы успешно распознали двоичные группы цифр, такие как 000 и 111, демонстрируя точность в 97,5 процента.
Муаровый синаптический транзистор предоставляет эффективные схемы для вычислений в памяти и обещает стать передовой технологией в области искусственного интеллекта и машинного обучения.
Создание синаптического транзистора является значительным прогрессом в интеграции биологических и электронных систем. Эта технология обещает революцию в области наноэлектроники, а также предоставляет новые возможности для развития искусственного интеллекта и машинного обучения.
|
Другие интересные новости:
▪ Робот, передающий эмоции во время чтения
▪ Беспилотный самолет-амфибия для доставки почты на остров
▪ Трехмерная сканирующая система
▪ Миниатюрный дрон DJI Spark
▪ Генная терапия восстанавливает зрение
Лента новостей науки и техники, новинок электроники
Интересные материалы Бесплатной технической библиотеки:
▪ раздел сайта Электробезопасность, пожаробезопасность. Подборка статей
▪ статья Кто может сравниться с Матильдой моей? Крылатое выражение
▪ статья Есть ли среди животного мира однодневки? Подробный ответ
▪ статья Лилия. Легенды, выращивание, способы применения
▪ статья Музыкальный квартирный звонок. Энциклопедия радиоэлектроники и электротехники
▪ статья Клетка в коробке. Секрет фокуса
[an error occurred while processing this directive]
Оставьте свой комментарий к этой статье:
Главная страница | Библиотека | Статьи | Карта сайта | Отзывы о сайте

www.diagram.com.ua
2000-2026