Бесплатная техническая библиотека
Антенное сторожевое устройство. Энциклопедия радиоэлектроники и электротехники

Энциклопедия радиоэлектроники и электротехники / Антенны телевизионные
Комментарии к статье
В последнее время стал популярным новый вид воровства - хищение дорогих индивидуальных антенн промышленного производства с антенными усилителями, устанавливаемых на крышах многоэтажных домов. Это происходит обычно в тот момент, когда просмотр передач не ведется, и об отсутствии антенны их владельцы узнают лишь включив телевизор.
Предлагаемое мной устройство охранной сигнализации подает звуковой сигнал тревоги при попытке отключения телевизионной антенны или обрыве питающего кабеля. Оно отличается надежностью, простотой конструкции, широким диапазоном питающих напряжений, малыми размерами, не требует дефицитных деталей и может быть собрано даже начинающим радиолюбителем.
Питается устройство от блока питания, входящего в комплект антенного усилителя, потребляя ток в режиме покоя не более 3 мА, а в режиме подачи сигнала тревоги - менее 1 мА. Это особенно важно, так как ток, потребляемый непосредственно антенным усилителем, составляет более 30 мА, а трансформатор, входящий в состав блока питания, работает в режиме предельных нагрузок.

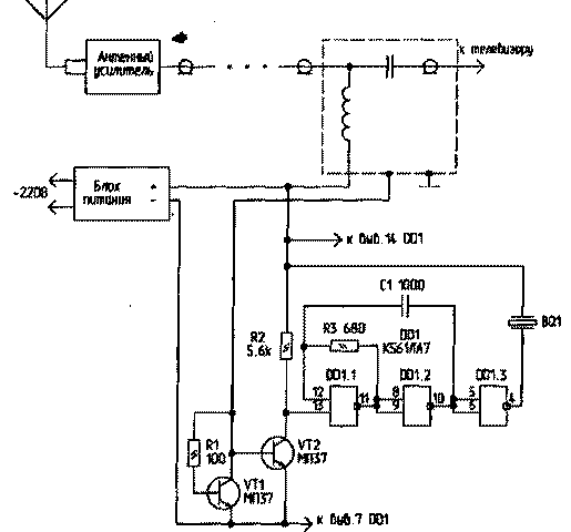
Схема устройства представлена на рисунке. Она состоит из ключа на транзисторах VT1 и VT2 и тонального генератора на микросхеме DD1. Устройство включено в разрыв минусовой цепи питания антенного усилителя и работает следующим образом. При включении блока питания в сеть транзистор VT1, благодаря резистору R1, открывается, и напряжение подается на антенный усилитель. Ток, протекающий через усилитель, создает падение напряжения, достаточное для открывания транзистора VT2. При этом напряжение на его коллекторе менее 1 В, что воспринимается входом элемента DD1.1 как логический "0", и генератор не работает.
При обрыве или отсоединении антенного кабеля питающее напряжение снимается с транзистора VT1. Транзистор VT2 закрывается. На его коллекторе появляется напряжение логической "1". При этом генератор включается и подает сигнал тревоги.
Тональный генератор выполнен по схеме мультивибратора на двух логических элементах - DD1.1 и DD1.2. Элемент DD1.3 является буферным. Генератор нагружен на пьезоэлектрический излучатель от электронных часов. Конструкция устройства позволяет использовать любые маломощные германиевые транзисторы структуры п-р-п, обладающие в открытом состоянии меньшим сопротивлением перехода коллектор-эмиттер и имеющие меньшее напряжение смещения. Допускается использование транзисторов структуры р-п-р, однако это потребует изменения полярности включения устройства в цепь питания антенного усилителя и применения дополнительного инвертора перед DD1.1.
Микросхему DD1 можно заменить аналогичной из серий К1561 или 564. Резисторы и конденсаторы - любого типа, желательно малогабаритные. Устройство смонтировано в корпусе блока питания антенного усилителя. При этом пьезоэлектрический излучатель выведен наружу и приклеен к боковой стенке корпуса через тонкую поролоновую прокладку.
Проверка работы устройства производится следующим образом.
Включите блок питания антенного усилителя в сеть. От антенного штекера, ведущего к телевизору, отсоедините центральную жилу кабеля (она прикручивается винтом). При этом должен прозвучать тональный сигнал тревоги. При необходимости частоту тона можно изменить подбором емкости С1.
Данное сторожевое устройство можно использовать для защиты от хищения спутниковых антенн и других изделий, питание которых производится по двухпроводной линии.
Автор: С.Рыбчинский, г.Валдай-5, Новгородской обл.; Публикация: Н. Большаков, rf.atnn.ru
Смотрите другие статьи раздела Антенны телевизионные.
Читайте и пишите полезные комментарии к этой статье.
<< Назад
Последние новости науки и техники, новинки электроники:
Впервые преоодолена передача ВИЧ от матери к ребенку
02.01.2026
Проблема вертикальной передачи ВИЧ - от матери к ребенку - остается одной из ключевых задач глобальной медицины. Недавний отчет Всемирной организации здравоохранения (ВОЗ) демонстрирует историческое достижение: Бразилия впервые в своей истории полностью преодолела этот путь передачи вируса. Страна стала 19-й в мире и первой с населением более 100 миллионов человек, которая достигла такого результата.
Достижения Бразилии основаны на комплексных медицинских программах, обеспечивающих своевременный доступ к диагностике и терапии для всех слоев населения. ВОЗ официально подтвердило, что уровень передачи ВИЧ от матери к ребенку снизился до менее двух процентов. Более 95% беременных женщин в стране получают регулярный скрининг на ВИЧ и необходимое лечение в рамках стандартного ведения беременности.
Изначально программа тестировалась в крупных муниципалитетах и штатах с населением более 100 тысяч человек, а затем была масштабирована на всю страну. Такой подход позволил унифицировать ста ...>>
Нанослой германия увеличивает эффективность солнечных батарей на треть
02.01.2026
Разработка высокоэффективных солнечных батарей остается одной из ключевых задач современной энергетики. Недавнее исследование южнокорейских ученых позволило повысить производительность тонкопленочных солнечных элементов почти на 30%, что открывает новые перспективы для возобновляемых источников энергии, гибкой электроники и сенсорных устройств.
Команда исследователей сосредоточилась на элементах на основе моносульфида олова (SnS) - нетоксичного и доступного материала, который идеально подходит для гибких солнечных панелей. До настоящего времени эффективность SnS-устройств оставалась низкой из-за проблем на границе контакта с металлическим электродом. В этой области возникали структурные дефекты, диффузия элементов и электрические потери, что существенно ограничивало возможности таких батарей. "Этот интерфейс был главным барьером для достижения высокой производительности", - отмечает профессор Джейонг Хо из Национального университета Чоннам.
Для решения этих проблем ученые предлож ...>>
Электростатическое решение для борьбы с льдом и инеем
01.01.2026
Борьба с льдом и инеем на транспортных средствах и критически важных поверхностях зимой остается сложной и затратной задачей. Ученые из Virginia Tech разработали инновационную технологию, способную разрушать лед и иней без использования тепла или химических реагентов, что открывает новые возможности для безопасной и экологичной зимней эксплуатации транспорта.
Исследователи обнаружили, что лед и иней образуют кристаллическую решетку с так называемыми ионными дефектами - заряженными участками, способными перемещаться под воздействием электрического поля. Эти дефекты являются ключом к управлению прочностью льда и его удалением с поверхностей.
Когда на замерзшую поверхность подается положительный электрический заряд, отрицательные ионные дефекты притягиваются к источнику поля. Это вызывает разрушение кристаллической решетки льда, в результате чего часть льда буквально "отскакивает" от поверхности. Такой эффект позволяет удалять лед без применения внешнего тепла или химических средств ...>>
Случайная новость из Архива Спасение яблок от солнечных ожогов
10.08.2021
Исследователи из Университета штата Вашингтон тестируют высокотехнологичный подход к предотвращению ожогов яблок на фоне глобального потепления климата.
Летнее солнце помогает яблокам созревать и приобретает их классический красный цвет, но жара часто становится причиной ожога плодов. В то время как листья яблони способны впитывать солнечный свет, фрукты также не рассеивают тепло. Солнечный ожог происходит всего за 10 минут, вызывая нарушения, ухудшающие качество и внешний вид фруктов - например, уродливые коричневые пятна.
Большинство производителей яблок в США используют дождевальные машины для охлаждения кроны фруктовых садов в жаркие дни. Но деревья впитывают эту лишнюю воду и используют ее для роста побегов и листьев в ущерб плодам.
В рамках проекта, совместно финансируемого Национальным институтом продовольствия и сельского хозяйства США при Министерстве сельского хозяйства США и Национальным научным фондом, команда Хота разрабатывает сенсорную систему для садоводства. Технология должна определять температуру поверхности плодов и точно настраивать подачу холодной воды для испарительного охлаждения.
Используя инфракрасные камеры и миниатюрные метеостанции, прототип активирует верхние дождеватели именно тогда, когда они необходимы, сводя к минимуму негативные последствия охлаждения распылением. В качестве дополнительного преимущества ученые также разработали приложение для смартфона - оно задействует данные ближайшей метеостанции, а также недорогую тепловизионную / RGB камеру для измерения температуры фруктов и опасности теплового стресса.
Системы Khot могут отправлять производителям данные в режиме реального времени, чтобы помочь им принимать решения об управлении тепловым стрессом, и в будущем - о хранении и сбыте своих фруктов, так как обгоревшие на солнце яблоки быстро портятся при хранении.
|
Другие интересные новости:
▪ Развить в себе эхолокацию может каждый
▪ Чем можно заразиться, поев суши
▪ Телескоп для рентгена Вселенной
▪ Пластиковый транзистор усиливает биохимический сигнал
▪ Оптимальна форма бокала для сохранения пива холодным
Лента новостей науки и техники, новинок электроники
Интересные материалы Бесплатной технической библиотеки:
▪ раздел сайта Освещение. Подборка статей
▪ статья Скотинин. Крылатое выражение
▪ статья Как появились пневматические шины? Подробный ответ
▪ статья Стивидорный узел. Советы туристу
▪ статья Антенноскоп - высокочастотный измерительный мост. Энциклопедия радиоэлектроники и электротехники
▪ статья Охранная сигнализация дворовых подсобных помещений. Энциклопедия радиоэлектроники и электротехники
Оставьте свой комментарий к этой статье:
Главная страница | Библиотека | Статьи | Карта сайта | Отзывы о сайте

www.diagram.com.ua
2000-2025