Бесплатная техническая библиотека
Поворотное устройство антенны. Энциклопедия радиоэлектроники и электротехники

Энциклопедия радиоэлектроники и электротехники / Антенны. Технология
Комментарии к статье
Вращающиеся антенны находят все большее применение среди радиолюбителей, занимающихся телевидением и работой на коротких или ультракоротких волнах. Многих применение таких антенн отпугивает из-за их сложности. Ниже описывается сравнительно простой поворотный узел, действующий по принципу волчка.
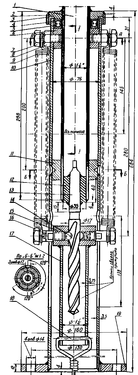
Телевизионная антенна с поворотным узлом изображена на 3 на рис. 1. Труба 2 соединяется непосредственно с верхней частью мачты неподвижно при помощи фланца 1. В трубу 2 вставляется поворотный отрезок трубы 6, в верхней части которого находятся элементы антенны, а нижняя, показанная на чертеже, вращается в кольцах 7 и 9, которые работают как радиальноскользящие подшипники.
Рис. 1. Верхняя часть антенны с поворотным узлом "волчок"
Для принятия нагрузки от антенны служит упорный подшипник, он зажат крышкой 8. В торец трубы 6 неподвижно вставляется обыкновенное спиральное сверло, в пазы сверла-два шарика от шарикоподшипника, которые помещены в бобышку 4. Бобышка 4 передвигается вверх и вниз по сверлу, причем от радиального смещения она ограничивается двумя симметричными пазами (пазы на чертеже не заштрихованы).
Когда мы производим натяжение канатика вниз, бобышка 4, преодолевая натяжения пружин, по пазу трубы 2 двигается вниз до упора болтами 5 в конец паза трубы. Между двумя шариками образуется усилие на плечо поворота, благодаря которому поворачивается сверло, вместе с ним поворачивается и участок трубы с антенной.
Когда натяжной канатик опускается, пружины, сжимаясь, производят возвратный поворот. Торможение, вернее фиксирование поворотной части, осуществляется при помощи тормозного рычага, который острым концом впивается в трубу 6 при натяжении канатика, при ослаблении его пружина отводит тормозной рычаг. При изготовлении такого поворотного узла необходимо, чтобы телевизионная антенна с вибратором была отцентрована и, насколько возможно, посажена ближе к верхней его части (крышка 8). Это делается для того, чтобы уменьшить перекос на плече между двумя кольцами 7 и 9. Внутреннюю часть узла следует смазать техническим вазелином.
Таблица 1
| NN |
Наименование деталей |
Количество |
Материал |
Вес 1 штуки (кг) |
| 1 |
Труба. O 1/4", l=475 |
1 |
СТ-3 |
1.5 |
| 2 |
Крышка 82х12 |
1 |
СТ-3 |
0,308 |
| 3 |
Кольцо O 89Х15 |
1 |
СТ-3 |
0.4 |
| 4 |
Кольцо O 68/66Х12 |
1 |
СТ-3 |
0,03 |
| 5 |
Упорный шарикоподшипник к № 8109 |
1 |
сп. CT |
0,15 |
| 6 |
Упорное кольцо O 68Х30 |
1 |
СТ-3 |
0,5 |
| 7 |
Болт М12Х30 |
2 |
СТ-3 |
0,04 |
| 8 |
Гайка М12 |
2 |
СТ-3 |
0,024 |
| 9 |
Пружина O 20 |
2 |
СТ-65Г |
0.19 |
| 10 |
Труба O 76Х3,5; l=670 |
1 |
СТ-3 |
4,15 |
| 11 |
Кольцо O 68х30 |
1 |
СТ-3 |
0,53 |
| 12 |
Вставка O 35х40 |
1 |
СТ-3 |
0,238 |
| 13 |
Спиральное сверло O 17 мм |
1 |
сп. CT |
0.4 |
| 14 |
Шарик O 10 |
2 |
сп. CT |
0,004 |
| 15 |
Бобышка O 68Х30 |
1 |
СТ-3 |
0,15 |
| 16 |
Болт спец. М12Х40 |
2 |
СТ-3 |
0,075 |
| 17 |
Труба O 11/4", l=150 |
1 |
СТ-3 |
0,47 |
| 18 |
Проволока O 4, l=15000 |
1 |
СТ-0 |
1,4 |
| 19 |
Фланец O 160/77х12 |
1 |
СТ-3 |
1,4 |
| 20 |
Болт М12Х26 |
1 |
СТ-0 |
0.037 |
| 21 |
Шайба 8 |
1 |
СТ-0 |
0,0023 |
| 22 |
Шплинт O 2х20 |
1 |
СТ-0 |
0,005 |
| 23 |
Уголок 25х25х4, l=30 |
2 |
СТ-3 |
0,04 |
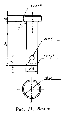
| 24 |
Валик O 8Х28 |
1 |
СТ-3 |
0,008 |
| 25 |
Проволока O 3, l=15000 |
1 |
СТ-0 |
0,83 |
| 26 |
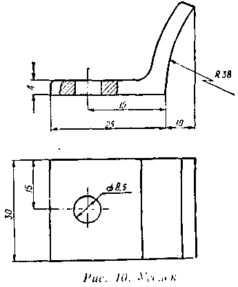
Рычаг l=80 |
1 |
СТ-5 |
0,1 |
| 27 |
Пружина O 20 |
1 |
СТ-65Г |
0.19 |
| 28 |
Ухо 25Х20Х4 |
1 |
СТ-3 |
0,015 |
Авторы: Е. Мандро, Н. Закревский, г. Смела, Черкасской области; Публикация: Н. Большаков, rf.atnn.ru
Смотрите другие статьи раздела Антенны. Технология.
Читайте и пишите полезные комментарии к этой статье.
<< Назад
Последние новости науки и техники, новинки электроники:
Власть является ключевым фактором счастья в отношениях
11.03.2026
Исследования семейных и романтических отношений показывают, что длительное счастье пары зависит не только от привычных факторов, таких как доверие, уважение и преданность, но и от более тонких психологических аспектов. Современные ученые ищут закономерности, которые отличают действительно счастливые пары от остальных, чтобы понять, какие механизмы поддерживают гармонию в отношениях.
Группа исследователей из Университета Мартина Лютера в Галле-Виттенберге и Бамбергского университета провела опрос среди 181 пары, которые состояли в совместных отношениях более восьми лет и прожили вместе хотя бы месяц. Участники заполняли анкету, описывая различные аспекты своих отношений, включая распределение обязанностей, эмоциональную поддержку и степень вовлеченности в совместные решения.
Анализ данных показал интересный паттерн: пары, где оба партнера ощущали высокий уровень личной власти, оказывались наиболее счастливыми и удовлетворенными. В данном контексте под властью понимается способност ...>>
Защищенная колонка-повербанк Anker Soundcore Boom Go 3i
11.03.2026
Компания Anker представила новую модель линейки Soundcore - колонку Soundcore Boom Go 3i, ориентированную на активное использование на улице.
Новинка отличается высокой степенью защиты: корпус соответствует стандарту IP68, что обеспечивает водо- и пыленепроницаемость, а ударопрочный дизайн выдерживает падение с высоты до одного метра. За качество звука отвечает 15-ваттный драйвер, обеспечивающий пик громкости до 92 дБ, а технология BassUp 2.0 усиливает низкие частоты, делая звучание более насыщенным.
Колонка обладает автономностью до 24 часов, а LED-индикатор позволяет контролировать уровень заряда батареи. Кроме того, Soundcore Boom Go 3i может выполнять функцию павербанка: согласно внутренним тестам, устройство способно зарядить iPhone 17 с нуля до 40% за один час, что делает его полезным аксессуаром в походах и поездках.
Среди функциональных особенностей модели стоит выделить технологию Auracast, которая улучшает подключение и позволяет создавать стереопару из двух колонок ...>>
Раннее воздержание от алкоголя перестраивает мозг и иммунитет
10.03.2026
Алкогольная зависимость - хроническое расстройство с компульсивным употреблением спиртного, которое влияет не только на поведение, но и на функционирование мозга и иммунной системы. Недавние исследования показали, что даже на ранних этапах воздержания организм начинает перестраиваться, открывая новые возможности для терапии зависимости.
Ученые сосредоточились на пациентах, находящихся в первые недели абстиненции, и зафиксировали значительные изменения в мозговой активности. С помощью функциональной магнитно-резонансной томографии они выявили перестройку сетей нейронных связей, отвечающих за контроль импульсов и принятие решений. Эти изменения могут быть ключевыми для восстановления самоконтроля и снижения риска рецидива.
Одновременно с нейронной перестройкой исследователи наблюдали колебания иммунной системы. В крови повышался уровень цитокинов - сигнальных белков, регулирующих воспалительные процессы. Эти данные свидетельствуют о существовании нейроиммунного взаимодействия, при ...>>
Случайная новость из Архива Рыбы эволюционируют от рыболовов
11.08.2019
Рыболовы любят рыбу покрупнее - это касается и тех, кто стоит с удочками на какой-нибудь небольшой речке, и тех, кто ходит с сетями на рыболовецких судах. Рыба же, как и любые живые организмы, старается приспособиться к тому, что ее ловят - и в результате в популяциях становится все больше рыбьей мелочи. Или, иными словами, все больше появляется особей, которые растут медленно, но созревают при этом быстро - такие успешно ускользают из рыболовецких сетей, чтобы оставить потомство.
Ученым удалось показать, что у таких изменений есть генетическая основа. Исследователи из Корнельского университета и других научных центров США поставили эксперимент с атлантической менидией - небольшой рыбкой не более 15 см в длину. Шесть популяций менидии жили в лабораторных аквариумах, из которых периодически вылавливали часть жильцов: из двух популяций выбирали самых крупных, из двух других - самых мелких, наконец, в последних двух никаких предпочтений не было - из них вылавливали случайным образом разнокалиберных особей.
Разница в размерах между рыбами из разных популяций проявилась спустя всего четыре поколения, причем в некоторых случаях рыбы отличались друг от друга в два раза. Исследователи проанализировали ДНК почти у 900 рыб, и нашли соответствующие изменения в генах, от которых зависела скорость роста: у мелких рыб чаще появлялись те генетические варианты, которые заставляли особь расти медленнее.
В рыбьей ДНК часто попадались большие группы генов, которые менялись согласованно: у нескольких сотен генов были варианты, у которых одновременно повышалась частота, то есть их можно было чаще встретить всех вместе у мелких особей нового поколения. С другой стороны, подобные кластеры генов встречались не у всех измельчавших рыб, то есть в популяции имели место разные генетические стратегии, позволявшие приспособиться к отлову.
|
Другие интересные новости:
▪ 4K-проектор JVC DLA-Z1
▪ Мобильный аккумулятор с беспроводной зарядкой HyperCharger X
▪ Автономный боевой робот
▪ Ботинки Железного человека
▪ Рисунок вен на руках для банковских сканеров
Лента новостей науки и техники, новинок электроники
Интересные материалы Бесплатной технической библиотеки:
▪ раздел сайта Заземление и зануление. Подборка статей
▪ статья Неизвестный солдат. Крылатое выражение
▪ статья Имеет ли техно что-либо общее с рок-музыкой? Подробный ответ
▪ статья Рабочий по дому. Должностная инструкция
▪ статья Золотисто-красная протрава для латунных вещей. Простые рецепты и советы
▪ статья Матрешка исчезает под платком. Секрет фокуса
Оставьте свой комментарий к этой статье:
Главная страница | Библиотека | Статьи | Карта сайта | Отзывы о сайте

www.diagram.com.ua
2000-2026