Menu Home

Бесплатная техническая библиотека для любителей и профессионалов Бесплатная техническая библиотека


Термоэлектрогенераторы. Энциклопедия радиоэлектроники и электротехники

Бесплатная техническая библиотека

Энциклопедия радиоэлектроники и электротехники / Альтернативные источники энергии

Комментарии к статье Комментарии к статье

Термоэлектрический генератор - устройство для непосредственного преобразования тепловой энергии в электрическую. Термоэлектрических генераторов изготовляют на основе термоэлементов. Наиболее эффективны термогенераторы с использованием сложных полупроводниковых соединений; их мощность может достигать нескольких десятков ВТ, кпд - 20% (при перепаде температур горячих и холодных спаев термоэлементов - около 1000 К). Т.г. особенно эффективны при использовании тепла, выделяющегося при работе ракетных двигателей, ядерных реакторов, доменных печей и др.

Термоэлектрогенератор предназначен для питания различной радиоаппаратуры, средств связи, освещения и подзарядки аккумуляторов. Преобразует тепло бытовых источников (керогаза, примуса, газовой горелки, печки, костра) в электрическую энергию.

1. Термоэлектрогенераторы на твердом топливе

ТЭГ, работающий на древесном угле и охлаждаемый водой или воздухом. Конструктивная схема показана на рис. 7.3. Их основные характеристики указаны в табл. 7.1.

Термоэлектрогенераторы
Рис.7.3. Конструктивная схема термоэлектрогенератора на твердом топливе

Таблица 7.1. Характеристики ТЭГ на древесном угле

Термоэлектрогенераторы

ТЭГ с нагревом горячих спаев за счет сжигания древесного угля и охлаждением холодных спаев кипящей водой (см. рис. 7.4, 7.5) имеет чугунную топку 6, в которой происходит горение угля, загружаемого в бункер 4 через горловину 1. Продукты сгорания уходят через трубу 2. В пространстве между внутренним кожухом 3 и наружным кожухом 5 находится кипящая вода, которая поддерживает температуру холодных спаев ТЭЭЛ около 100°C. Термоэлементы 8 электрически изолированы от конструкции установки тонкими слоями слюды. Тепловой контакт между кожухом 3 и ТЭЭЛ осуществляется легкоплавким сплавом, залитым между ними.

Термоэлектрогенераторы
Рис.7.4. ТЭГ с водяным охлаждением: 1 - горловина бункера; 2 - дымовая труба; 3 - внутренний кожух; 4 - бункер для топлива; 5 - наружный кожух: 6 - топка; 7 - чугунный корпус топки; в - ТЭЭЛ; 9 - вывод тока; 10 - зольник; 11 - чугунный коллектор охлаждения; 12 - кольцевая полость для воды

В ТЭГ имеются две независимо работающие батареи ТЭЭЛ: одна для питания цепей накала, другая - для питания (с помощью вибропреобразователя) анодных и сеточных цепей. Недостатки такого ТЭЭЛ: сложность осуществления теплового контакта между ТЭЭЛ и холодильником, наличие кипящей воды и трудность управления угольной топкой.

Термоэлектрогенераторы
Рис.7.5. ТЭГ с воздушным охлаждением: 1 - заслонка в дымовой трубе; 2 - люк для засыпки топлива; 3 - наружный кожух бункера; 4  - внутренний кожух бункера; 5 - стержень для рыхления топлива; 6 - ребро воздушного охлаждения; 7 - уплотнение между бункером и топкой; 8 - коллектор охлаждения ТЭЭЛ; 9 - ТЭЭЛ; 10 - холодный контактный слой; 11 - вывод тока: 12 - низ топки (зольник)

ТЭГ на дровах и угле

Дальнейшее развитие ТЭГ на твердом топливе привело к созданию еще нескольких моделей более крупных ТЭГ мощностью до 500 Вт и более. Эти агрегаты представляли собой печи, использующие уголь или дрова, с термобатареями, вмонтированными в стенки.

В качестве примера приведем генераторы, разработанные для Дальнего Севера на 200 и 500 Вт, работающие на любом топливе - дровах, угле, нефти. Генератор мощностью 200 Вт потреблял около 2 кг дров за 1 ч.

Он предназначался для получения электроэнергии, горячей воды или пара, используемых в животноводстве. Однако работа ТЭГ на угле неустойчива из-за трудностей обеспечения равномерной подачи топлива. Очередной пуск ТЭГ требовал предварительной чистки топки, выход на мощность занимал много времени и т.п. Поэтому дальнейшее развитие ТЭГ пошло по пути использования жидкого топлива.

Промежуточные ТЭГ на твердом и жидком, топливе

Преимущества жидкого топлива вызвали появление промежуточных конструкций, пригодных для работы, как на жидком, так и на твердом топливе. К таким конструкциям относится показанная на рис. 7.6 схема установки ТЭГ по американскому патенту.

Термоэлектрогенераторы
Рис.7. 6. Схема ТЭГ по американскому патенту: 1 - холодные концы ТЭЭЛ; 2 - горячие концы ТЭЭЛ; 3 - изоляционные диски из фибергласа; 4 - спиртовая лампа; 5 - стойка треножника; 6 - корпус из бакелита

Здесь 145 термоэлектрических элементов из проволоки диаметром 0,5 мм заделаны холодными концами в дно бакелитового стакана диаметром 5 см, поддерживаемого треножником. Горячие концы элементов нагреваются пламенем обычной спиртовой горелки. Одна ветвь ТЭЭЛ из константана, другая - из сплава никеля (91%) с молибденом (9%). Выходное напряжение генератора 6 В.

Эта схема очень напоминает схему ТЭГ-1, но в другом конструктивном исполнении: с металлическими ТЭЭЛ и заменой костра спиртовой горелкой.

2. Термоэлектрогенераторы на жидком топливе

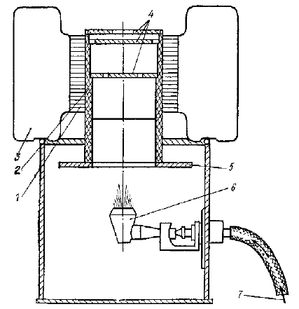
ТЭГ на керосине типа ТГК-1, ТГК-3 и ТГК-2-2-ТЭГ на керосине основаны на применении в качестве источника тепла обычных осветительных керосиновых ламп и наряду с получением электроэнергии являются источниками света. Конструктивные схемы ТГК-1, ТГК-3 и ТГК-2-2 одинаковы: раскаленные продукты сгорания керосина нагревают горячие спаи ТЭЭЛ из SbZn и константана, холодные спаи имеют ребра воздушного охлаждения. Мощность ТГК-1 около 1,6 Вт, ТГК-3 около 3 Вт. Основные характеристики ТГК-3 указаны в табл. 7.2.

Таблица 7.2

Термоэлектрогенераторы

Термоэлектрогенераторы
Рис.7.7. Тепловая труба- ТЭГ ТГК-3.1 - рассеиватель горячих газов, 2 - труба для вывода продуктов сгорания; 3 - ребра охлаждения; 4 - клеммовая колодка; 5 - цепи; 6 - труба с ребрами для нагрева ТЭЭЛ;7 - ламповое стекло; 8 - резервуар для керосина; 9 - нижний держатель лампы

На рис. 7.7 показан генератор ТГК-3, который по своей основной конструктивной схеме мало отличается от ТГК-1, но имеет большую мощность. В этом ТЭГ применена 20-линейная кругло-фитильная керосиновая лампа 8 и 7, а металлическая тепловая труба. 2 и 6, показанная на рис. 7.7, имеет 14 граней для ТЭЭЛ. Каждый блок ТЭЭЛ охлаждается одним самостоятельным двойным ребром 3, как и в ТГК-1. Высота ТГК-3 от нижнего среза лампы 8 до кольца 1 около 1 м, диаметр радиатора 300 мм. Однократной заправки лампы хватает примерно на 10 ч работы.

Генерируемой ТГК-3 энергии вполне достаточно для питания различных радиоприемников и других устройств, потребляющих напряжение 1 - 2 В при токе 0,3 - 0,5 А и напряжение 90 - 120 В при токе 8 - 11 мА.

3. ТЭГ на газообразном топливе

Использование газа упрощает регулирование подводимого тепла (легко осуществляется регулированием давления газа в горелке), обеспечивает хорошее сгорание топлива при различных температурах и не сопровождается накоплением шлаков. Все это создает условия для длительной и устойчивой работы ТЭГ. В частности, пятидесятые годы характеризуются строительством трубопроводов для доставки природного газа и нефти на большие расстояния к центрам потребления. С этим связано и начало у нас широкого использования ТЭГ на газообразном топливе для катодной защиты газопроводов и других трубопроводов от коррозии (в районах, не имеющих электростанций), для обеспечения сохранности трубопроводов при минимальных затратах, а также для других целей.

Газопроводы, находящиеся в поле блуждающих токов или в агрессивных грунтах, быстро выходят из строя в результате появления раковин, свищей и других повреждений в тех местах, где нарушена изоляция трубопроводов.

Станция катодной защиты трубопроводов представляет собою источник постоянного тока мощностью до 0,5 - 1 кВт при 10 - 20 В, отрицательный полюс которого присоединен с помощью изолированного кабеля к газопроводу, а положительный заземлен.

Для катодной защиты в России создано несколько типов ТЭГ мощностью от 10 до 300 Вт, в том числе ТГГ-10 и ТГГ-16. Они имеют по одной батарее ТЭЭЛ и работают на газовом топливе. Батареи состоят из отдельных секций. Горячий спай прижат к силуминовому теплопередатчику, холодный - к охлаждающим алюминиевым ребрам. Батарея представляет собою цилиндр, в нижней части которого помещена газовая горелка (ПБ-40-4), к которой газ поступает под избыточным давлением около 0,015 атм. В установке ТЭГ имеется электромагнитный клапан, способный отсекать подачу топлива. Обычно газ подается к ТЭГ от газопроводов, подведенных к домам ремонтников-обходчиков.

Генератор ТГГ-10 в основном не отличается по принципу действия от генераторов общего назначения, в нем лишь вместо керосиновой лампы используется газовая горелка. В ТЭГ ТГГ-16 применен усовершенствованный способ отвода тепла от горячих газов с помощью перфорированных дисков. Схема этого ТЭГ показана на рис. 7.8.

Указанные генераторы разогреваются до рабочей температуры менее чем за 30 мин. Расход газа (7000 - 8000 ккал/м) составляет 0,1 - 0,2 м3/ч. Низкий тепловой к.п.д. в этих установках несуществен, так как расход газа ничтожен, главное - надежность и простота, низкие эксплуатационные расходы.

Термоэлектрогенераторы
Рис.7.8. Схема ТЭГ типа ТГТ-16: 1 - термобатарея; 2 - теплопередатчик; 3 - охлаждающее ребро; 4 - диски теплопередатчика; 5 - асбестовый фланец; 6 - газовая горелка; 7 - газопровод

3. Термоэлектрогенераторы на солнечной энергии

Солнечный ТЭГ для космических целей. ТЭГ, схема которого представлена на рис. 7.9 основан на использовании ТЭЭЛ малых размеров объемом около 2,5 мм3, размещенных между двумя параллельными пластинами (например, металлической фольги) в количестве около 3000 шт. на 1 м2; ТЭЭЛ изолированы от пластин и соединены последовательно-параллельно. В космическом пространстве одна пластина, обращенная к Солнцу, нагревается до 300°C, другая (холодные спаи) - при этом имеет температуру около 70°C. Каждый ТЭЭЛ в этой конструкции может производить мощность около 10 МВт с к. п. д. около 2%. 1 м2 термоэлектрической панели модели весит 10 кГ и может выдавать приблизительно 30 - 40 Вт/м электроэнергии. Изготовлен такой солнечный генератор для космического корабля в виде кассеты поверхностью 30 см с 12 рядами ТЭЭЛ, по 12 ТЭЭЛ в каждом ряду. Он характеризовался выдачей 2 Вт электроэнергии при нагревании Солнцем в космическом пространстве.

Солнечные ТЭГ с плоскими поверхностями нагрева не позволяют получить хороший к. п. д. ТЭЭЛ (особенно в земных условиях) из-за малых перепадов температуры между горячими и холодными спаями. Лучшие результаты можно получить, используя концентраторы солнечной энергии, хотя это усложняет конструкцию.

Термоэлектрогенераторы
Рис.7.9. Панель ТЭГ на солнечной энергии: 1 - холодная панель; 2 - ТЭЭЛ; 3 - горячая панель; 4 и 5 - выводы тока

4. Термоэлектрогенераторы с концентраторами солнечной энергии

Как уже отмечалось, к. п. д. ТЭЭЛ растет пропорционально разности температур горячего и холодного спаев а, кроме того, и абсолютной температуре горячего спая. Поэтому заметное повышение тепловой экономичности ТЭГ достигается применением концентраторов солнечной энергии, дающих возможность увеличения температуры горячего спая ТЭЭЛ до 1000°C.

Термоэлектрический гелиогенератор с концентратором представляет собою термобатарею, установленную в фокальной зоне сфероидального или цилиндрического зеркала рис 7.10. Солнечные лучи, собранные зеркалом, направляются на поверхность горячих спаев и нагревают их. Холодные спаи охлаждаются воздухом, водяными радиаторами или через лучеиспускание.

Разработаны различные модели солнечных ТЭГ с концентраторами тепла, в том числе с большими и малыми концентраторами, и с аккумуляторами тепла. Серьезный недостаток солнечных ТЭГ с концентраторами энергии - большая стоимость самих концентраторов.

Термоэлектрогенераторы

1 - параболический рефлектор; 2 - приемник солнечного тепла; 3 - ТЭЭЛ; 4 - теплоотвод

Термоэлектрогенераторы с некоторыми другими источниками тепла

Возможность использования других источников тепла, как с большим, так и с малым перепадом температуры для получения электроэнергии с помощью ТЭЭЛ (геотермальные воды, тепло человеческого тела, отработанные газы ракетных установок и т. п.) нашла свою реализацию в ряде своеобразных конструкций ТЭГ. Для них наиболее подходящие термоэлектрические материалы с высокой добротностью при низких температурах. К таким материалам можно отнести теллурид свинца с добавкой 0,1% натрия, добротность которого равна 0,8-10-3 (град)-1 при 200°C и 1,410-3 (град)-1 при 0°C.

Большое практическое значение может иметь использование тепла геотермальных вод. Созданы экспериментальные образцы ТЭГ, пригодные для использования тепла природных горячих источников. Недостаточно высокая тепловая экономичность такой термоэлектрической геотермальной электростанции может быть скомпенсирована простотой и надежностью ТЭГ, способностью работать без обслуживающего персонала.

Тепло человеческого тела также может быть использовано для создания разности температур между горячим и холодным спаями ТЭЭЛ. Такие ТЭГ из хороших ТЭМ способны обеспечить получение мощности 0,01 Вт и более, если перепад температуры порядка 40 - 50°C. Несколько десятков миниатюрных ТЭЭЛ образуют гибкий браслет, надеваемый на запястье руки. Такой ТЭГ может обеспечить питание транзисторного приемника и передатчика, в особенности в районах с холодным климатом.

Другой пример устройств этого типа - японский полупроводниковый радиоприемник, не нуждающийся в гальванических батареях или аккумуляторах. Здесь имеется термоэлектрическое устройство, которое дает необходимый электрический ток, если термопластинку надеть на руку.

Автор: Магомедов А.М.

Смотрите другие статьи раздела Альтернативные источники энергии.

Читайте и пишите полезные комментарии к этой статье.

<< Назад

Последние новости науки и техники, новинки электроники:

Лабораторная модель прогнозирования землетрясений 30.11.2025

Предсказание землетрясений остается одной из самых сложных задач геофизики. Несмотря на развитие сейсмологии, ученые все еще не могут точно определить момент начала разрушительного движения разломов. Недавние эксперименты американских исследователей открывают новые горизонты: впервые удалось наблюдать микроскопические изменения в контактной зоне разломов, которые предшествуют землетрясению. Группа под руководством Сильвена Барбота обнаружила, что "реальная площадь контакта" - участки, где поверхности разлома действительно соприкасаются - изменяется за миллисекунды до высвобождения накопленной энергии. "Мы открыли окно в сердце механики землетрясений", - отмечает Барбот. Эти изменения позволяют фиксировать этапы зарождения сейсмического события еще до появления традиционных сейсмических волн. Для наблюдений ученые использовали прозрачные акриловые материалы, через которые можно было отслеживать световые изменения в зоне контакта. В ходе искусственного моделирования примерно 30% ко ...>>

Музыка как естественный анальгетик 30.11.2025

Ученые все активнее исследуют немедикаментозные способы облегчения боли. Одним из перспективных направлений становится использование музыки, которая способна воздействовать на эмоциональное состояние и когнитивное восприятие боли. Новое исследование международной группы специалистов демонстрирует, что даже кратковременное прослушивание любимых композиций может значительно снижать болевые ощущения у пациентов с острой болью в спине. В эксперименте участвовали пациенты, обратившиеся за помощью в отделение неотложной помощи с выраженной болью в спине. Им предлагалось на протяжении десяти минут слушать свои любимые музыкальные треки. Уже после этой короткой сессии врачи фиксировали заметное уменьшение интенсивности боли как в состоянии покоя, так и при движениях. Авторы исследования подчеркивают, что музыка не устраняет саму причину боли. Тем не менее, она воздействует на эмоциональный фон пациента, снижает уровень тревожности и отвлекает внимание, что в сумме приводит к субъективном ...>>

Алкоголь может привести к слобоумию 29.11.2025

Проблема влияния алкоголя на стареющий мозг давно вызывает интерес как у врачей, так и у исследователей когнитивного старения. В последние годы стало очевидно, что границы "безопасного" употребления спиртного размываются, и новое крупное исследование, проведенное международной группой ученых, вновь указывает на это. Работы Оксфордского университета, выполненные совместно с исследователями из Йельского и Кембриджского университетов, показывают: даже небольшие дозы алкоголя способны ускорять когнитивный спад. Команда проанализировала данные более чем 500 тысяч участников из британского биобанка и американской Программы миллионов ветеранов. Дополнительно был выполнен метаанализ сорока пяти исследований, в общей сложности включавших сведения о 2,4 миллиона человек. Такой масштаб позволил оценить не только прямую связь между употреблением спиртного и развитием деменции, но и влияние генетической предрасположенности. Один из наиболее тревожных результатов касается людей с повышенным ге ...>>

Случайная новость из Архива

Рождаемость в мире критически снижается 13.05.2024

Рождаемость, как один из ключевых демографических показателей, играет решающую роль в формировании общества и определяет его будущее. В последние десятилетия миру приходится сталкиваться с существенным снижением рождаемости, что вызывает обеспокоенность ученых и политиков. Этот тренд имеет глобальный характер и вносит значительные изменения в социально-экономическую картину мира.

Мировой уровень рождаемости снижается, и это вызывает серьезные опасения по поводу будущего человечества. Исследования показывают, что рождаемость падает почти повсеместно, затрагивая женщин всех социальных категорий и уровней дохода. Этот феномен имеет далеко идущие последствия для различных сфер жизни, включая экономику и глобальные демографические тенденции.

В странах с высоким уровнем дохода рождаемость снизилась ниже уровня, необходимого для поддержания стабильной численности населения. Пандемия лишь усугубила этот процесс. Аналогичная тенденция наблюдается и в развивающихся странах. Например, в Индии, несмотря на то что она опередила Китай по численности населения, рождаемость также снижается.

Эксперты предупреждают о наступлении "демографической зимы", что означает сокращение численности населения, что редко встречается в истории. Сокращение населения ставит под угрозу не только демографическую устойчивость, но и экономическое развитие, а также влияние страны на мировую арену.

Последние данные свидетельствуют о том, что мировой уровень рождаемости составляет от 2,1 до 2,2, что близко к глобальному коэффициенту воспроизводства населения, необходимому для стабильности численности. Показатели рождаемости уже сейчас ниже ожидаемых, а тренд снижения сохраняется.

Прогнозы о численности населения мира также меняются. Если ранее ожидался рост до 11,2 миллиарда к 2100 году, то сейчас прогнозы говорят о пике около 9,5 миллиардов в 2061 году, после чего начнется сокращение.

Снижение рождаемости ставит перед человечеством серьезные вызовы, требующие внимательного и комплексного рассмотрения со стороны мирового сообщества. Этот процесс имеет далеко идущие последствия для стабильности общества и экономики. Понимание причин и разработка эффективных стратегий для управления демографическими процессами становятся ключевыми задачами для будущего развития человечества.

Другие интересные новости:

▪ Ульразвуком по позвоночнику

▪ Скоростной робопес

▪ Женщинам требуется больше времени для сна

▪ Мониторинговая система NET-GPRS 4.4

▪ Планшет Oregon Scientific MEEP! для детей от шести лет

Лента новостей науки и техники, новинок электроники

 

Интересные материалы Бесплатной технической библиотеки:

▪ раздел сайта Индикаторы, датчики, детекторы. Подборка статей

▪ статья Активные фильтры для сабвуферов. Искусство аудио

▪ статья Какой код был установлен для запуска американских ядерных ракет в 1960-70-е годы? Подробный ответ

▪ статья Заместитель директора по розничной торговле. Должностная инструкция

▪ статья Простая Си-Би антенна. Энциклопедия радиоэлектроники и электротехники

▪ статья Антенна и заземление. Энциклопедия радиоэлектроники и электротехники

Оставьте свой комментарий к этой статье:

Имя:


E-mail (не обязательно):


Комментарий:





Главная страница | Библиотека | Статьи | Карта сайта | Отзывы о сайте

www.diagram.com.ua

www.diagram.com.ua
2000-2025