Menu Home

Бесплатная техническая библиотека для любителей и профессионалов Бесплатная техническая библиотека


Деревообрабатывающий станок-фуганок и циркулярка. Домашняя мастерская

Домашняя мастерская

Справочник / Домашняя мастерская

Комментарии к статье Комментарии к статье

Сначала скажу о своем хобби. Люблю мастерить: создавать своими руками нужные в доме вещи, повышающие комфортность и украшающие жилище. Особенно мне нравится работать с деревом - плотничать, столярничать. Желание иметь в своем пользовании "помощника", ускоряющего работу и повышающего ее качество, послужило главным мотивом к созданию представляемого комбинированного станка для получения столярных заготовок, а можно сказать - деревообрабатывающего мини-комплекса.

Мой практический, хотя и небольшой опыт работы на промышленных станках, как деревообрабатывающих, так и металлорежущих, оказался весьма полезным при проектировании и изготовлении этого мини-комплекса. Теперь с его помощью можно производить самую различную обработку: пиление (как в продольном, так и поперечном направлении волокон); строгание; шлифование и полирование, точение и сверление (да мало ли еще чего - все трудно перечислить) изделий из дерева, а некоторые операции даже из металла.

Мини-комплекс состоит из двух, в общем-то, независимых, станков (если не считать, что первый служит для второго основанием или опорой). Первый - это циркулярная пила с электрофуганком. Второй - токарно-сверлильный станок.

Сегодня разговор пойдет о первом Рассмотрим его устройство подробнее Но прежде всего отмечу, что спроектирован он, так сказать, по агрегатной схеме (ножи фуганка и дисковая пила имеют общий привод и закреплены на одном рабочем валу - роторе). Данное решение позволило мне сделать конструкцию более простой и технологичной, что, несомненно, сказалось на рациональном размещении основных узлов и агрегатов. В этом станке есть узлы как промышленного изготовления, так и заказанные профессионалам и, конечно же, сделанные собственными руками. Имеются даже необычные детали, например, опорная часть станка - рама, не что иное, как "ноги" от старой швейной машины. И она удачно вписались в общую конструкцию практически без переделок, а точнее - ширину стола рубанка подогнал под ее соответствующий размер. Основные части станины (царги, поперечины, дистанционные подложки) были изготовлены из швеллера №5. Обе конструкции: рама и станина - сварные.

Установленный на станке трехножевой ротор с двусторонними (обоюдоострыми) ножами фуганка, пильные диски с твердосплавными напайками, различного рода приспособления позволяют получать изделия из пиломатериала высокого качества. В режиме фугования (строгания) ширина обработанной поверхности составляет 260 мм, а глубина резания - до 2 мм.

Деревообрабатывающий станок-фуганок и циркулярка
Привод фуганка и циркулярной пилы

Деревообрабатывающий станок-фуганок и циркулярка
Столы (приемный и отводной) фуганка и пульт управления (на переднем плане)

Деревообрабатывающий станок-фуганок и циркулярка
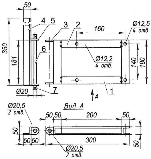
Деревообрабатывающий станок-фуганок и "циркулярка" (нажмите для увеличения): 1 - рама (от ножной швейной машинки, стальной штампованный швеллер 50x50x50, 4 шт.; 2 - шарнирно закрепленная подмоторная площадка; 3 - дополнительная стойка рамы для крепления подъемного стола "циркулярки" (уголок 50x50, 2 шт.; 4 - лоток (дюралюминиевый лист s1,5); 5 - продольная царга (прокатный швеллер № 5,2 шт.; 6 - подстольная дистанционная подложка (прокатный швеллер № 5, 4 шт.; 7 - дисковая пила (Ø300x32); 8 - пульт управления; 9 - подрамник подъемного стола "циркулярки" (уголок № 5); 10 - механизм подъема стола "циркулярки" (домкрат); 11 - поперечная царга (прокатный швеллер № 5, 2 шт.; 12 - фуганок; 13 - ведомый шкив; 14 - клиновой ремень (2 шт.; 15 - ведущий шкив клиноременной передачи; 16 - электродвигатель (N=3 кВт, n=1500 об/мин, U=380 В); 17 - поперечная связь (стальной профиль, 4 шт.; 18 - отводящий стол фуганка; 19 - приемный стол рубанка; 20 - подъемный стол "циркулярки"; 21 - направляющая устройства торцовки (труба Ø17); 22 - корпус подшипника рабочего вала (2 шт

Ротор (или рабочий вал) - наиболее важная, сложная и ответственная деталь станка. К тому же он является общим для фуганка и циркулярки. Его я изготовил (а вернее заказал токарю, а потом фрезеровщику) сообразно чертежам, опубликованным в статье "Мал, да универсал" В. Автуха из белорусского г. Гродно в журнале "Моделист-конструктор" № 11 за 2003 год. Но поскольку деталь эта очень ответственная, а публикация была достаточно давно, приведу чертеж ротора еще раз, тем более, что в него внес свои изменения: например, удлинил ножи, а соответственно и ротор, посадочные места (цапфы) под другие подшипники и т.д.

В этом же номере журнала "подсмотрел" и механизм подъема стола "циркулярки" - регулировкой высоты его на станке, заменив дисковую пилу на подходящую фрезу (или той же пилой за один или несколько проходов), можно производить выборку пазов, "четвертей" и фальцев различных размеров.

Пильный диск имеет диаметр 300 мм и позволяет за один проход обеспечить максимальную высоту распила (или глубину паза) до 80 мм. Обрезанию кромок доски под разными углами помогает приспособление, монтируемое на краю рабочего стола циркулярной пилы. Этот скользящий механизм (назову его салазками) очень удобен при обработке торцевых кромок доски.

Надежность данного станка была проверена в процессе создания другого станка - токарного. Работая над его станиной, я в течение трех часов подряд прорезал продольные направляющие продолговатые отверстия (пазы) на верхних полках ее швеллеров при помощи отрезных кругов, установленных на месте пильного диска, а затем производил их шлифование.

Деревообрабатывающий станок-фуганок и циркулярка
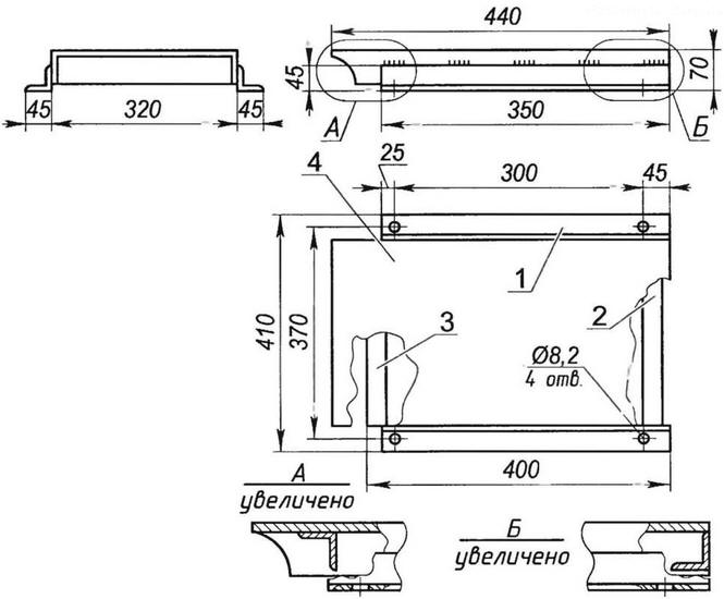
Стол фуганка: 1 - продольный элемент обвязки (уголок 45x45, 2 шт.; 2 - задний элемент обвязки (уголок 45x45); 3 - передний элемент обвязки (уголок 45x45); 4 - столешница (стальной лист s5)

Деревообрабатывающий станок-фуганок и циркулярка
Рамка подмоторной площадки: 1 - продольный элемент обвязки (стальной штампованный швеллер № 5, 2 шт.; 2 - поперечный элемент обвязки (стальной штампованный швеллер № 5,2 шт.; 3 - проушина подвески рамки (стальной лист s5, 2 шт.; 4 - поперечная связь рамы; 5 - проушина поперечной связи (стальной лист s5, 2 шт.; 6 - ось подвески рамки (сталь, круг 20); 7 - шплинт

Деревообрабатывающий станок-фуганок и циркулярка
Ротор фуганка и дисковой пилы (нажмите для увеличения): 1 - винт М8 с пружинной шайбой; 2 - прижимная шайба O35x25 (сталь, лист s4); 3 - ведомый двухручьевой шкив; 4 - крышка корпуса подшипника (2 шт.; 5-подшипник 18037 (2 шт.; 6 - корпус подшипника (2 шт.; 7 - ротор (сталь 45); 8 - упорная шайба; 9 - диск пилы; 10 прижимная шайба; 11 - гайка М20; 12-прижимная планка ножа (3 шт.; 13-нож фуганка, 3 шт.; 14 - распорка (винт М6, 12 шт.

Деревообрабатывающий станок-фуганок и циркулярка
Подъемный стол циркулярной пилы с механизмом торцевания заготовок

На середине станины (половине длины) установлен рабочий вал, подшипниковые узлы которого закреплены на ней при помощи болтов М20х1,5 длиной 70 мм. Привод вала осуществляется с левой стороны. Если смотреть со стороны места работающего, то левую часть составляет ножевая часть строгальной головки. На правой стороне расположена шейка вала диаметром 32 мм. В зависимости от производимой операции на ней могут быть установлены: циркулярная пила, фреза, наждачный, шлифовальный или отрезной круг. Важно! Гайка крепления инструмента на валу имеет правую резьбу. Рабочая поверхность станка сформирована из трех стальных плит (столов). Две плиты расположены по сторонам от строгального ротора (вала). Первая - приемный стол, располагается ближе к столяру, второй стол - отводящий. Оба стола имеют одинаковые размеры. Специального механизма регулировки высоты относительно режущего инструмента у отводящего стола нет, и эта операция осуществляется по мере необходимости с помощью стальных прокладок.

Поверхности столов изготовлены из стального листа толщиной 5 мм в форме перевернутых лотков (или желобов), установленных в рамки из уголков 45x45 и приваренных к ним.

Стол циркулярной пилы, напротив, в процессе работы может быть легко выставлен по высоте относительно пильного диска с помощью встроенного подъемного механизма. На правой стороне стола "циркулярки" на продольной направляющей размещен механизм, имеющий шкалу установки угла, при помощи которого можно производить торцевание концов досок, причем не только под прямым, но и под любым другим углом. За основу этого механизма взято соответствующее приспособление для ручной ножовки.

Замечу, что описанное приспособление легко убирается: снимается или опускается вниз. Продольная направляющая изготовлена из стальной трубы диаметром 17 мм, ее крепление производится с помощью кронштейнов-ушков на краях стола циркулярной пилы.

На этой же стороне данного же стола посредством прижимных брусков болтами М10 к столу крепится направляющая планка, выполненная из стального прокатного уголка 50x50 мм. Расстоянием между диском пилы и планкой определяется ширина отрезаемой заготовки. А сама планка помогает выдержать заданную ширину по всей длине заготовки без разметки последней.

Деревообрабатывающий станок-фуганок и циркулярка
Механизм подъема стола "циркулярки" и крепление к столу направляющей планки (нажмите для увеличения): 1 - рама, 2 - упорная поперечина рамы (уголок 50x50); 3 - домкрат (винт М20х2); 4 - упорная поперечина подъемного стола (уголок 45x45); 5 - стопор подъемного стола (специальный винт М12х1,5,2 шт.; 6 - дисковая пила; 7 - направляющая планка; 8 - царга (уголок 40x40, 4 шт.; 9 - стойка подъемного стола (уголок 40x40, 2 шт.; 10 - подкос (уголок 40x40, 2 шт.; 11 - столешница; 12 - дополнительная стойка рамы; 13 - прижимной брусок (сталь, 2 шт.; 14 - полушпилька-фиксатор с гайкой М10 (2 компл; 15 - специальный винт М10,2 шт

Деревообрабатывающий станок-фуганок и циркулярка
Механизм для торцевания заготовок (детали поз. 3,4,6 использованы от приспособления для ручной ножовки) (нажмите для увеличения): 1 - основание (доска s15); 2 - упор (доска s18); 3 - стойка (сталь); 4 - пластина со шкалой (сталь); 5 - крепление пластины к основе (болт М8,2 шт.; 6 - стопор (специальная гайка М8 с накаткой); 7 - крепление втулок к основанию (гайка М8, 2 шт.; 8 - подъемный стол "циркулярки"; 9 - кронштейн крепления направляющей к столу (стальной лист s5, 2 шт.; 10 - направляющая штанга (труба Ø17); 11 - подкладная пластина (сталь, лист s5); 12 - втулка (сталь, 2 шт.; 13 - крепление направляющей штанги (винт М12, 2 шт

Привод ротора - рабочего (инструментального) вала - осуществляется двухручьевой клиноременной передачей (хотя на практике использую только один ремень) от трехфазного (380 В) электродвигателя мощностью 3 кВт с частотой вращения 1500 оборотов в минуту. Двигатель располагается в самом низу внутри рамы и закреплен шарнирно на подвешенном консольно подрамнике, что позволило решить проблему натяжения ремня без дополнительного ролика. Для обеспечения качественной обработки материала частота вращения рабочего вала была увеличена за счет ускоряющей клиноременной передачи. У привода диаметр шкива мотора больше диаметра шкива рабочего вала в полтора раза, следовательно, ножевой ротор и дисковая пила вращаются с угловой скоростью около 2250 оборотов в минуту. Питание электродвигателя осуществляется через четырехжильный кабель, электропроводка выполнена со всеми требованиями норм безопасности, рама имеет заземление. На случай короткого замыкания или перегрузок пусковой автомат способен почти мгновенно отключить электропитание в автоматическом режиме. После работы станок следует обесточить, очистить от опилок и пыли.

Станок функционирует уже шесть лет. Провожу регламентные работы: шприцую подшипниковые узлы, проверяю исправность крепления ножей фуганка, состояние зубьев пильного диска, осматриваю клиновые ремни привода и кабели питания станка.

Не лишним будет напомнить о том, что станок относится к механизмам повышенной опасности. Вращающиеся детали и не используемые режущие инструменты необходимо закрывать закрепленными кожухами. Работа на станке требует предельной концентрации внимания, соблюдения правил техники безопасности. Не спешите, не прикладывайте силу для ускорения процесса, трудитесь в свое удовольствие. Рабочее место столяра должно быть хорошо освещено, пространство около станка - достаточно свободным, покрытие пола не скользким.

Автор: С.Якишев

 Рекомендуем интересные статьи раздела Домашняя мастерская:

▪ Эллипсограф

▪ Легкосъемный патрон электродрели

▪ Трехоперационный настольный станок

Смотрите другие статьи раздела Домашняя мастерская.

Читайте и пишите полезные комментарии к этой статье.

<< Назад

Последние новости науки и техники, новинки электроники:

Хорошо управляемые луга могут компенсировать выбросы от скота 15.02.2026

Животноводство, особенно разведение крупного рогатого скота, часто обвиняют в значительном вкладе в глобальное потепление из-за мощного парникового газа - метана, который выделяется при пищеварении у жвачных животных. Это вызывает острые политические споры и призывы к сокращению потребления мяса. Однако ученые напоминают, что полная картина климатического воздействия отрасли не ограничивается только выбросами от животных: огромную роль играет окружающая экосистема - пастбища, почва и растительность, которые способны активно поглощать углекислый газ из атмосферы. Исследователи из Университета Небраски-Линкольна решили глубже изучить этот баланс. Группа под руководством профессора Галена Эриксона сосредоточилась на том, как правильно организованные пастбища накапливают углерод в растениях и грунте благодаря естественным процессам, стимулируемым выпасом скота. Ученые подчеркивают, что при достаточном уровне осадков и грамотном управлении такие луга превращаются в мощные природные погло ...>>

NASA тестирует инновационную технологию крыла 15.02.2026

Коммерческая авиация ежегодно расходует колоссальные объемы керосина, что сказывается не только на бюджете авиакомпаний, но и на состоянии окружающей среды. В 2024 году глобальные затраты на авиационное топливо достигли 291 миллиарда долларов, и эта сумма продолжает расти. Чтобы справиться с этими вызовами, NASA активно работает над технологиями, способными заметно повысить аэродинамическую эффективность самолетов. Одним из самых перспективных направлений стало создание специальной конструкции крыла, которая максимизирует естественный ламинарный поток воздуха и минимизирует сопротивление. В январе 2026 года специалисты NASA Armstrong Flight Research Center успешно провели важный этап наземных испытаний концепции Crossflow Attenuated Natural Laminar Flow (CATNLF). Для эксперимента под фюзеляж исследовательского самолета F-15B закрепили вертикально ориентированную масштабную модель высотой около 0,9 м (3 фута), напоминающую узкий киль. Такая компоновка позволила подвергнуть прототип р ...>>

Забота о внуках очень полезна для здоровья мозга 14.02.2026

Общение между поколениями приносит радость всей семье, но мало кто задумывается, насколько активно бабушки и дедушки, заботящиеся о внуках, поддерживают свою умственную форму. Регулярное взаимодействие с детьми стимулирует мозг пожилых людей, помогая сохранять память, скорость мышления и общую когнитивную активность. Новые научные данные подтверждают, что такая добровольная помощь не только важна для общества, но и может замедлять возрастные изменения в мозге. Исследователи из Тилбургского университета в Нидерландах провели анализ, чтобы понять, приносит ли уход за внуками реальную пользу здоровью пожилых людей. Ведущий автор работы Флавия Черечес отметила, что многие бабушки и дедушки регулярно присматривают за детьми, и оставался открытым вопрос, насколько это положительно сказывается на их собственном благополучии, особенно в плане когнитивных функций. Ученые поставили цель выяснить, способен ли регулярный уход за внуками замедлить снижение памяти и других умственных способ ...>>

Случайная новость из Архива

Языковая модель Dolly 2.0 21.04.2023

Американская компания по корпоративному программному обеспечению Databricks выпустила Dolly 2.0 - следующую версию своей большой языковой модели (LLM), с подобными ChatGPT функциями. Это первая LLM с открытым исходным кодом и набором инструкций для обучения в свободном доступе, что поможет компаниям использовать ИИ-технологию для собственных коммерческих проектов - без необходимости оплаты API или обмена данными с третьими сторонами.

В последние месяцы было выпущено немало языковых моделей, подобных GPT от OpenAI, которые по многим определениям можно было считать открытыми. Одна из таких - LLaMA от Meta, которой, в свою очередь, вдохновились Alpaca, Koala, Vicuna и Dolly 1.0

Однако многие из этих "открытых" моделей находились под контролем разработчиков систем - например, ИИ-проект команды из Стэнфорда Alpaca, который был обучен на инструкциях GPT-3.5 и создан на основе LLaMA 7B. Условия использования OpenAI включают правило о том, что исследователи не могут использовать продукты систем, конкурирующих с компанией.

Цель Databricks - решить эту проблему. Dolly 2.0 - это большая языковая модель с 12 миллиардами параметров, основанная на семействе моделей искусственного интеллекта Eleuther с открытым кодом и настроенная исключительно на небольшой блок инструкций (databricks-dolly-15k), созданный сотрудниками Databricks. Условия лицензирования этого набора данных позволяют использовать, изменять и расширять его для любых целей, включая академические или коммерческие программы.

Как и оригинальная Dolly, версия 2.0 не является самой современной, но "демонстрирует удивительно эффективный уровень выполнения инструкций, учитывая размер блока для обучения. Уровень усилий и затрат, необходимых для создания мощных технологий искусственного интеллекта, значительно меньший, чем представлялось ранее.

Другие интересные новости:

▪ Брызгуны на помощь

▪ Фирменный процессор LG для смартфонов

▪ Слюна гусениц против пластика

▪ 25 дюймовый телевизор с экраном на основе нанотрубок

▪ Уран из океана

Лента новостей науки и техники, новинок электроники

 

Интересные материалы Бесплатной технической библиотеки:

▪ раздел сайта Искусство видео. Подборка статей

▪ статья Джероламо Кардано. Знаменитые афоризмы

▪ статья Чем отличался партер в театрах пушкинской эпохи от привычного нам? Подробный ответ

▪ статья Рекламный агент. Должностная инструкция

▪ статья Искусственный мармелад. Простые рецепты и советы

▪ статья Пакетик движется в бутылке с водой. Секрет фокуса

Оставьте свой комментарий к этой статье:

Имя:


E-mail (не обязательно):


Комментарий:




Комментарии к статье:

Николай
Чертежи выполнены грамотно и качественно. Конструкция проста и удобна.


Главная страница | Библиотека | Статьи | Карта сайта | Отзывы о сайте

www.diagram.com.ua

www.diagram.com.ua
2000-2026