Бесплатная техническая библиотека
Походная мини-кухня. Советы туристу

Справочник / Советы туристу
Комментарии к статье
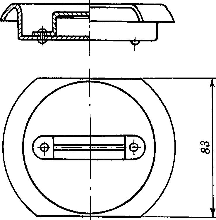
Предлагаемая мини-кухня позволяет приготовлять пищу в походных условиях в любую погоду. Особенно удобна для походов выходного дня, так как "не требует топора": работает на сухом горючем, продающемся в спортивных магазинах, а также на лесном "мусоре": ветках, щепках, хвое.
Для изготовления кухни потребуется три обычных алюминиевых бидона: на один, два и три литра. Меньшие служат в качестве варочных емкостей. Их переделка заключается в обрезке горловин и сверлении в оставшихся "поясках" отверстий под съемные проволочные ручки.
Чтобы во время приготовления пищи бачки можно было закрыть, следует подвергнуть доработке и крышки. Для этого в крышке двухлитрового бидона делается 12 пропилов; получившиеся лепестки отгибаются наружу через один, примерно на 60°.
Края крышки маленького бачка также отгибаются, а чтобы она убиралась внутрь емкости в походном положении кухни - обрезается с двух сторон в соответствии с диаметром горловины.

Рис. 1. Походная мини-кухня в собранном положении (крышки бачков не показаны): 1 - топочный корпус, 2 - бачок на 2 л, 3 - бачок на 1 л, 4 - упор (3 шт.), 5 - "колосник", 6 - крышка, 7 - накладка, 8 - ручка (3 шт.) (нажмите для увеличения)

Рис. 2. Доработка крышки двухлитрового бачка (нажмите для увеличения)

Рис. 3. Доработка крышки литрового бачка (нажмите для увеличения)

Рис. 4. Упор (размер В - по месту) (нажмите для увеличения)
Из трехлитрового бидона изготавливается топочный корпус кухни. В его дне вырезается отверстие диаметром на 2 мм больше, чем диаметр двухлитрового бидона. Затем на переходной части горловины сверлятся в шахматном порядке два ряда отверстий диаметром 8 мм и еще ряд вблизи донной части.
Эти отверстия нужны для выхода газов и создания тяги. На боковой поверхности прорезается прямоугольное отверстие - топка и окантовывается накладной рамкой.
Для установки варочных емкостей служат три упора из дюралевого уголка, приклепанных внутри корпуса. Остается приклепать крышку и уложить "колосник" для горючего - круг из проволочной сетки.
Мини-кухня рассчитана на двух человек и весит 1,1 кг. Если сделать корпус из пятилитрового бидона, а в одно-, двух- и трехлитровых готовить пищу, получится вариант кухни на четверых. Такая конструкция успешно служит уже три сезона.
Автор: В.Гуськов
Рекомендуем интересные статьи раздела Советы туристу:
▪ Магнитное склонение
▪ Водяной узел
▪ Камбуз на колесах
Смотрите другие статьи раздела Советы туристу.
Читайте и пишите полезные комментарии к этой статье.
<< Назад
Последние новости науки и техники, новинки электроники:
Токсичность интернета преувеличена
07.01.2026
Социальные сети нередко воспринимаются как арена постоянной агрессии, оскорблений и распространения фейковой информации. Новое исследование Стэнфордского университета показывает, что реальность значительно отличается от популярного представления: интернет гораздо менее токсичен, чем многие пользователи считают.
Ученые опросили более тысячи американцев, попросив их оценить долю пользователей соцсетей, которые ведут себя агрессивно или распространяют ненависть. Оказалось, что впечатления людей сильно преувеличивают масштабы проблемы. Например, респонденты считали, что почти половина пользователей Reddit хотя бы раз оставляла оскорбительные комментарии, тогда как фактические данные платформы показывают, что таких людей не более 3%.
Аналогичная ситуация наблюдается с дезинформацией. Опрос показал, что большинство участников считали почти половину аудитории Facebook распространителями фейковых новостей, однако статистика говорит об обратном: фактическая доля таких пользователей состав ...>>
Процессоры Ryzen AI 400
07.01.2026
Современные вычисления все больше ориентируются на интеграцию искусственного интеллекта и высокую производительность в компактных устройствах, таких как ноутбуки и мини-ПК. Новая линейка процессоров AMD Ryzen AI 400 демонстрирует, как разработчики объединяют мощные центральные ядра, графику и нейросетевые ускорители в одном чипе, чтобы удовлетворять растущие потребности пользователей в играх, контенте и ИИ-приложениях.
AMD представила процессоры серии Gorgon Point, которые включают до 12 ядер Zen 5 и до 24 потоков вычислений. Чипы поддерживают интегрированную графику RDNA 3.5, обеспечивают максимальную тактовую частоту до 5,2 ГГц и имеют энергопотребление от 15 Вт до 54 Вт. Особое внимание уделено NPU, способному обрабатывать до 60 триллионов операций в секунду (TOPS), что делает эти процессоры эффективными для задач с искусственным интеллектом.
Конструкция Ryzen AI 400 сочетает ядра Zen 5 и Zen 5c, обеспечивая высокую гибкость и производительность. Несмотря на то, что архитектур ...>>
Женщины лучше распознают признаки болезни по лицу
06.01.2026
Способность распознавать, что кто-то нездоров, часто проявляется интуитивно: бледная кожа, опущенные веки, уставшее выражение лица могут сигнализировать о недомогании. Новое исследование международной группы ученых показало, что женщины в среднем точнее мужчин улавливают такие тонкие невербальные признаки болезни, что может иметь эволюционные и социальные объяснения.
В отличие от предыдущих работ, где использовались отредактированные фотографии или имитация больных лиц, ученые решили проверить, насколько люди способны распознавать естественные признаки недомогания. Такой подход позволил оценить реальную чувствительность к изменениям в лицах, возникающим при болезни.
В исследовании приняли участие 280 студентов, поровну мужчин и женщин. Участникам предложили оценить 24 фотографии, на которых изображены люди как в здоровом состоянии, так и во время болезни. Это дало возможность сравнить восприятие естественных признаков недомогания в реальных лицах.
Для анализа состояния каждого ...>>
Случайная новость из Архива Влияние просмотра телевизора на размер мозга
09.12.2024
Продолжительный просмотр телевизора может негативно сказаться на здоровье мозга, снижая объем серого вещества - области, где сосредоточены нейроны, ответственные за обработку информации. Эти данные были получены в рамках исследования, проведенного командой ученых из Школы общественного здравоохранения Блумберга при Университете Джонса Хопкинса. Возглавлял проект Райан Догерти.
Ученые анализировали данные крупного долгосрочного исследования "Развитие риска коронарных артерий у молодых взрослых" (CARDIA), начатого в 1985 году при поддержке Национального института сердца, легких и крови США. В исследовании участвовали более 5000 человек из четырех городов Соединенных Штатов, и его цель заключалась в изучении факторов, влияющих на здоровье на протяжении жизни.
Один из аспектов, изученных в рамках CARDIA, был связан с привычками участников, включая время, проводимое перед экраном телевизора. Выяснилось, что те, кто смотрел телевизор более 1,4 часа в день, к 50 годам теряли около 0,5% объема серого вещества в мозге. В среднем участники проводили перед экраном 2,5 часа в день, и эта привычка оставалась неизменной на протяжении двух десятилетий.
Хотя 0,5% может показаться небольшой величиной, эксперты отмечают, что сохранение объема мозга имеет решающее значение для когнитивных функций. Серое вещество отвечает за память, внимание, принятие решений и многие другие процессы. Его снижение связано с ускорением процессов старения мозга и повышенным риском когнитивных нарушений.
Райан Догерти подчеркнул, что даже небольшой объем утраты может быть критическим в долгосрочной перспективе, особенно если учесть естественное снижение объема мозга с возрастом.
Исследователи предполагают, что причина такого влияния телевидения может быть связана с малоподвижным образом жизни, который сопровождает длительный просмотр экранов. Недостаток физической активности и когнитивного стимулирования во время просмотра может способствовать ухудшению состояния мозга. Также вероятно, что долгие часы, проведенные за телевизором, заменяют более полезные для мозга виды деятельности, такие как чтение, обучение новым навыкам или активное социальное взаимодействие.
Для минимизации негативного воздействия ученые рекомендуют сокращать время, проводимое за телевизором, и дополнять его активностями, которые стимулируют мозг. Например, регулярные физические упражнения, участие в интеллектуальных играх и обучающих программах, практика медитации, которая улучшает концентрацию и память, общение и участие в социальных мероприятиях.
Хотя исследование выявило корреляцию между длительным просмотром телевизора и уменьшением объема серого вещества, необходимы дополнительные исследования для определения точных механизмов этого влияния. Ученые надеются, что новые данные помогут разработать рекомендации для сохранения здоровья мозга на протяжении всей жизни.
Просмотр телевизора - привычная часть жизни для миллионов людей, но его длительное воздействие может иметь негативные последствия для мозга. Уменьшение серого вещества, выявленное в исследовании, служит напоминанием о важности активного образа жизни и сбалансированного подхода к использованию свободного времени. Сохранение здоровья мозга требует усилий, но эти усилия окупаются возможностью сохранить ясность ума и когнитивные способности в старости.
|
Другие интересные новости:
▪ Устойчивые полимерные пластики из переработанных текстильных отходов
▪ Скоростная зарядка для литий-ионных батарей электромобилей
▪ Однокорпусный цифровой датчик ультрафиолетового излучения
▪ Микросхема TCPP01-M12 для защиты линий USB type-C
▪ Батарея, работающая на фотосинтезе
Лента новостей науки и техники, новинок электроники
Интересные материалы Бесплатной технической библиотеки:
▪ раздел сайта Личный транспорт: наземный, водный, воздушный. Подборка статей
▪ статья Осадки (дождь, туман, град, снег). Основы безопасной жизнедеятельности
▪ статья Правда ли, что в Колизее был лифт? Подробный ответ
▪ статья Горошек мышиный. Легенды, выращивание, способы применения
▪ статья Расчет сабвуфера при помощи программы WinISD. Энциклопедия радиоэлектроники и электротехники
▪ статья Фокус с китайской монетой. Секрет фокуса
Оставьте свой комментарий к этой статье:
Главная страница | Библиотека | Статьи | Карта сайта | Отзывы о сайте

www.diagram.com.ua
2000-2026