Бесплатная техническая библиотека
Мотонарты. Личный транспорт

Справочник / Личный транспорт: наземный, водный, воздушный
Комментарии к статье
Идея сделать мотонарты, да такие, чтобы на них можно было ездить по рыхлому снегу, овладела мною уже давно, лет пятнадцать назад. Но приступать к работе не спешил, тщательно обдумывал, каким мне хотелось бы видеть свой снегоход. Так постепенно в голове сложилась конструктивная схема с движителем в виде двух блоков лыж, окруженных легкой гусеничной лентой.
Что подтолкнуло меня к такой конструкции? Конечно же, многолетняя практика лыжных походов. Лыжи в наших краях - действительно предмет первой необходимости, обойтись без них трудно. Помню, как в детстве мы их делали сами, причем по качеству современные фабричные вряд ли лучше.
Кинематическая схема снегохода (нажмите для увеличения): 1 - ведомая гусеничная звездочка Z = 14,2 - опорные лыжи каретки,3 - ведущая гусеничная звездочка Z = 10. 4, 5 - мотоциклетные звездочки, Z - 19, 6 - выходная звездочка двигателя, 7 - двигатель "Иж-Планета",8 - рама, 9 - каретка
Так вот, катаясь на лыжах, я обратил внимание на две вещи. Прежде всего, если под лыжу случайно попадает какой-либо предмет - жердь, гладкий сучок ветки и т. п., то скольжение улучшается. И еще: при подъеме в гору "лесенкой" даже рыхлый свежевыпавший снег держит лыжника хорошо, не сползая вниз. Вот эти два наблюдения и подсказали установить лыжи внутри "бесконечной" лесенки-гусеницы. Такая конструкция, на мой взгляд, должна была обеспечить малое удельное давление и хорошую проходимость даже при движении по достаточно крутым склонам сопок.
(нажмите для увеличения)
Рама снегохода с конструктивными элементами движителя и трансмиссии (нажмите для увеличения): 1 - рама (уголок 35х35 мм), 2, 3 - поперечные дуги, 4 - продольные лонжероны, 5 - корпус подшипника промежуточного вала трансмиссии, 6 - подмоторный лонжерон (уголок 35X35 мм), 7 - поперечная балка для крепления рулевого механизма (швеллер 20 мм), 8 - площадка под коромысло рулевого механизма, 9 - косынка крепления поворотной оси, 10 - хомут поворотной оси, 11 - поворотная ось, 12 - кронштейн промежуточного вала трансмиссии, 13 - отверстия для крепления ведущего вала гусеничного движителя, 14 - втулка оси каретки, 15 - подмоторный кронштейн, 16 - опорная плита рулевой колонки, 17, 20 - уголки крепления двигателя с продольными прорезями для натяжения цепи, 18 - уголок, 19 - скоба, 21 - площадка, 22, 23 - подвижный и неподвижный уголки устройства натяжения гусеничной ленты, 24 - хомут крепления оси каретки, 25 - болты М10, 26 - корпус подшипника ведомого вала гусеничного движителя, 27 - продольная балка каретки, 28 - опорные лыжи каретки, 29, 32 - поперечные балки каретки, 30 - дуга каретки, 31 - ось каретки, 33 уголок крепления лыжи к поперечной балке, 34 - уголок крепления поворотной лыжи к передней стойке, 35 - поворотная лыжа.
И более чем десятилетняя эксплуатация снегохода подтвердила мои предположения. Практика показала, что опасения снизить применением такой схемы общий КПД и увеличить износ за счет трения оказались напрасными. Дело в том, что между лыжами и планками-траками Гусеницы всегда попадает снег, а это прекрасная смазка! Еще лучше движитель работает при температуре -10°...-20° С - тогда на траках образуется тонкая ледяная корка, по которой и скользят окованные железом лыжи. В плюсовую температуру сопротивление движению заметно возрастает, но этот недостаток присущ серийным "буранам" в еще большей степени.
Теперь о конструкции снегохода. Рама изготовлена из уголка сечением 35х35 мм; передняя часть изогнута после нагрева в печи (впрочем, делатьэто не обязательно). В основном ее элементы сварные, но отдельные части скреплены болтами М1С. Поперечную балку для коромысла рулевого устройства, как не воспринимающую основных нагрузок, можно сделать из проката меньшего сечения.
Ведущий вал гусеничного движителеля в сборе (нажмите для увеличения): 1 - крышки, 2 - подпитники № 205, 3 - корпус подшипников, 4 - вал, 5 - звездочки Z - 10, б - мотоциклетная звездочка Z - 19, 7 - шайба
Двигатель мощностью 13,5 л.с. с принудительным охлаждениелл взят от мотоцикла "Иж-Плаиета" первого выпуска.Заднего хода у машины нет, но прижелании его можно сделать, установив дополнительную коробку переключения передач вместо промежуточного вала.
Трансмиссия - цепная, собрана из мотоциклетных деталей. Первая ступень - от выходной звездочки двигателя на промежуточный вал, вторая - от промежуточного вала на ведущий вал движителя. Передаточное отношение второй ступени - 1; ее необходимость вызвана компоновкой. Длина обеих цепей одинакова - по 22 звена (44 ролика); звездочки тоже одинаковые - Z = 19.
Промежуточный вал в сборе (нажмите для увеличения): 1 - корпуса подшипников. 2 - мотоциклетные звездочки Z = 19, 3 - вал, 4 - шайба, 5 - крышка, 6 - подшипник № 205
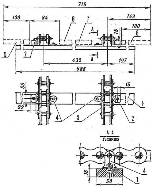
Движитель включает в себя гусеничную ленту, два вала со звездочками и каретку с двумя блоками лыж. На ведущем валу установлены две звездочки Z = 10 под цепь шагом 38 мм от списанного зерноуборочного комбайна. На ведомом валу звездочки несколько большего диаметра, Z = 14. Оба вала(как, впрочем, и третий - промежуточный) установлены в подшипниках № 205. Корпуса подшипников ведущего вала движителя закреплены болтами М10 неподвижно на раме, а корпуса ведомого вала - на продольной, балке каретки. Натяжение цепи регулируется за счет перемещения оси каретки специальным устройством. Ось каретки - толстостенная труба d 25 мм (из такой же изготовлена и рулевая колонка). Дуги каретки - сварные, коробчатого сечения, концами соединены на шарнирах с двумя поперечными балками - уголками сечением 30X30 мм. К балкам крепится по пять лыж. Ширина каждой - 100 мм; промежутки между центральными 24 мм, между крайними - 84 мм (для прохождения цепи гусеничной ленты).
Лыжи каретки самодельные, изготовлены из ствола березы, имеющегоизогнутую форму. Последнее необходимо, так как лыжи, сделанные по обычной технологии, после нескольких поездок по мокрому снегу могут почти полностью разогнуться. Полозья лыж скованы тонким стальным листом или жестью. Гвозди применять не рекомендуется; лучше при раскройке листа предусмотреть необходимое число специальных лепестков. И еще не следует забывать, что лыжи, кроме центральной, должны иметь металлический кант по всей длине с того края, где проходят цепи гусеницы.
Трак гусеницы: 1 - пластиковая планка, 2 - бобышки ограиичителей, 3 - звено цепи (шаг 38 мм), 4 - уголки крепления цепи, 5, 6, 7, 8 - лыжи (на виде сверху условно не показаны)
Гусеничная лента представляет собой две цепи с шагом 38 мм, к которым через звено на специальных уголках болтами Мб прикреплены траки - пластиковые планки сечением 50х16 мм. Первоначально планки были деревянными; я проехал на них не менее 10 тыс. км. Однако выяснилось, что втеплую погоду и при движении по накатанным дорогам они ведут себя неудовлетворительно, очень сильно увеличивая сопротивление. Тогда я изготовил стальную форму и отлил из расплавленного пластика новые траки (при этом их можно даже снабдить своеобразным рисунком "подошв"), С тех пор не жалуюсь: при той же массе новая гусеница превосходит предшественницу во всех отношениях.
Траки (через один) с внешних сторон цепей имеют стальные бобышки-ограничители. Они необходимы для центровки гусеницы: их закругленная сторона скользит по окантованной металлом стороне внешних лыж.
В целом каретку движителя следует рассчитать таким образом, чтобы при езде по неровной поверхности гусеница ни в коем случае вверху не задевала за раму снегохода.
Схема рулевого управления: 1 - рулевая колонка, 2 - рычаг рулевой колонки, 3, 5 - малая и большая тяга, 4, 7 - рычаги поворотных осей, 6 - коромысло
Рулевое управление снегохода включает в себя две передние поворотные лыжи на вертикальных осях и систему рычагов и тяг. В целом схема управления понятна из приведенного рисунка, причем наверняка ее можно улучшить.
Так же стоит усовершенствовать и схему крепления двигателя. У меня на снегоходе есть дополнительный элемент - винт, упирающийся одним концом в кронштейн промежуточного вала, а другим - в подмоторный кронштейн. Он служит для того, чтобы по мере необходимости "поджать" двигатель, обеспечив тем самым нормальное натяжение цепи первой ступени трансмиссии, поскольку конструкция подмоторной рамы не настолько жесткая, чтобы исключить возможное ослабление цепи. Чертежей винта не привожу, так как целесообразнее сделать специальное натяжное устройство.
В заключение об эксплуатационных характеристиках снегохода. Служит он мне, как я уже говорил, более десяти лет и ни разу не подводил. Проходимость прекрасная:полуметровый свежевыпавший снег, например, для него далеко не преграда. Скорость - порядка 40 км/ч, средний расход топлива - 20 л на 150 км пути. Грузоподъемность кузова - 250 кг, можно применить и дополнительный лыжный полуприцеп - тогда груза можно будет брать больше. При необходимости снегоход буксируется автомобилем: для этого надо снять гусеницу, и машина опустится непосредственно на лыжи.
Автор: Е.Мирошин
Рекомендуем интересные статьи раздела Личный транспорт: наземный, водный, воздушный:
▪ Трехполозные санки
▪ Снежный самокат
▪ Водометный велосипед
Смотрите другие статьи раздела Личный транспорт: наземный, водный, воздушный.
Читайте и пишите полезные комментарии к этой статье.
<< Назад
Последние новости науки и техники, новинки электроники:
Власть является ключевым фактором счастья в отношениях
11.03.2026
Исследования семейных и романтических отношений показывают, что длительное счастье пары зависит не только от привычных факторов, таких как доверие, уважение и преданность, но и от более тонких психологических аспектов. Современные ученые ищут закономерности, которые отличают действительно счастливые пары от остальных, чтобы понять, какие механизмы поддерживают гармонию в отношениях.
Группа исследователей из Университета Мартина Лютера в Галле-Виттенберге и Бамбергского университета провела опрос среди 181 пары, которые состояли в совместных отношениях более восьми лет и прожили вместе хотя бы месяц. Участники заполняли анкету, описывая различные аспекты своих отношений, включая распределение обязанностей, эмоциональную поддержку и степень вовлеченности в совместные решения.
Анализ данных показал интересный паттерн: пары, где оба партнера ощущали высокий уровень личной власти, оказывались наиболее счастливыми и удовлетворенными. В данном контексте под властью понимается способност ...>>
Защищенная колонка-повербанк Anker Soundcore Boom Go 3i
11.03.2026
Компания Anker представила новую модель линейки Soundcore - колонку Soundcore Boom Go 3i, ориентированную на активное использование на улице.
Новинка отличается высокой степенью защиты: корпус соответствует стандарту IP68, что обеспечивает водо- и пыленепроницаемость, а ударопрочный дизайн выдерживает падение с высоты до одного метра. За качество звука отвечает 15-ваттный драйвер, обеспечивающий пик громкости до 92 дБ, а технология BassUp 2.0 усиливает низкие частоты, делая звучание более насыщенным.
Колонка обладает автономностью до 24 часов, а LED-индикатор позволяет контролировать уровень заряда батареи. Кроме того, Soundcore Boom Go 3i может выполнять функцию павербанка: согласно внутренним тестам, устройство способно зарядить iPhone 17 с нуля до 40% за один час, что делает его полезным аксессуаром в походах и поездках.
Среди функциональных особенностей модели стоит выделить технологию Auracast, которая улучшает подключение и позволяет создавать стереопару из двух колонок ...>>
Раннее воздержание от алкоголя перестраивает мозг и иммунитет
10.03.2026
Алкогольная зависимость - хроническое расстройство с компульсивным употреблением спиртного, которое влияет не только на поведение, но и на функционирование мозга и иммунной системы. Недавние исследования показали, что даже на ранних этапах воздержания организм начинает перестраиваться, открывая новые возможности для терапии зависимости.
Ученые сосредоточились на пациентах, находящихся в первые недели абстиненции, и зафиксировали значительные изменения в мозговой активности. С помощью функциональной магнитно-резонансной томографии они выявили перестройку сетей нейронных связей, отвечающих за контроль импульсов и принятие решений. Эти изменения могут быть ключевыми для восстановления самоконтроля и снижения риска рецидива.
Одновременно с нейронной перестройкой исследователи наблюдали колебания иммунной системы. В крови повышался уровень цитокинов - сигнальных белков, регулирующих воспалительные процессы. Эти данные свидетельствуют о существовании нейроиммунного взаимодействия, при ...>>
Случайная новость из Архива Биологическая магниторецепция
27.01.2021
Ученые давно подозревали, что, поскольку магниты могут притягивать и отталкивать электроны, магнитное или геомагнитное поле Земли, может влиять на поведение животных за счет химических реакций. Когда некоторые молекулы возбуждаются светом, электрон может перескакивать с одной молекулы на другую и создавать две молекулы с одиночными электронами, известные как радикальные пары.
Одиночные электроны могут находиться в одном из двух различных спиновых состояний. Если два радикала имеют одинаковый электронный спин - их последующие химические реакции протекают медленно, тогда как пары радикалов с противоположными электронными спинами могут реагировать быстрее. Магнитные поля могут влиять на спиновые состояния электронов и, таким образом, напрямую влиять на химические реакции с участием радикальных пар.
Вот японцы и заинтересовались молекулами флавинов. Они представляют собой субъединицу криптохромов, которые являются молекулами, способными к свечению или флуоресценции при воздействии синего света. Это важные светочувствительные молекулы в биологии.
Когда флавины возбуждаются светом, они могут или флуоресцировать, или образовывать радикальные пары. Такая возможность означает, что интенсивность флуоресценции флавина зависит от того, насколько быстро будут реагировать радикальные пары. Японские исследователи светили лазером на эти молекулы, но добавляя при этом искусственное магнитное поле, чтобы понять, как сильно это поле влияет на химические реакции и флуоресценцию.
Статистический анализ интенсивности света показал, что флуоресценция клетки снижалась примерно на 3,5% каждый раз, когда клетки помещались в магнитное поле. Это значит, что синий свет побуждает молекулы флавина генерировать радикальные пары, и, следовательно, было меньше молекул, способных излучать свет. Флуоресценция флавина в клетке уменьшалась до тех пор, пока не исчезло магнитное поле.
Ученые считают, что очень слабое магнитное поле Земли имеет биологически важное влияние и на химические процессы, происходящие в живом организме. А это уже и есть магниторецепция - то есть умение чувствовать магнитное поле, и благодаря этому ориентироваться в пространстве.
|
Другие интересные новости:
▪ Автономные станции Volkswagen для быстрой зарядки электромобилей
▪ Дроны против коронавируса
▪ Очки от укачивания
▪ Объектив TTArtisan 23mm F1.4
▪ Микроавтобус без водителя
Лента новостей науки и техники, новинок электроники
Интересные материалы Бесплатной технической библиотеки:
▪ раздел сайта Охрана и безопасность. Подборка статей
▪ статья Желающего судьба ведет, не желающего тащит. Крылатое выражение
▪ статья Сколько пчел в улье? Подробный ответ
▪ статья Функциональный состав телевизоров Philips. Справочник
▪ статья Телемеханика для коммутации нагрузок по телефону. Энциклопедия радиоэлектроники и электротехники
▪ статья Вращение изменяет форму. Физический эксперимент
Оставьте свой комментарий к этой статье:
Главная страница | Библиотека | Статьи | Карта сайта | Отзывы о сайте

www.diagram.com.ua
2000-2026