Menu Home

Бесплатная техническая библиотека для любителей и профессионалов Бесплатная техническая библиотека


Выправление велосипедной восьмерки. Личный транспорт

Личный транспорт: наземный, водный, воздушный

Справочник / Личный транспорт: наземный, водный, воздушный

Комментарии к статье Комментарии к статье

Современные модели велосипедов насыщены новыми материалами и технологиями. Но в большинстве случаев это касается рамы, руля, трансмиссии. Практически неизменным по конструкции остается лишь спицевое колесо: центральная стальная втулка на оси, стальные спицы, металлический обод и резиновая шина на нем. Конечно, изобретатели и тут не остаются в стороне, предлагая, например, различные варианты втулок, овальное и даже переменное сечение спиц, разные профили и материал (сталь, дюралюминий, углепластик) ободьев и т.д., но это дела не меняет: спицевое колесо пока остается самым легким, а потому и незаменимым.

Спицы соединяют между собой втулку и обод, удерживая его и одновременно равномерно распределяя нагрузку на последний и передавая обратно ударные нагрузки от дороги через втулку с осью - на раму. Для соединения на одном конце спицы имеется крючок с головкой, а на другом - накатанная резьба (нарезанная очень бы ослабила спицу). К тому же, спицы в колесе расположены не по радиусам, а по касательным к втулкам, чтобы они, в основном, работали на растяжение.

Совсем не факт, что даже у новых колес все спицы будут натянуты как положено, особенно у относительно дешевых моделей. Но даже если в этом плане все нормально, то после обкатки, наверняка, придется подтянуть спицы. И если регулировка натяжения спиц - относительно простая работа, то зачастую случаются неприятности и посерьезнее, и при их устранении без протяжки спиц не обойтись.

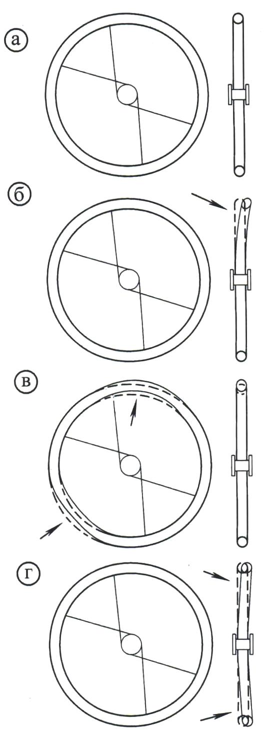
Самым распространенным повреждением колес, после проколов, являются "восьмерки" - торцевой изгиб обода (местное отклонение от плоскости вращения) при резком наезде на препятствие или вследствие ослабления спиц при длительной эксплуатации без их подтяжки. Визуально это обнаруживается "вилянием" колеса при вращении (циклоидная кривая крайней точки изгиба при виде сверху выписывает узкую "восьмерку"). Нередко часть обода отклоняется (изгибается) настолько, что начинает задевать за тормозные колодки (или при отсутствии тормоза, покрышка -за перо вилки) и препятствовать вращению колеса.

Выправление велосипедной восьмерки

Есть несколько несложных способов спасти колесо. Самый простой - выправить полученную "восьмерку" что называется "через колено". Много раз применял я эту народную технологию.

Выправление велосипедной восьмерки
Комплект спиц и ниппелей с шайбами для велосипедного колеса: 1 - спица (комплект); 2 - ниппель (комплект); 3 - шайба (комплект); 4 - ниппельно-спицевой ключ

Выправление велосипедной восьмерки
Приспособление для правки ободьев колес и втулки: 1 - основание-стапель (ДСП или многослойная фанера); 2 - ось (сталь); 3 - координирующая опора (стальной утолок, 4-6 шт.); 4 - втулка переднего колеса; 5 - втулка заднего колеса; 6 - самодельная усиленная втулка для колеса грузовой тележки

Перевернув велосипед и установив его на землю, оперев на руль и сиденье, потихонечку прокручиваю колесо и нахожу самое выпуклое (отклоненное) место. Еще лучше произвести поиск этого места с помощью кусочка мела: только теперь колесо надо раскрутить побыстрее, а мел медленно приближать со стороны пера вилки (сбоку) к ободу до "чирка" - места их соприкосновения. Подставляю сюда колено, а руками захватываю покрышку с ободом слева и справа и с усилием выпрямляю. Снова прокручиваю и если обнаруживаю еще выпуклость, то опять выправляю. Обычно нескольких таких манипуляций достаточно, чтобы кривизна обода уменьшилась, и колесо уже входило в вилку с боковыми зазорами, не задевая перьев при вращении. После такого ремонта ездить на велосипеде уже можно, но не очень приятно: кажется, что колесо как бы болтается на оси, а на большой скорости даже начинается тряска руля.

Чтобы выправить "восьмерку" полностью ("в круг"), придется использовать другой способ - перетяжку спиц с учетом появившейся кривизны обода. Следует прокрутить колесо и наметить самые выпуклые точки обода. Затем здесь ослабить наружный ряд у двух-четырех ближайших спиц, а на внутренний ряд - натянуть на один оборот ниппеля. Постепенно ослабляя-подкручивая соответствующие спицы, можно добиться достаточной ровности (плоскости) обода, не разбирая колеса.

После нескольких подобных ремонтов или неудачного "приземления" возможно радиальное смещение обода и появление овальности ("яйца).

Выправление велосипедной восьмерки
Варианты ободьев из стальной ленты: 1 - для покрышки с проволочным бортом; 2 - коробчатого сечения; 3 - без внутренних полостей

Выправление велосипедной восьмерки
Деформации обода (нажмите для увеличения): а - обод без деформаций; б - "восьмерка" (часть обода уходит за плоскость вращения); в - "яйцо" (обод не круглый - часть его вогнута или выпукла, или то и другое); г - "зонт" (середина обода смещена относительно середины втулки, обычно это результат неправильной сборки колеса)

Выправление велосипедной восьмерки
Устранение деформаций обода без полной разборки колеса: а - исправление "восьмерки"; б - устранение "яйца"

Выправление велосипедной восьмерки
Колесо на стапеле (нажмите для увеличения): 1 - обод; 2 - втулка; 3 - координирующая опора (4-6 шт.); 4 - центрирующая втулка (2 шт.); 5 - широкая шайба; 6 - крепление колеса к стапелю (болт М8 с гайкой и шайбой); 7 - крепление опоры к стапелю (шуруп, комплект); 8 - стапель (ДСП или многослойная фанера)

Для выявления овальности велосипед также переворачивают и кусочком мела, приближая его от коронки передней вилки при медленном прокручивании колеса, определяют овальность. Для ее устранения следует поослабить во впадине и натянуть в выпуклом месте все спицы. Затем все равномерно подтянуть до нормы. Еще надо сильно сжать попарно все спицы в левом и правом ряду и снова протянуть ослабленные.

В итоге получится практически круглое колесо.

Перед очередным весенне-летним сезоном следует провести "юстировку" колес с "голым" ободом, а при необходимости и более тщательную рихтовку.

Самый сложный ремонт колеса - его полная разборка и последующая сборка. На коленке такой ремонт не сделать. Для точности потребуется сборочное приспособление. Простейший кондуктор изготавливается на подходящем листе фанеры или древесно-стружечной плите. В центре сверлится отверстие по диаметру оси колеса.

После полной разборки колеса (снятия всех спиц) проводится рихтовка обода "на круглость" путем подгонки линии обода с ровной начерченной окружностью на поверхности листа. Хорошо отрихтованный обод должен быть абсолютно круглым и плоским.

При дефектации спиц следует обратить внимание на состояние резьбы, антикоррозийное покрытие и износ шейки крючка.

Для облегчения работы резьбу спиц и части обода в местах соприкосновения с шайбами ниппелей (вокруг отверстий) смазывают консистентной смазкой или машинным маслом.

Сборка начинается с заполнения спицами корпуса втулки в "ритме" головка слева (снаружи) - головка справа (изнутри). Здесь надо обратить внимание на следующее: если отверстия во фланцах втулки имеют зенковку с одной стороны, то головка спицы должна находиться с противоположной стороны - зенковка предназначена для изгиба спицы. К тому же, при внимательном рассмотрении втулки нельзя не заметить, что отверстия на фланцах втулки под спицы смещены относительно друг друга на пол шага.

Затем втулка с осью прикручивается в центр приспособления, спицы распределяются по четырем будущим рядам, ставится голый обод.

При наборе первых девяти спиц необходимо вставить их в соответствующие отверстия обода (в те, которые смещены к фланцу, куда вставлена спица). Спицу следует прикрутить к ниппелю, соседствующему с вентилем (или при его отсутствии - с отверстием под него). Забегая вперед, отмечу, что финишная спица последнего ряда должна расположиться по другую сторону от вентиля и не пересекаться с лидирующей спицей. Иначе будут трудности при подсоединении к вентилю насосного шланга.

Выправление велосипедной восьмерки
Усиленная втулка спицевого колеса (нажмите для увеличения): 1 - корпус подшипника 80102; 2 - корпус; 3 - большой фланец; 4 - малый фланец; 5 - подшипник 80102; 6 - подшипник 80100; 7-спица (комплект); 8 - ось; 9 - гайка М8; 10 - шайба; 11 - рама грузовой тележки

Выправление велосипедной восьмерки
"Спицовка" колеса: а - начало; б - первый ряд спиц; в - второй ряд спиц; 1 - обод; 2 - втулка; 3 - вентиль (или отверстие под него); 4 - лидирующая спица; 5 - финишная спица; 6 - рядовая спица первого ряда (8 шт.); 7 - спица второго ряда (9 шт.)

Выправление велосипедной восьмерки
Собранное велосипедное колесо с выправленным ободом на стапеле

При первом наживлении резьбовых ниппелей следует четко определить направление и "ритм" спицовки колеса. Например, в заднем колесе обычного взрослого велосипеда - 36 спиц. Делим на четыре ряда - получается по девять спиц в ряду. Первый нижний наживляется через три отверстия на четвертое. Второй ряд - в противоположную сторону, начав со среднего пустого отверстия и далее во все средние. Третий ряд - в одном направлении со вторым рядом в свободное по ходу отверстие и далее. Четвертый, последний верхний ряд имеет направление, одинаковое с нижним первым. "Спицуется" он в оставшиеся отверстия обода.

Традиционный набор принято называть полутангенциальным, когда направление спиц приближается к касательной к фланцу втулки. Такое их положение делает колесо более жестким по отношению к моменту вращения (и торможения). Большинство колес собирается в три "креста" (но могут быть и в два, и в четыре, и даже в пять). Это означает, что каждая спица пересекается с тремя другими, идущими с того же фланца втулки.

Остается лишь равномерно подтянуть все спицы. Делать это следует вразнобой, и не спешить. Если концы спиц выступают из ниппелей внутрь обода, то их необходимо подпилить.

Подготовленное колесо снимается с приспособления и ставится в вилку велосипеда.

Теперь, если сломался обод (а такое, к сожалению, тоже случается) или износилась втулка, смело покупайте новые, разбирайте колесо и заменяйте.

Возможна замена в колесе штатной втулки или обода на "неродные". Тогда возможно несовпадение количества отверстий под спицы у обода и втулки. Не страшно. Просто будет меньше спиц и немного собьется "ритм" "спицовки". Запаса прочности обычно хватает.

Нередки случаи конструирования техники с велосипедными колесами, когда требуется усиление втулки или обода (или той и другого). Тогда вытачивается новая расширенная втулка. Фланцы под крепление спиц тоже увеличиваются в диаметре - его можно прикинуть, примерив к обычному ободу штатную спицу или начертив несложный чертеж. Колеса тележки с уширенной втулкой и на обычных шариковых подшипниках качения (а не штатных, без обойм) будут надежнее и прослужат дольше. Подобные колеса применяются и при изготовлении такого экзотического экотранспорта, как веломобили и велорикши.

В случае больших втулок в комбинации с ободьями небольшого диаметра, используют меньшее количество "крестов" (не более двух), чтобы избежать изгиба спиц у ниппеля.

Мотоциклетные и мопедные колеса устроены подобным образом, поскольку и то и другое - есть "производное" от велосипедов, только с двигателем. А потому и ремонт их идентичен.

Также при помощи простейшего кондуктора и сварочного аппарата можно изготовить особо прочное колесо, приварив вместо штатных спиц полосовой металл или более толстую стальную проволоку (стержень). В последнем случае используют радиальный набор спиц (по кратчайшему расстоянию от фланца к ободу, без крестов). При этом спицы не пересекаются между собой.

Автор: А.Френев

 Рекомендуем интересные статьи раздела Личный транспорт: наземный, водный, воздушный:

▪ Безопасный карбюратор мотоцикла

▪ Мускулолет

▪ Мотолыжи Метель

Смотрите другие статьи раздела Личный транспорт: наземный, водный, воздушный.

Читайте и пишите полезные комментарии к этой статье.

<< Назад

Последние новости науки и техники, новинки электроники:

Хорошо управляемые луга могут компенсировать выбросы от скота 15.02.2026

Животноводство, особенно разведение крупного рогатого скота, часто обвиняют в значительном вкладе в глобальное потепление из-за мощного парникового газа - метана, который выделяется при пищеварении у жвачных животных. Это вызывает острые политические споры и призывы к сокращению потребления мяса. Однако ученые напоминают, что полная картина климатического воздействия отрасли не ограничивается только выбросами от животных: огромную роль играет окружающая экосистема - пастбища, почва и растительность, которые способны активно поглощать углекислый газ из атмосферы. Исследователи из Университета Небраски-Линкольна решили глубже изучить этот баланс. Группа под руководством профессора Галена Эриксона сосредоточилась на том, как правильно организованные пастбища накапливают углерод в растениях и грунте благодаря естественным процессам, стимулируемым выпасом скота. Ученые подчеркивают, что при достаточном уровне осадков и грамотном управлении такие луга превращаются в мощные природные погло ...>>

NASA тестирует инновационную технологию крыла 15.02.2026

Коммерческая авиация ежегодно расходует колоссальные объемы керосина, что сказывается не только на бюджете авиакомпаний, но и на состоянии окружающей среды. В 2024 году глобальные затраты на авиационное топливо достигли 291 миллиарда долларов, и эта сумма продолжает расти. Чтобы справиться с этими вызовами, NASA активно работает над технологиями, способными заметно повысить аэродинамическую эффективность самолетов. Одним из самых перспективных направлений стало создание специальной конструкции крыла, которая максимизирует естественный ламинарный поток воздуха и минимизирует сопротивление. В январе 2026 года специалисты NASA Armstrong Flight Research Center успешно провели важный этап наземных испытаний концепции Crossflow Attenuated Natural Laminar Flow (CATNLF). Для эксперимента под фюзеляж исследовательского самолета F-15B закрепили вертикально ориентированную масштабную модель высотой около 0,9 м (3 фута), напоминающую узкий киль. Такая компоновка позволила подвергнуть прототип р ...>>

Забота о внуках очень полезна для здоровья мозга 14.02.2026

Общение между поколениями приносит радость всей семье, но мало кто задумывается, насколько активно бабушки и дедушки, заботящиеся о внуках, поддерживают свою умственную форму. Регулярное взаимодействие с детьми стимулирует мозг пожилых людей, помогая сохранять память, скорость мышления и общую когнитивную активность. Новые научные данные подтверждают, что такая добровольная помощь не только важна для общества, но и может замедлять возрастные изменения в мозге. Исследователи из Тилбургского университета в Нидерландах провели анализ, чтобы понять, приносит ли уход за внуками реальную пользу здоровью пожилых людей. Ведущий автор работы Флавия Черечес отметила, что многие бабушки и дедушки регулярно присматривают за детьми, и оставался открытым вопрос, насколько это положительно сказывается на их собственном благополучии, особенно в плане когнитивных функций. Ученые поставили цель выяснить, способен ли регулярный уход за внуками замедлить снижение памяти и других умственных способ ...>>

Случайная новость из Архива

Инопланетные растения 27.10.2018

Симбиоз грибов и корней растений способен выдержать экстремальные условия низкой гравитации и существовать в почве, практически лишенной органики.

Ученые из Цюрихского университета озадачились вопросом, который тревожил еще персонажа Марка Уотни в ленте "Марсианин", когда тот изобретал способы вырастить картошку в условиях Марса. В итоге специалисты создали самые настоящие "инопланетные" растения. На Земле флора растет в благодатной почве, обогащенной органикой, а также приспособлена к земной гравитации. В условиях иных планет земные растения попросту не выживут, но ученые решают эту задачу.

Два фактора - низкая гравитация и почва без содержания органических веществ - препятствуют выращиванию растений на других планетах. Но симбиоз между почвенными грибами и корнями растений, регулируемый выделением гормона стриголактона, свойства которого ученые тщательно исследовали и усилили, позволил вывести петунии, способные существовать даже в бедной органикой почве и в условиях микрогравитации.

Петунии относятся к семейству пасленовых, к нему же принадлежат и съедобные культуры: баклажаны, помидоры и картофель. Поддерживаемые выделением гормона грибы имитируют почвенную органику, а растение способно быстрее и больше извлекать из земли необходимые для роста фосфаты, азот и воду. Именно такие "инопланетные" сорта в будущем станут основой для земледелия на Марсе и иных планетах, а также на космических кораблях.

Подобные модифицированные растения смогут повысить и урожаи на Земле, а также сократить парниковый эффект, но свойства их должны быть еще окончательно исследованы перед глобальным внедрением.

Другие интересные новости:

▪ Электрический седан Nio ET7

▪ Силикон вместо меди

▪ Печатные платы с возможностью многократной переработки

▪ Биоэлектрическая стимуляция в медицине

▪ Титановый пластик

Лента новостей науки и техники, новинок электроники

 

Интересные материалы Бесплатной технической библиотеки:

▪ раздел сайта Охрана труда. Подборка статей

▪ статья Спор славян между собою. Крылатое выражение

▪ статья На каких самолетах и для чего устанавливали перископ? Подробный ответ

▪ статья Калинджи. Легенды, выращивание, способы применения

▪ статья Лаки, протравы и другие средства для кожи и обуви. Простые рецепты и советы

▪ статья Случайные статьи. Большая подборка

Оставьте свой комментарий к этой статье:

Имя:


E-mail (не обязательно):


Комментарий:





Главная страница | Библиотека | Статьи | Карта сайта | Отзывы о сайте

www.diagram.com.ua

www.diagram.com.ua
2000-2026