Бесплатная техническая библиотека
Подъемник в гараже. Личный транспорт

Справочник / Личный транспорт: наземный, водный, воздушный
Комментарии к статье
Когда я купил подержанный легковой автомобиль и занялся его ремонтом, моим первым помощником в гараже стал... подъемник, который я соорудил под потолком. Без него мне вряд ли удалась бы, например, такая трудно выполнимая в одиночку операция, как замена двигателя.
На рисунке 1 показано расположение подъемника в гараже - как раз над капотом автомобиля. Со стрелой длиной немногим более метра мой кран имеет рабочую зону площадью около 5 м2. Этого вполне достаточно, чтобы при техническом обслуживании или ремонте автомобиля снимать с него и возвращать на место тяжеловесные узлы и агрегаты.
Рис. 1. Подъемник в гараже: 1 - перекрытие, 2 - болты М16 (4 шт.), 3 - стрела, 4 - грузовая лебедка
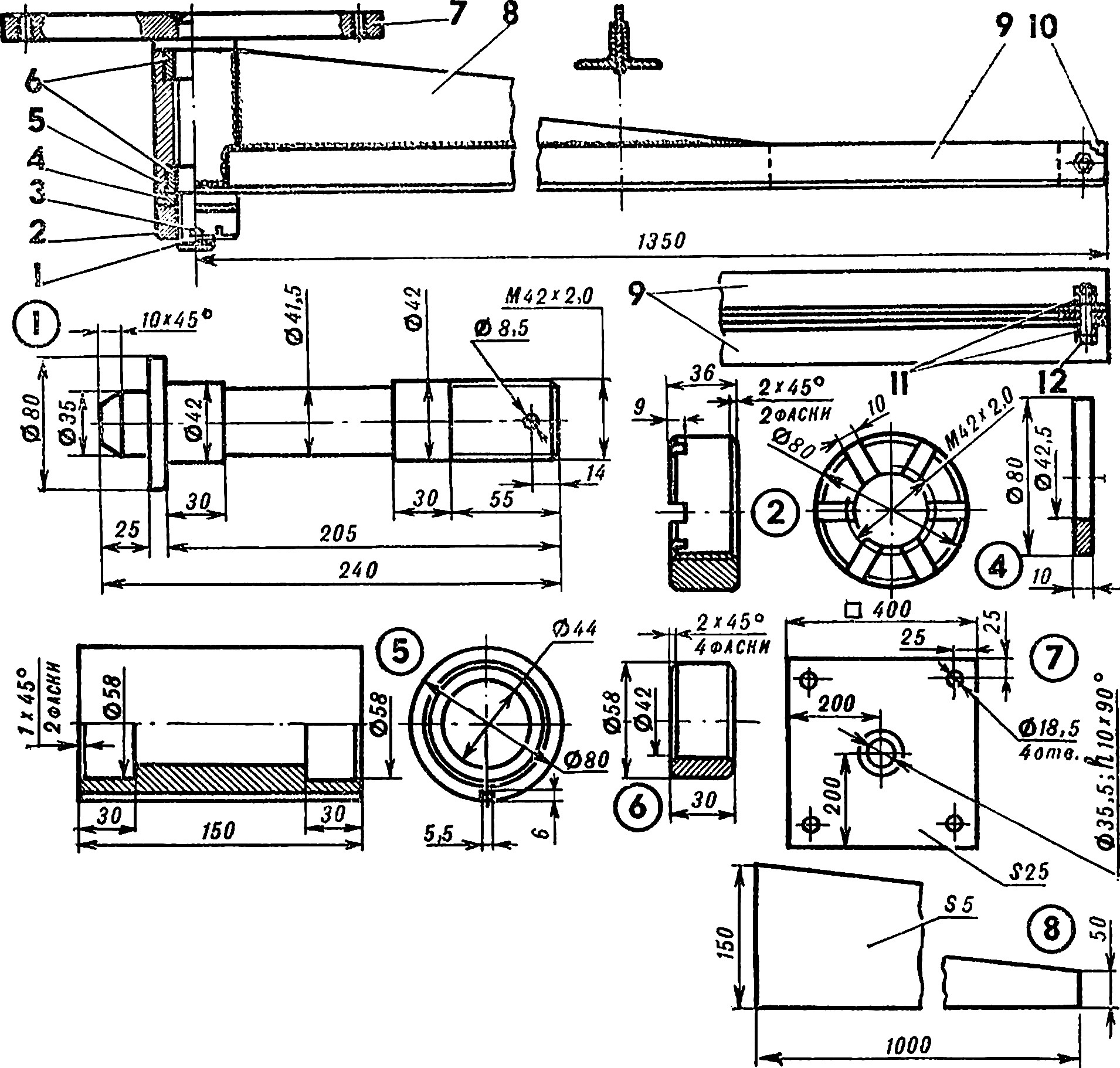
Кран я изготовил по схеме перевернутой укосины (рис. 2): на вертикальном валу посажена Г-образная стрела-консоль с грузовой лебедкой.
Рис. 2. Конструкция крана (нажмите для увеличения): 1 - вал, 2 - фасонная гайка, 3 - шплинт, 4 - шайба, 5 - стакан, 6 - подшипники скольжения, 7 - основание, 8 - подкос, 9 - уголки 50х50 мм, 10 - проставка, 11 - упорные втулки, 12 - болт-ограничитель
Вал выточил из стальной заготовки Ø 80 мм, вварил его в основание - стальной лист размером 400х400х25 мм и прикрепил к потолку четырьмя сквозными болтами М16. Плиты перекрытия в моем гараже наклонены ко входу, поэтому, чтобы основание располагалось горизонтально, я под длинные болты подложил по нескольку шайб.
Стрелу сварил из подкоса метровой длины, двух уголков 50Х50 мм и стакана. В последний запрессовал две бронзовые втулки, которые служат подшипниками скольжения. На валу вся конструкция удерживается шплинтованной фасонной гайкой М42х2,0.
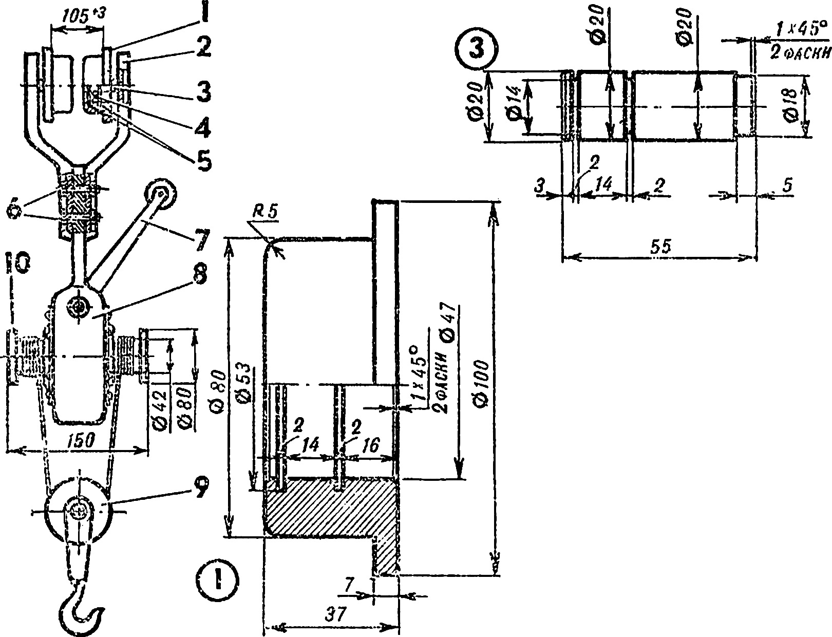
В качестве грузовой лебедки можно было бы использовать ручную таль или полиспаст заводского изготовления. Однако я сделал себе лебедку сам (рис. 3) - из механизма, предназначенного для регулировки пневмотормозов у грузовых автомобилей (с трещоткой).
Рис. 3. Грузовая лебедка с тележкой (нажмите для увеличения): 1 - колесо (4 шт.), 2 - щека тележки, 3 - валик, 4 - подшипник № 204, 5 - стопорные кольца, 6 - болты М12, 7 - рукоятка привода, 8 - лебедка, 9 - шкив с грузовым крюком, 10 - реборда
Центральное отверстие червячного колеса расточил под тросовый барабан - отрезок трубы Ø 42 и длиной 150 мм; вварил эту трубу. Затем поставил реборды - кольца Ø 80 и толщиной 5 мм. Прикрепил приводную рукоятку к первичному валу трещотки.
В обеих половинах барабана просверлил отверстия, куда вывел концы стального троса Ø 4 мм, навесил на него одноручьевой шкив с грузовым крюком. Если вращать рукоятку, барабан наматывает трос и поднимает на крюке груз на нужную высоту.
Полученную таким образом лебедку я снабдил четырехколесной тележкой. Она состоит из двух изогнутых щек с валиками, на которые надеты подшипники № 204 с напрессованными на них колесами. Последние на валиках удерживаются пружинными стопорными кольцами.
Тележка перемещается по горизонтальным полкам уголков, и от соскакивания ее предохраняет болт-ограничитель с упорными втулками, установленный на конце стрелы.
Автор: А.Лазарев
Рекомендуем интересные статьи раздела Личный транспорт: наземный, водный, воздушный:
▪ Пешком по морю
▪ Повышение надежности снегохода Буран
▪ Модернизация двигателя ММВЗ-3115
Смотрите другие статьи раздела Личный транспорт: наземный, водный, воздушный.
Читайте и пишите полезные комментарии к этой статье.
<< Назад
Последние новости науки и техники, новинки электроники:
Дети, растущие рядом с природой, обретают крепкие кости
02.03.2026
Влияние окружающей среды на здоровье человека становится все более очевидным, особенно в детском возрасте. Новое исследование, опубликованное в журнале JAMA Network Open, показывает, что близость к природе напрямую связана с крепостью костей у детей. Ученые установили, что у детей, чьи дома окружены природными территориями в радиусе 1000 метров на 25% больше обычного, риск развития крайне низкой плотности костей снижается на 65%.
Для проведения исследования были проанализированы данные более 300 детей, проживающих в городских, пригородных и сельских районах Фландрии в Бельгии. Плотность костной ткани у детей в возрасте от четырех до шести лет оценивалась с помощью ультразвуковых методов. Такой подход позволил безопасно и точно измерить состояние костей на ранних этапах формирования скелета.
При анализе учитывались ключевые факторы, влияющие на рост и развитие детей: возраст, вес, рост, этническая принадлежность и уровень образования матери. На основании этих параметров исследоват ...>>
Самовосстанавливающаяся инфраструктура будущего
02.03.2026
Современные мосты и бетонные конструкции по всему миру сталкиваются с проблемой устаревания и износа. Многие сооружения, построенные до 1980-х годов, постепенно теряют свою несущую способность, что требует дорогого ремонта или полной замены. Недавние разработки ученых из Швейцарских федеральных лабораторий материаловедения и технологий (Empa) предлагают инновационное решение - систему укрепления бетонных конструкций с помощью "умной стали", способной самостоятельно устранять трещины и повреждения.
В основе новой технологии лежит арматура из сплава на основе железа с эффектом памяти формы (Fe-SMA). Этот материал обладает уникальным свойством: при нагревании до 190-200 °C стержни стремятся вернуться к своей первоначальной конфигурации. В бетонной конструкции это создает внутреннее напряжение, которое затягивает трещины и выравнивает деформированные элементы, существенно повышая прочность и долговечность сооружений.
Актуальность разработки объясняется критическим состоянием инфрастр ...>>
Поцелуи полезны для здоровья
01.03.2026
Вопрос о том, как социальные связи и близость с партнером отражаются на здоровье человека, привлекает внимание не только психологов, но и специалистов в области микробиологии. Новое исследование показывает, что совместное проживание с любимым человеком может оказывать значительное влияние на микробиом кишечника и общее самочувствие.
Доктор Наоми Миддлтон, клинический психологи и эксперт по здоровью кишечника, объяснила, что все аспекты совместной жизни - поцелуи, совместное питание, физическая близость и даже просто пребывание рядом - тесно связаны с поддержанием сбалансированной кишечной микрофлоры. Она подчеркивает, что здоровье экосистемы кишечника во многом определяется социальными взаимодействиями и повседневной близостью с другими людьми.
По словам Миддлтон, длительное совместное пребывание с партнером может способствовать увеличению микробного разнообразия в кишечнике, а также снижать воспалительные процессы, связанные со стрессом. Такой эффект обусловлен тем, что микробио ...>>
Случайная новость из Архива Перспективы альтермагнетизма для сверхбыстрой электроники
12.12.2024
Магнитные свойства материалов играют ключевую роль в создании современных технологий - от магнитных хранилищ данных до сенсоров и процессоров. Ученые давно изучают магнитные явления и различают материалы с сильными, слабыми или вовсе отсутствующими магнитными свойствами. Однако недавнее открытие физиков может перевернуть представления о магнетизме: они доказали существование альтермагнетизма - нового типа магнитного поведения, которое открывает перспективы для создания более быстрых и эффективных электронных устройств.
Альтермагнетизм как явление обсуждался в научной среде на протяжении последних четырех лет, но только сейчас физики смогли экспериментально подтвердить его существование. С помощью мощного рентгеновского микроскопа исследователи получили убедительные доказательства альтермагнетизма, изучая уникальные свойства кристаллической структуры нового материала.
Чтобы понять уникальность альтермагнитных материалов, стоит вспомнить существующие типы магнетизма. Например, ферромагнитные материалы (такие как железо) сильно реагируют на магнитные поля, потому что их электроны вращаются параллельно друг другу, создавая устойчивое магнитное поле. Именно такие материалы используются для создания жестких дисков и магнитных накопителей. В антиферромагнитных материалах электроны соседних атомов вращаются в противоположных направлениях, нейтрализуя магнитное поле и делая материал невосприимчивым к внешним магнитным воздействиям.
Альтермагнитные материалы, как выяснили ученые, объединяют свойства обоих типов магнетизма. Электроны в них вращаются особым образом внутри кристаллической решетки, образуя сложные магнитные структуры. Именно это поведение и придает материалам их уникальные альтермагнитные характеристики, которые позволяют добиться высокой скорости обработки информации.
В ходе экспериментов физики впервые зафиксировали альтермагнитные свойства у теллурида марганца - сплава марганца и теллура. С помощью рентгеновского микроскопа ученые наблюдали магнитные вихри внутри кристаллической структуры этого материала в масштабе 100 нанометров. Кроме того, они смогли изменять альтермагнитную конфигурацию материала различными методами, что подтверждает гибкость и потенциал управления его свойствами.
По мнению исследователей, использование альтермагнитных материалов позволит в 1000 раз увеличить скорость обработки и хранения данных по сравнению с традиционными магнитными накопителями. Это открывает широкие перспективы для создания сверхбыстрых и надежных электронных устройств, которые могут стать основой будущей электроники.
Однако теллурид марганца не подходит для массового производства из-за его токсичности. Поэтому следующая задача ученых - найти альтермагнитные материалы, безопасные и доступные для промышленной обработки. Исследователи предполагают, что около 100 различных сплавов могут обладать альтермагнитными свойствами, и их предстоящее изучение станет ключевым этапом на пути к практическому применению этой технологии.
|
Другие интересные новости:
▪ Компьютерная мышь умеет печатать
▪ Депрессия и ГНСС
▪ Силиконовый чип для искусственной сетчатки
▪ Сверхбыстрый интернет от Google
▪ TWS-наушники Urbanista Phoenix с встроенной солнечной батареей
Лента новостей науки и техники, новинок электроники
Интересные материалы Бесплатной технической библиотеки:
▪ раздел сайта История техники, технологии, предметов вокруг нас. Подборка статей
▪ статья Крестьянин ахнуть не успел, как на него медведь насел. Крылатое выражение
▪ статья Кто такие варвары? Подробный ответ
▪ статья Какао настоящее. Легенды, выращивание, способы применения
▪ статья Компьютеры. Работа с CAD-программами. Справочник
▪ статья Блок питания для 42 В электропаяльника. Энциклопедия радиоэлектроники и электротехники
Оставьте свой комментарий к этой статье:
Главная страница | Библиотека | Статьи | Карта сайта | Отзывы о сайте

www.diagram.com.ua
2000-2026