Бесплатная техническая библиотека
Долгая жизнь мотора. Личный транспорт

Справочник / Личный транспорт: наземный, водный, воздушный
Комментарии к статье
В таких технических видах спорта, как мотоциклетный, автомобильный, картинг, и начинающему спортсмену, и более опытному мастеру во время соревнований или на тренировках подчас приходится сходить с дистанции из-за технического дефекта двигателя, в частности поломки кривошипно-шатунного механизма.
Такие спортивные машины, как карт, серийно выпускаемые двумя заводами, имеют двигатели от мотоциклов "Ковровец", "Восход", М-105, М-106 с рабочим объемом двигателя 125-175 см3. Моторы этих марок не отвечают многим требованиям, которые предъявляют к ним спортсмены во время соревнований и тренировок. При работе с максимальными нагрузками причиной частого выхода двигателей из строя является подшипник нижней шейки шатуна коленчатого вала, оказывающийся в критические моменты в условиях недостаточной смазки.
На Харьковской областной станции юных техников, в лаборатории автоконструирования разработан и изготовлен опытный вариант двухтактного двигателя с принудительной системой смазки нижнего подшипника шатуна. Принцип работы этой системы заключается в том, что масло подается в нижний подшипник шатуна не насосом, а за счет разрежения в кривошипно-шатунной камере.
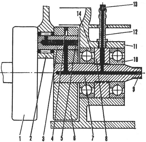
Экспериментальные работы проводились на серийном отечественном мотоциклетном двигателе М-106. Путем выпрессовки пальца нижней головки шатуна коленчатый вал разбирается на пять основных деталей: левая щека, правая щека, шатун, сепаратор с роликами, коренной палец. Затем в левой щеке коленчатого вала сверлится радиальное отверстие Ø 3,5 мм; ось его должна пересечь оси коренного пальца коленчатого вала и коренной шейки щеки кривошипа. В коренной шейке левой щеки коленчатого вала, в зоне лабиринтного уплотнения, перпендикулярно .к оси шейки сверлится отверстие Ø 2,5 мм. Ввиду того что коренной палец кривошипно-шатунного механизма изготовлен из высоколегированной стали и имеет повышенную твердость, процесс сверления крайне затруднен. Лучше отверстие проделывать на электроискровом станке.
Большую роль в обеспечении эффективной работы системы смазки играет правильный выбор места сверления масляного канала в коренной шейке левой щеки коленчатого вала. Каналы, выполненные в лабиринтном уплотнении и в коренной шейке, должны совпадать в тот момент, когда при повороте коленчатого вала от нижней мертвой точки нижняя кромка юбки поршня совпадает с нижней кромкой всасывающего окна. В этот момент в кривошипно-шатунной камере двигателя образуется максимальное разрежение, что необходимо для полноценной подачи масла в нижнюю шейку шатуна.
Схема модернизированного шатунно-кривошипного узла: 1 - щека кривошипа (правая), 2 - шатун в сборе с роликами, 3 - палец шатунный, 4, 5, 9 - заглушки, 6 - щека кривошипа (левая), 7 - коренная шейка кривошипа (левая), 8 - лабиринтное уплотнение, 10, 14 - подшипники, 11 - картер, 12 - штуцер подвода смазки, 13 - дозирующий жиклер
Необходимо изготовить две новые детали двигателя: лабиринтное уплотнение, которое служит как для герметизации кривошипно-шатунной камеры, так и для подачи масла в коренную шейку шатуна, и штуцер. Последний крепится непосредственно на левой половинке картера. В нем предусматривается установка дозирующего жиклера, регулирующего подачу масла в нижнюю головку шатуна коленчатого вала. Для подвода масла к штуцеру должен быть изготовлен отдельный резервуар емкостью 200 мл, соединенный со штуцером маслопровода. В связи с тем, что лабиринтное уплотнение устанавливается на место коренного подшипника, находящегося вблизи кривошипно-шатунной камеры, необходимо заменить уплотнительный сальник на подшипник качения № 204. Путем запрессовки лабиринтное уплотнение устанавливается в посадочное место картера, где также сверлится отверстие Ø 4 мм и нарезается резьба М5 для установки штуцера. Необходимо полное совпадение отверстий на лабиринтном уплотнении и его посадочном месте.
Масляный бачок устанавливается в любом удобном месте, но желательно, чтобы уровень масла в нем был выше уровня установленного на картере штуцера.
Предлагаемого количества масла при правильном подборе дозирующего жиклера в системе смазки вполне достаточно для работы двигателя в интенсивном режиме при пробеге 20-25 км.
Система смазки кривошипно-шатунного механизма увеличивает надежность и срок работы двигателя на максимальных оборотах коленчатого вала.
Автор: Л.Пройдисвет
Рекомендуем интересные статьи раздела Личный транспорт: наземный, водный, воздушный:
▪ Шагоплав
▪ Аэросани Триумф
▪ Бережный багажник
Смотрите другие статьи раздела Личный транспорт: наземный, водный, воздушный.
Читайте и пишите полезные комментарии к этой статье.
<< Назад
Последние новости науки и техники, новинки электроники:
Алкоголь может привести к слобоумию
29.11.2025
Проблема влияния алкоголя на стареющий мозг давно вызывает интерес как у врачей, так и у исследователей когнитивного старения. В последние годы стало очевидно, что границы "безопасного" употребления спиртного размываются, и новое крупное исследование, проведенное международной группой ученых, вновь указывает на это. Работы Оксфордского университета, выполненные совместно с исследователями из Йельского и Кембриджского университетов, показывают: даже небольшие дозы алкоголя способны ускорять когнитивный спад.
Команда проанализировала данные более чем 500 тысяч участников из британского биобанка и американской Программы миллионов ветеранов. Дополнительно был выполнен метаанализ сорока пяти исследований, в общей сложности включавших сведения о 2,4 миллиона человек. Такой масштаб позволил оценить не только прямую связь между употреблением спиртного и развитием деменции, но и влияние генетической предрасположенности.
Один из наиболее тревожных результатов касается людей с повышенным ге ...>>
Искусственный мозговой матрикс
29.11.2025
Биоинженерия стремительно выходит за пределы традиционной работы с клетками и биоматериалами. Ученые пытаются не просто выращивать ткани, но и воссоздавать механизмы, управляющие жизнью клеток в реальном организме. Одним из наиболее амбициозных направлений стала разработка искусственных матриксов, которые могли бы подменить природную среду и дать исследователям возможность изучать работу мозга без участия биологических компонентов. На этом фоне работа специалистов Калифорнийского университета в Риверсайде представляет собой особенно заметный шаг вперед.
В центре их исследования - платформа BIPORES, созданная полностью из синтетических веществ. Цель проекта заключалась в попытке смоделировать сложную, многослойную структуру внеклеточного матрикса, который в настоящем мозге обеспечивает питание, связь и организацию нервных клеток. При этом разработчики сознательно отказались от каких-либо белков, традиционно необходимых для прикрепления клеток, таких как ламинин или фибрин. Это решени ...>>
Ранняя Вселенная не была ледяной
28.11.2025
Понимание того, как формировались первые структуры во Вселенной, требует взгляда в эпохи, в которых не существовало ни звезд, ни галактик, ни привычных нам источников света. Научные группы по всему миру пытаются восстановить картину тех времен при помощи слабейших радиосигналов, оставшихся от водорода, который наполнял космос вскоре после Большого взрыва. Новые результаты, полученные на радиотелескопе Murchison Widefield Array в Австралии, неожиданным образом меняют представление об этих ранних этапах.
Сразу после Большого взрыва, произошедшего около 13,8 миллиарда лет назад, пространство стремительно расширялось и остывало. Через несколько сотен тысяч лет образовался нейтральный водород, и началась так называемая эпоха тьмы, когда Вселенная была лишена источников излучения. Лишь значительно позже гравитация собрала газ в плотные области, где зародились первые звезды и ранние черные дыры, а их интенсивное излучение привело к реионизации водорода и окончательному появлению света.
...>>
Случайная новость из Архива Электронный язык мгновенно различает остроту пищи
04.11.2025
Определить, насколько острым окажется соус или перец, бывает сложно даже для опытных дегустаторов. Внешний вид продукта не всегда отражает его жгучие свойства, а лабораторные методы требуют времени и сложного оборудования. Чтобы устранить эту неопределенность, группа ученых создала искусственный язык, способный точно измерять степень остроты продуктов. Разработка основана на взаимодействии веществ, сходных с белками молока, которые нейтрализуют капсаицин - активный компонент перца чили.
Основой для вдохновения стали казеиновые белки, содержащиеся в молоке и связывающие капсаицин, благодаря чему ощущение жжения уменьшается. Исследователи использовали этот принцип и включили сухое молоко в структуру своего гелевого сенсора. Получившийся материал способен определять капсаицин и другие раздражающие соединения, например те, что придают жгучесть чесноку, имбирю или хрену. Описание эксперимента опубликовано в журнале ACS Sensors.
Современные методы анализа вкусовых свойств - будь то определение сладости, кислотности или остроты - обычно требуют участия людей или дорогостоящих приборов. Искусственные языки уже применяются для распознавания вкусов вроде сладкого или умами, однако измерить жгучесть было особенно трудно. Команда исследователей решила эту задачу, создав электрохимический гель, способный улавливать изменения электрического тока при связывании молочного белка с капсаицином.
Чтобы придать материалу форму и чувствительность, ученые смешали акриловую кислоту, хлорид холина и обезжиренное сухое молоко, после чего обработали полученную массу ультрафиолетом. Так возникла гибкая гелевая пленка, напоминающая язык по форме. Когда на ее поверхность нанесли капсаицин, через десять секунд сила электрического тока снизилась - что подтвердило успешное взаимодействие сенсора с раздражающим веществом.
Эксперименты показали, что искусственный язык способен реагировать даже на концентрации капсаицина, недоступные человеческому восприятию, и продолжает фиксировать изменения при уровнях, превышающих болевой порог человека. Более того, устройство одинаково точно определяло жгучие вещества в перце, чесноке, черном перце, луке и имбире - ингредиентах, часто используемых для приготовления острых блюд и соусов.
Чтобы проверить практическую надежность технологии, исследователи протестировали восемь сортов перца и восемь готовых острых продуктов, включая соусы. Одновременно с работой сенсора команда дегустаторов оценивала образцы на вкус. Сравнение показало, что результаты искусственного языка совпадали с субъективными ощущениями людей, но при этом система работала значительно быстрее и без риска для здоровья участников.
Руководители проекта отмечают, что искусственный язык может стать эффективным инструментом для пищевой промышленности и медицины. Он позволит стандартизировать уровень остроты в продуктах, исключая человеческий фактор, а также применяться при разработке новых рецептур, где важно точно регулировать интенсивность жгучести.
|
Другие интересные новости:
▪ Гигиена от A до Z
▪ Микрочипы в мозгу двух крыс объединили в компьютерную сеть
▪ Свет из канализации
▪ Octospot - экшн-камера для любителей подводного плавания
▪ Мусоропровод для спасения при пожаре
Лента новостей науки и техники, новинок электроники
Интересные материалы Бесплатной технической библиотеки:
▪ раздел сайта Мобильная связь. Подборка статей
▪ статья Сюда я больше не ездок! Крылатое выражение
▪ статья Как появилась игра в бридж? Подробный ответ
▪ статья Веб-дизайнер отдела интернет-маркетинга. Должностная инструкция
▪ статья Микроконтроллер управляет вездеходом. Энциклопедия радиоэлектроники и электротехники
▪ статья Кольца соединяются и разъединяются. Секрет фокуса
Оставьте свой комментарий к этой статье:
Главная страница | Библиотека | Статьи | Карта сайта | Отзывы о сайте

www.diagram.com.ua
2000-2025