Menu Home

Бесплатная техническая библиотека для любителей и профессионалов Бесплатная техническая библиотека


Повышение надежности снегохода Буран. Личный транспорт

Личный транспорт: наземный, водный, воздушный

Справочник / Личный транспорт: наземный, водный, воздушный

Комментарии к статье Комментарии к статье

В конструкции трансмиссии снегохода "Буран" имеется центробежный ускоритель-вариатор. При достаточно интенсивной эксплуатации снегохода этот узел изнашивается в течение двух сезонов. В первую очередь выходят из строя подвижный конус вариатора и кулачки-грузики. Причина столь быстрого износа названных деталей довольно проста: кулачки упираются во впадины подвижного конуса, выдавливая при этом глубокие вмятины. При трогании снегохода с места, когда двигатель начинает развивать обороты, кулачки не могут плавно выйти из этих впадин, происходит резкий рывок ремня вариатора, что приводит, помимо всего прочего, и к быстрому износу ремня. Короче говоря, почти каждый сезон приходится менять подвижный конус, центробежный ускоритель и ремень.

Мне удалось устранить все эти недостатки только после изготовления центробежного ускорителя собственной конструкции, представленного на чертеже. Заготовка для крестовины, ролики, втулки и пальцы вытачиваются на токарном станке. Щеки можно вырезать из 4-мм листовой стали простой ножовкой, а затем обработать напильником и просверлить отверстия. Втулки, ролики и крестовину необходимо закалить. От старого, заводского ускорителя я использовал только защитный кожух.

Повышение надежности снегохода Буран
Центробежный ускоритель (нажмите для увеличения): 1 - направляющая; 2 - шайба; 3 - щека; 4 - ролик; 5 - втулка; 6 - крестовина; 7 - палец

Предлагаемая переделка увеличивает срок службы конуса вариатора и уменьшает проскальзывание ремня, тем самым улучшая тяговые свойства, а следовательно, и повышая скорость. Появилась возможность использовать ремень без замены до пробега в 200 км.

Автор: Б.Павлов


В нашем домашнем гараже есть видавший виды снегоход "Буран". Не буду высказывать свое отношение к нему в целом, поскольку мнения владельцев по этому поводу расходятся. Однако работа его сердца - мотора всегда вызывала не только беспокойство, но и из года в год требовала "хирургического" вмешательства. Каждое лето, готовя эти "сани" к зимнему сезону, в двигателе из-за износа что-то меняли: то кольца, то вкладыши, то поршни.

Насколько мне известно, эти проблемы, возникающие при эксплуатации двигателя РМЗ-600, не дают спокойно спать и другим владельцам "буранов", а сам мотор до сей поры уже несколько десятилетий будоражит умы отечественных Кулибиных, пытающихся довести конструкцию "до ума". Мы же пошли иным путем, решив заменить штатный силовой агрегат другим, подходящим.

Идея установки двигателя от мотопомпы МП-80 на снегоход "Буран" принадлежит моему сыну Владимиру, поскольку эксплуатирует и ремонтирует его в основном он. Сын же и подбирал необходимые запасные части для нового мотора, поскольку на момент появления идеи в наличии имелись лишь цилиндры и блок-картер. Он же осуществлял в основном и переделку, а я лишь помогал ему, когда у него не хватало времени или навыков в изготовлении отдельных сложных деталей.

О двигателе от мотопомпы МП-80. Это двухцилиндровый, двухтактный мотор рабочим объемом около 700 см3 (по 349 см3 в каждом цилиндре) и мощностью 28 л.с. жидкостного охлаждения (тепло от цилиндров отбиралось протоком качаемой воды). Максимальное число оборотов - 4800 в минуту. Его коленчатый вал - четырехопорный, уложен в мощных роликовых подшипниках. Хорошо продумана система его смазки. Нижние части шатунов установлены на коренных шейках тоже в роликовых подшипниках. Причем ролики - без сепараторов, набраны вплотную друг к другу. Такое решение шатунного подшипникового узла я уже не раз использовал ранее при переделке двигателей (например, при спаривании двух моторов "Иж-Планета"). В таком узле удар от шатуна приходится не на один ролик, а распределяется между несколькими. Мотор очень неприхотлив и может сутками качать воду.

Поршни к двигателю МП-80 подошли от мотоцикла "Иж-Планета". Кстати сказать, они в пять раз дешевле "бурановских", хотя последние хуже по качеству - даже прогорают. Поршневые кольца оказались более тугими, чем положено, но со временем притерлись.

Мотор МП-80 рассчитывался для работы на бензине марки А-66 или А-72. Сейчас такого бензина на заправках попросту нет. Поэтому головки цилиндров пришлось "шлифануть" на один миллиметр, чтобы уменьшить объем камеры сгорания и приспособить их под бензин Аи-80. Замер изменения мощности не производили, но за счет такого форсирования она должна бы, конечно, увеличиться.

Глушитель двигателя оставили штатный - от МП-80, но его усовершенствовали, а точнее дополнили самодельным баллоном-резонатором, подсоединив к глушителю через гибкий гофрированный рукав. При этом и новый двигатель, и дополнительный резонатор компактно уместились под штатным капотом.

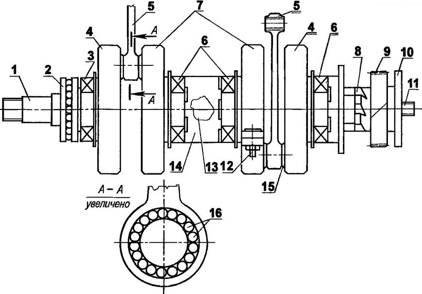
Повышение надежности снегохода Буран
Модернизированный коленчатый вал силового агрегата от мотопомпы МП-80, приспособленного для снегохода "Буран", в сборе (нажмите для увеличения): 1 - левая (по ходу) полуось; 2 - упорный подшипник 8207; 3 - роликовый подшипник 42207; 4 - наружные (цельные) щеки шатунов; 5 - шатуны; 6 - роликовые подшипники 2306; 7 - внутренняя (разрезанная) щека шатуна; 8 - храповая муфта кикстартера; 9 - косозубая шестерня кикстартера; 10 - полумуфта магнето; 11 - правая полуось; 12 - стяжной болт (2 шт.); 13 - центральный вал; 14 - дистанционная муфта; 15 - коренная шейка шатуна (2 шт.); 16 - ролики бессепараторного подшипника (по потребности, 2 компл.)

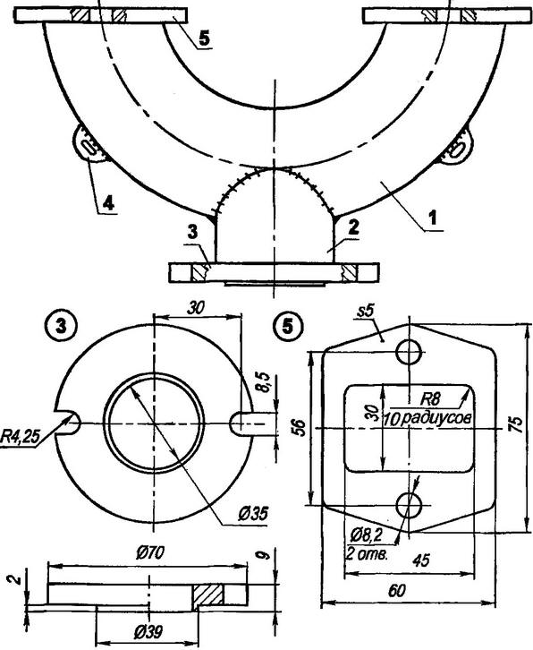
Повышение надежности снегохода Буран
Полуоси коленчатого вала: а - правая; б - левая; штрих-пунктирной линией показаны очертания исходной детали - штатной полуоси

Забегая вперед, отмечу, что выхлоп стал мягче и его можно сравнить с выхлопом четырехтактного двигателя. Работу мотора на средних оборотах не слышно уже на расстоянии 40 м, а на холостом ходу - 7-8 м. Но главное преимущество оказалось в другом. Так, на "Буране" выхлопные газы направлялись глушителем через корпус снегохода вниз - там всегда образовывалась наледь, куски которой приходилось в поездках отколачивать. Теперь выхлопные газы выходят с правого борта в сторону совсем не попадая на водителя и пассажира. Старое отверстие под глушитель в корпусе закрыли приваренной накладкой.

Важная самодельная дополнительная деталь - специальный фланец, на который крепятся генератор (вместо штатного магнето МП-80) и пусковой механизм от "Бурана". Фланец пришлось не только самому точить на токарном станке, но и отливать для него болванку, так как нигде не нашел подходящей массивной заготовки.

Материалом для болванки послужили старые дюралюминиевые поршни, которые наколол и расплавил в ковше, изготовленном из консервной банки. Диаметр ковша около 220 мм, а высота - почти 90 мм. Плавил в кузнечном горне в конце смены, оставив расплав в ковше на затухающем огне на всю ночь. Наутро ковш с застывшим металлом разрезал болгаркой, разодрав стенки "розочкой", и вытащил болванку. Отливка имела различную структуру: пористую - в верхнем слое и плотную (примерно на 2/3 высоты) - в нижних слоях, которая и была использована для изготовления фланца.

Здесь же отмечу, что фланец сажается на шпильки М8 и крепится гайками к блок-картеру. При монтаже фланца надо сначала насадить его на шпильки так, чтобы они лишь немного выступали из отверстий. Затем на все шпильки слегка наживить гайки и по очереди их равномерно закручивать.

Еще во фланце "по месту" сверлится отверстие под провода и выполняются два диаметрально противоположных паза под винты М5. Пазы при ослабленных винтах позволяют поворачивать фланец по часовой стрелке (или против), что дает возможность установить более раннее (или позднее) зажигание - менять угол замкнутого состояния контактов прерывателя.

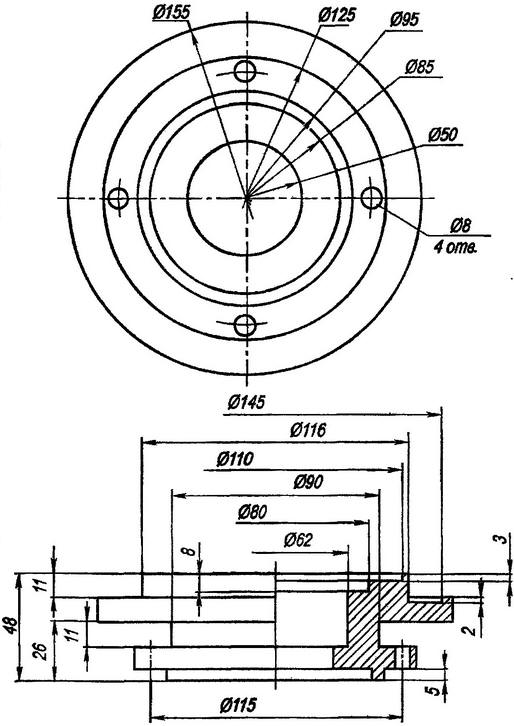
Повышение надежности снегохода Буран
Специальный фланец

Кроме головок цилиндров переделкам подверглись и некоторые другие детали двигателя МП-80. В первую очередь это касается его коленчатого вала, а точнее его крайних частей (назовем их условно полуосями: правой и левой, ориентируясь по ходу). Для этого двигатель разобрали: сняли цилиндры, блок-картер "располовинили".

Начнем с левой полуоси. В заводском исполнении для МТ-80 конструктор как будто предугадал, что его мотор поставят на "Буран". А потому оставлены на месте оба ее подшипника: и опорный роликовый 42207, и упорный шариковый 8207. Можно было бы сохранить прежней и длину оси. Но тогда бы была излишне длинная ее консольная выступающая часть, что при смещении шкива вариатора вызвало бы дополнительные нагрузки на подшипники. К тому же, пришлось бы еще переделывать узел ведомого шкива.

Поэтому все же решили полуось укоротить, хотя и ненамного - всего лишь на 18 мм, перенеся, соответственно, все поперечные и продольные размеры с конца вала вглубь. При определении длины консольной части полуоси "плясали" от концов шпилек крепления корпуса сальника - после напрессовки правого диска шкива на полуось до упора в буртик он все же не должен доходить до торцов шпилек хотя бы на 3 мм.

Полуось имеет заводские центровочные отверстия-гнезда, поэтому обработка ее концевой консольной части затруднений не вызвала, хотя и потребовалось строго выдержать допуски для посадки правого диска шкива и подшипника 205 холостого хода вариатора. На резьбовой конец полуоси навинчивается бурановская втулка левого крайнего диска с грузиками шкива вариатора.

Теперь о правой полуоси. Прежде всего с нее снимаются все сидящие на ней детали. Свободная полуось обрезается под корень щеки кривошипа. После этого с другой стороны щеки (там имеется центровочное гнездо) сверлится отверстие диаметром 28 мм, а затем растачивается до диаметра 29 - 0,05 мм.

Правая полуось выгачивается новая (ее размеры приведены в чертеже) - сначала с припусками 2 мм, а затем - точно в размеры. Для посадки щеки на полуось щеку нагревали. После того проверили биение всего коленчатого вала и устранили излишнее. Далее, установив кривошип правого шатуна в положение верхней мертвой точки, на полуоси профрезеровали шпоночный паз для ротора генератора.

Система охлаждения мотора в мотопомпе МТ-80 была совсем простой - цилиндры охлаждались протоком закачиваемой воды. Поэтому для использования на снегоходе систему охлаждения пришлось конструировать заново. Основной трудностью при этом было то, что она (система) должна быть компактной и умещаться вместе с двигателем под штатным капотом. Но и эта задача была решена даже с теми комплектующими узлами, которые имелись в наличии или которые удалось раздобыть.

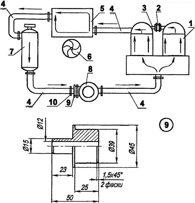
Повышение надежности снегохода Буран
Схема жидкостного охлаждения двигателя МП-80 на снегоходе "Буран-плюс": 1 - двигатель; 2-муфта (отрезок резиновой трубки); 3-трубка (штатная, разрезанная); 4-шланги (резиновая трубка O вн. 14); 5-радиатор (печка от трактора ДТ-75); 6 - вентилятор (от снегохода "Буран"); 7-расширитель (бензобак от пускового двигателя ДТ-75); 8-насос (помпа от автомобиля ВАЗ-2101); 9-переходник (сталь, круг 45); 10-хомут (9 шт.)

Самая объемная деталь (или узел) - радиатор. В его качестве приспособили обогреватель (печку) от трактора ДТ-75 практически без переделок. А расширителем послужил бензобак пускового двигателя того же трактора. Только в системе охлаждение он установлен "на попа" (вертикально). Поскольку радиатор расположен под капотом, да еще боком к направлению движении (а следовательно, и к встречному воздушному потоку), то его снабдили еще вентилятором, который расположили между радиатором и правым цилиндром, прикрепив корпус к картеру. Вращение вентилятора вместе с насосом осуществляется от коленчатого вала через шкивы клиноременной передачи.

Насос использован от автомобиля ВАЗ-2101. Его пришлось доработать: заглушить отверстие в торце 3-мм стальной пластиной через резиновую прокладку и, просверлив напротив приемного патрубка отверстие диаметром 12 мм, приварить отвод - отрезок трубы наружным диаметром 15 мм. Поскольку приемный патрубок рассчитан на шланг диаметром 40 мм, а все трубопроводы новой системы имеют внутренний диаметр 14 мм, то пришлось сделать переходник.

Насос крепится к корпусу вентилятора радиатора с помощью кронштейна с прорезью (от генератора ВАЗ-2101) и уголкового кронштейна с осью (втулка приварена к заглушке насоса) - к картеру. Насос имеет возможность поворачиваться на небольшой (но достаточный для натяжения приводного клинового ремня) угол.

Головки цилиндров имеют прокладки, в которых было лишь по одному отверстию около каждого цилиндра. Пришлось пробить специальным пробойником еще по шесть отверстий (исключая места крепления штуцеров), чтобы жидкость не шла по пути наименьшего сопротивления, а обтекала всю головку цилиндров.

Головки цилиндров соединены между собой алюминиевой трубкой. Эту трубку разрезали, рассверлили до диаметра 10 мм и соединили отрезком резинового шланга, затянув его хомутами. Такая переделка предотвратит разгерметизацию соединений трубки и головок цилиндров от вибрации во время работы двигателя.

Для продувки радиатора с целью эффективного охлаждения циркулирующей в нем жидкости, независимо от скорости движения и температуры окружающей среды, установлена еще крыльчатка (вентилятор). Она - от снегохода "Буран", где использовалась для принудительного воздушного охлаждения цилиндров. Вращение крыльчатки, как и насоса (помпы), осуществляется от коленчатого вала через шкивы клиноременной передачи. А чтобы крыльчатка не гнала воздух мимо радиатора, она заключена в кожух, а все щели в самом радиаторе и между ним и кожухом крыльчатки запаяны белой жестью.

Повышение надежности снегохода Буран
Впускной коллектор: 1 - патрубок цилиндров (от выпускной трубы мотоцикла "Иж-Планета"); 2 -  патрубок карбюратора (от той же трубы); 3 - карбюраторный фланец (стальной лист s6); 4 - ушко крепления карбюратора (стальной лист s3, 2 шт.); 5 - фланец цилиндра (стальной лист s5)

Для двигателя МП-80 купили новый карбюратор К-68 "Пекар". Для него пришлось сделать из выхлопной трубы мотоцикла "Иж-Юпитер" другой впускной коллектор.

Повышение надежности снегохода Буран
Доработка подмоторной площадки: 1 - рессора (2 шт.); 2 - площадка (стальной лист s3); 3 - крепление площадки к реcсоре (болт М8, 6 шт.); 4 - подушка (резина, 4 шт.); 5 - дополнительная пластина (стальной лист s3)

Для закрепления нового силового агрегата на подмоторной площадке "Бурана" ее пришлось удлинить (приварить добавочную поперечную пластину) на 27 мм и выполнить новые пазы для регулировки его местоположения с целью совпадения плоскости вращения вариатора и шкива редуктора. При этом немножко, но неизбежно сфрезеровывались края рессор (что, в общем-то, не страшно). Чтобы шпильки крепления силового агрегата (а точнее, их гайки с шайбами) не перекашивались, на место срезанных концов рессор к площадке снизу приварили такие же по толщине пластинки.

Еще одно изменение на снегоходе коснулось скорее его внешнего вида (так сказать, дизайна), чем конструкции, - это переделка обтекателя. Его "скроили" из двух, установив на нем еще и вторую фару, что придало снегоходу более внушительный вид. Штатную фару сдвинули при этом вправо (по ходу), и она осталась по-прежнему путевой (неподвижной). Вторая же имеет возможность поворачиваться в своем гнезде и даже выниматься из него при необходимости и использоваться как фара-искатель.

В заключение хочется отметить преимущества, которые приобрел старый "Буран" после оборудования его двигателем от мотопомпы МП-80.

Во-первых, жидкостное охлаждение мотора обеспечивает ему стабильный тепловой режим с рабочей температурой около 85°С. Во-вторых, увеличились тяговые характеристики снегохода, что позволяет ему не только спокойно преодолевать более крутые препятствия, но и буксировать тяжело груженные нарты (аж до 800 кг). В третьих, запасные части доступны и дешевы, что тоже немаловажно.

Может быть, упала максимальная скорость. Но снегоход предназначен не для гонок по равнинам и степям. Местность у нас пересеченная, да еще с лесами, где и 45 км/ч - скорость уже запредельная. А наш "Буран-плюс" может катиться и быстрее.

Автор: Вит.Пронин, Вл.Пронин

 Рекомендуем интересные статьи раздела Личный транспорт: наземный, водный, воздушный:

▪ Приспособление для разбортовки и забортовки шин

▪ Складные лодки

▪ Мотонарты

Смотрите другие статьи раздела Личный транспорт: наземный, водный, воздушный.

Читайте и пишите полезные комментарии к этой статье.

<< Назад

Последние новости науки и техники, новинки электроники:

Хорошо управляемые луга могут компенсировать выбросы от скота 15.02.2026

Животноводство, особенно разведение крупного рогатого скота, часто обвиняют в значительном вкладе в глобальное потепление из-за мощного парникового газа - метана, который выделяется при пищеварении у жвачных животных. Это вызывает острые политические споры и призывы к сокращению потребления мяса. Однако ученые напоминают, что полная картина климатического воздействия отрасли не ограничивается только выбросами от животных: огромную роль играет окружающая экосистема - пастбища, почва и растительность, которые способны активно поглощать углекислый газ из атмосферы. Исследователи из Университета Небраски-Линкольна решили глубже изучить этот баланс. Группа под руководством профессора Галена Эриксона сосредоточилась на том, как правильно организованные пастбища накапливают углерод в растениях и грунте благодаря естественным процессам, стимулируемым выпасом скота. Ученые подчеркивают, что при достаточном уровне осадков и грамотном управлении такие луга превращаются в мощные природные погло ...>>

NASA тестирует инновационную технологию крыла 15.02.2026

Коммерческая авиация ежегодно расходует колоссальные объемы керосина, что сказывается не только на бюджете авиакомпаний, но и на состоянии окружающей среды. В 2024 году глобальные затраты на авиационное топливо достигли 291 миллиарда долларов, и эта сумма продолжает расти. Чтобы справиться с этими вызовами, NASA активно работает над технологиями, способными заметно повысить аэродинамическую эффективность самолетов. Одним из самых перспективных направлений стало создание специальной конструкции крыла, которая максимизирует естественный ламинарный поток воздуха и минимизирует сопротивление. В январе 2026 года специалисты NASA Armstrong Flight Research Center успешно провели важный этап наземных испытаний концепции Crossflow Attenuated Natural Laminar Flow (CATNLF). Для эксперимента под фюзеляж исследовательского самолета F-15B закрепили вертикально ориентированную масштабную модель высотой около 0,9 м (3 фута), напоминающую узкий киль. Такая компоновка позволила подвергнуть прототип р ...>>

Забота о внуках очень полезна для здоровья мозга 14.02.2026

Общение между поколениями приносит радость всей семье, но мало кто задумывается, насколько активно бабушки и дедушки, заботящиеся о внуках, поддерживают свою умственную форму. Регулярное взаимодействие с детьми стимулирует мозг пожилых людей, помогая сохранять память, скорость мышления и общую когнитивную активность. Новые научные данные подтверждают, что такая добровольная помощь не только важна для общества, но и может замедлять возрастные изменения в мозге. Исследователи из Тилбургского университета в Нидерландах провели анализ, чтобы понять, приносит ли уход за внуками реальную пользу здоровью пожилых людей. Ведущий автор работы Флавия Черечес отметила, что многие бабушки и дедушки регулярно присматривают за детьми, и оставался открытым вопрос, насколько это положительно сказывается на их собственном благополучии, особенно в плане когнитивных функций. Ученые поставили цель выяснить, способен ли регулярный уход за внуками замедлить снижение памяти и других умственных способ ...>>

Случайная новость из Архива

Финская энергия ветра превзошла энергию воды 20.12.2024

Финляндия совершила исторический прорыв в энергетике, сделав ветер основным источником электричества, впервые обойдя гидроэнергию. Всего несколько лет назад вклад ветровой энергии в общий баланс производства был минимален, но сегодня она составляет около пятой части всей вырабатываемой электроэнергии, а в лучшие дни эта доля превышает половину.

Энергия ветра стала важнейшим элементом энергетической системы страны, символизируя ее переход к более устойчивым источникам энергии. Финляндия активно инвестирует в развитие ветровой энергетики, видя в этом огромный потенциал. Многие эксперты отмечают, что страна способна не только полностью удовлетворить свои потребности, но и стать важным энергетическим узлом для всей Европы.

Исследователь Университета LUT Петтери Лааксонен подчеркивает, что ресурсы Финляндии позволяют значительно увеличить производство экологически чистой энергии. По его оценкам, совокупная мощность ветровых и солнечных электростанций могла бы в 34 раза превзойти текущее производство электроэнергии в стране. Это открывает перспективу для Финляндии стать ведущим производителем зеленой энергии на континенте.

"Мы можем производить более 10% будущих потребностей Европы в электроэнергии", - утверждает Лааксонен, подчеркивая стратегическую важность финских ветроэнергетических проектов.

Успех Финляндии объясняется сочетанием передовых технологий, политической поддержки и удачного географического положения, которое позволяет эффективно использовать ветровые ресурсы. Развитие ветровой энергетики сопровождается строительством современных инфраструктур, что создает новые рабочие места и стимулирует экономику.

Переход к ветровой энергии также играет ключевую роль в борьбе с изменением климата. Финляндия демонстрирует, что устойчивое развитие энергетики возможно без ущерба для экономического роста. Более того, страна превращает эту задачу в стратегическое преимущество, укрепляя свою позицию на энергетической карте Европы.

Таким образом, финская ветровая энергетика уже не просто источник энергии, а символ глобального перехода к чистым технологиям. Финляндия показывает пример того, как можно сочетать экологическую ответственность и экономическую эффективность, двигаясь к устойчивому и независимому будущему.

Другие интересные новости:

▪ Новая серия камер от CANON

▪ Термопот Instant Hot Water Dispenser

▪ Искусственный синтез белков

▪ Крахмал из картошки

▪ Память зависит от времени суток

Лента новостей науки и техники, новинок электроники

 

Интересные материалы Бесплатной технической библиотеки:

▪ раздел сайта Зрительные иллюзии. Подборка статей

▪ статья Марс. Сын Марса. Марсово поле. Крылатое выражение

▪ статья Как дельфины решают проблемы дыхания атмосферным кислородом во время сна? Подробный ответ

▪ статья Читауан. Чудо природы

▪ статья Бегущая строка на микроконтроллере. Энциклопедия радиоэлектроники и электротехники

▪ статья Растертое яйцо. Секрет фокуса

Оставьте свой комментарий к этой статье:

Имя:


E-mail (не обязательно):


Комментарий:




Комментарии к статье:

Сергей
Это изначально делали как только появился буран я коромысло эаменил стальным конусом а грузики точил круглые и резал пополам 89212762137 звони

Гость
Я тоже ставил мотор помпы на буран.Использовал правую крышку движка от бурана(зажигание, стартер) помпа Вазовская, привод от шкива закрепленного к вентилятору с внутренней стороны. Радиатор установил наклонно от копейки, а вместо фары вентилятор.Ездил и вывозил мясо два сезона. Отломился коленвал вместе с вариатором. Горе-токарь не сделал галтели.Движок был лучше бурановского, тяговитый и не перегреешь. Молодцы, постарались. Я рад за вас!


Главная страница | Библиотека | Статьи | Карта сайта | Отзывы о сайте

www.diagram.com.ua

www.diagram.com.ua
2000-2026