Menu Home

Бесплатная техническая библиотека для любителей и профессионалов Бесплатная техническая библиотека


Разборный надувной парусный катамаран. Личный транспорт

Личный транспорт: наземный, водный, воздушный

Справочник / Личный транспорт: наземный, водный, воздушный

Комментарии к статье Комментарии к статье

Любителям водного туризма, живущим далеко от крупных водоемов: рек, озер и морей, чтобы отправиться в плавание, нужно доставить к "большой воде" и само плавсредство. А для этого оно уже по конструкции должно быть мобильным: складывающимся или разбирающимся.

Передо мной стояла непростая задача - построить вместительное, надежное, остойчивое, даже мореходное плавсредство небольшой массы, которое можно было бы перевозить в купе железнодорожного вагона и в общественном транспорте. Хотя Москва и является портом пяти морей, добраться до любого из них даже на автомобиле совсем не просто. К тому же автомашина принуждает планировать поход по замкнутому маршруту (к ней надо возвращаться), что не всегда желательно.

Так пришел к выводу, что нужно строить разборный парусный катамаран на надувных поплавках. Идея, в общем-то, не новая (сам до этого построил уже не один), но при творческом подходе к делу каждая последующая конструкция получается оригинальной.

Начиная рассказ о катамаране с надувными поплавками и парусным вооружением типа "бермудский шлюп", отмечу, что проектировался и строился он с расчетом использования современных, но общедоступных и сравнительно недорогих материалов на основе как своего опыта, так и опыта других.

Катамаран постоянно модернизировался. Недостатки, проявившиеся в водных походах (порой их протяженность составляла несколько сот километров), устранялись в межсезонье. Однако конструкция совершенствовалась и дооборудовалась без радикальных переделок, поскольку в основе своей судно было спроектировано и построено правильно.

Катамаран снабжен почти всеми типами движителей, применяемых на воде: парусом, подвесным мотором и веслом. Основным, конечно же, является парус. Подвесной мотор используется лишь при полном штиле или встречном ветре, а весло - на мелководье - как шест или как гребок для маневрирования в стесненных условиях.

Поплавки катамарана (а их, понятно, два) - надувные, двухкамерные с продольной перегородкой и дополнительной обшивкой нижней части. Изготовлены они (выкроены и склеены) из материала "феррари" толщиной всего 0,5 миллиметра и плотностью 650 г/м2, шириной в рулоне - 2700 мм - синтетической (ПВХ) воздуховодонепроницаемой пленки с тканевой основой. Материал достаточно прочный, а лицевая его сторона очень гладкая.

Каждый поплавок склеен клеем "Урмоно" из трех отдельно выкроенных полотен, причем выкройки практически одинаковые (если не учитывать припуски на швы).

Два полотна являются оболочками поплавка, а третье - перегородкой, образующей в нормальном (накачанном) состоянии две камеры.

Нормальным названо состояние, когда обе камеры поплавка накачаны, а его оболочки (верхняя и нижняя) не пропускают воздух. При этом перегородка находится в "безразличном" состоянии. Если же одна из оболочек окажется случайно поврежденной и через прокол из камеры выйдет воздух, то перегородка под давлением воздуха из другой камеры примет положение поврежденной, после подкачки уцелевшей.

Есть еще и четвертое полотно. Оно используется как обшивка днищевой передней части поплавка до миделя. Поплавки имеют форму веретена - плавные обводы и круглые сечения по всей длине, что обеспечивает низкое гидродинамическое сопротивление. Примерно на двух третях длины от носа (немного заходя за мачту) проходит мидель и расположены центр величины и точка приложения архимедовой силы. Один важный момент: верхняя камера поплавка короче нижней на 200 мм. И в этом месте "хвост" перегородки приклеивается только к верхней оболочке. Здесь же к ней приклеиваются дополнительные накладки воздушных клапанов, один - до перегородки, другой - после.

Каждый поплавок имеет по три клапана. Два - кормовых (о них уже было сказано) служат как для накачивания воздуха при подготовке катамарана к плаванию, так и для выпуска воздуха из камер при скатывании поплавка в рулон. Третий же клапан, расположенный сверху поплавка в районе его миделя, используется для подкачки с палубы верхней камеры при повреждении нижней непосредственно на воде и на ходу. При этом не только катамаран, но и поврежденный поплавок остается на плаву.

Немного о технологии изготовления (выкройке и склеивании) полотен в поплавки.

Разборный надувной парусный катамаран
Разборный надувной парусный катамаран (нажмите для увеличения): 1 - поплавок (2 шт.); 2 - носовая ванта мачты (2 шт.); 3 - стаксель; 4 - мачта; 5 - грот; 6 - лата грота (8 шт.); 7 - лата стакеселя (2 шт.); 8 - ванта мачты (4 шт.); 9 - гик грота; 10 - рулевое устройство; 11 - шверт; 12 - силовой набор катамарана; 13 - носовой фальшборт (2 шт.); 14 - стаксель-шкот (кевларовый трос); 15 - гик стакселя; 16 - палуба (материал "феррари", s0,5); 17 - узел управления парусами и катамараном; 18 - шнуровка палубы

Примечание.

* На виде сбоку левый поплавок условно не показан, паруса находятся в диаметральной плоскости.

** На виде сверху парусное вооружение условно не показано.

*** На виде спереди паруса находятся в соответствии с курсом фордевинд.

Разметку полотен производим согласно теоретическому чертежу, раскатав рулон материала на полу и зафиксировав его двусторонним скотчем. Отступив от продольного края материала на четверть длины окружности, определенной на миделе поплавка, проводим осевую линию. Желательно, чтобы она совпала с долевой нитью тканевой основы материала. На осевой отложим отрезок, равный образующей поплавка. В намеченных сечениях по диаметру поплавка вычисляем длину окружности и ее четвертую часть откладываем сначала в одну сторону от осевой, а затем в другую. Полученные точки соединяем лекальной линией с помощью гибкой рейки.

По разметке вырезаем обычными ножницами заготовку (это будет перемычка), а по ней - еще одну - для другого поплавка. Положив первую (или вторую) из выкроек на материал, с припуском 20 мм вырезаем следующую заготовку (верхнее полотно), а по ней - еще одну для второго поплавка. По последней заготовке вырезаем третью пару, увеличив припуск еще на 5 мм.

Разборный надувной парусный катамаран
Теоретический чертеж и выкройки полотен поплавка: А - теоретический чертеж; Б - перегородка; В - верхнее и нижнее полотна (нижние выкраиваются без отверстий); Г - обшивка днища

Разборный надувной парусный катамаран
Возможные положения перегородки поплавка: 1 - верхняя (надводная) оболочка; 2 - перегородка; 3 - нижняя (подводная) оболочка; А - безразличное положение перегородки при герметичных оболочках; Б - верхнее - при повреждении оболочки надводной камеры; В - нижнее - при повреждении оболочки подводной камеры

Разборный надувной парусный катамаран
Поперечное сечение поплавка (детали поз. 1, 2, 3, 4 выполнены из материала "феррари", клей "Урмоно"): 1 - перегородка; 2 - верхняя оболочка; 3 - нижняя оболочка; 4 - обшивка; 5 - клеевые швы; 6 - клейкая эластичная лента.

Склеивание начинаем с верхнего полотна и перегородки, тщательно очистив соединяемые кромки уайт-спиритом. При этом верхнее полотно должно находиться внизу. "Хвост" перегородки приклеиваем к верхнему полотну, не доходя 200 мм до его конца.

После нанесения клея на очищенные кромки надо дать ему подсохнуть (около 20 минут при комнатной температуре). Затем припуски верхнего полотна загибаем и накладываем на смазанные клеем кромки перегородки. Важно при этом следить, чтобы не было складок. Затем, нагревая швы феном, прикатываем их роликом или сдавливаем каким-либо другим способом.

После этого склейку переворачиваем и укладываем на нижнее полотно, обращенное гладкой стороной вниз (это будет донная часть поплавка) - и операция склеивания повторяется.

В завершение, на последний шов для гарантии герметичности поплавка наклеиваем еще полоску липкой полиэтиленовой пленки шириной 50 мм. Качество швов оказалось таким, что при попытке разъединить их с помощью пассатиж рвалась и расслаивалась сама ткань, а не шов.

С целью повышения живучести катамарана передние половины подводных камер поплавков одеты в "обшивку" - еще один слой такого же полотна. Обшивка предохраняет нижнюю оболочку от истирания на мелководье или при вытаскивании катамарана на берег, а также в какой-то степени и от повреждений о подводные препятствия или дно водоема. "Обшивка" приклеивалась уже на готовый и накачанный поплавок. В это же время приклеивались карманы для стрингеров и кулиски для тросов.

Силовой набор. Хотя катамаран опирается на поплавки, которые по исполнению сравнимы с надувными матрацами, у него, как и у большинства других плавсредств, имеется силовой набор. Конструкция силового набора - упруго-жесткая, или ее можно назвать балочно-тросовой.

Прежде чем описывать элементы силового набора, отмечу, что все они выполнены по одному принципу: возможность доступа с ними в пассажирский железнодорожный вагон и даже городской общественный транспорт. Конкретно же это вылилось в то, что все длинномерные элементы были разделены на части длиной 2200 мм (или меньший остаток). Так, например, 8-метровая мачта составляется из четырех частей (колен): трех - 2,2-метровых и одной - 1,4 м. Стыкуются колена с помощью внутренней втулки и двух болтов, а их взаимное положение фиксируется болтом во втулке и пазом в колене. Пазы и болты в одном колене повернуты относительно другого на 90°.

Разборный надувной парусный катамаран
Силовой набор катамарана (материал труб - дюралюминий): 1 - носовая балка-бимс (труба Ø 60x2); 2 - передняя палубная балка (труба Ø 80x2); 3 - подмачтовая балка-бимс (труба Ø 80x2); 4 - средняя палубная балка-бимс (труба Ø 80x2); 5 - кормовая палубная балка-бимс (труба Ø 80x2); 6 - стрингер (труба Ø 60x2, 2 шт.); 7 - продольная консольная балка (труба Ø 60x2); 8 - диагональный трос "паука" шпрюйта (Ø 3, 2 шт.); 9 - хомут-буж крепления консольной продольной балки; 10 - поперечный трос "паука" (Ø 3); 11 - талрепы; 12 - каркас фальшбортов (труба Ø 25x1,5, 2 шт.); 13 - подставки-шпангоуты (труба Ø 25x1,5, 8 шт.); 14 - троса крепления поплавка (Ø 2, 4 шт.); 15 - шпрюйт; 16 - пиллерс носовой балки (труба Ø 60x2, 2 шт.); 17 - поплавок

Продольные силовые элементы - стрингеры выполнены из дюралюминиевой трубы наружным диаметром 60 мм (толщина стенки 2 мм). После их монтажа на поплавках (стыковки колен и установки на подставки-шпангоуты) концы каждого стрингера стягиваются двумя тросами, проложенными в кулисках (специальных швах-карманах) по бокам поплавков, и эти продольные силовые элементы приобретают форму пологой дуги. Эти же тросы вдеты в пазы в нижних концах подставок, связывая таким образом силовой набор с поплавками.

Подставки под стрингеры (назовем их шпангоутами) имеют форму козелков и изготовлены из дюралюминиевой трубы диаметром 25 мм и толщиной стенки 1,5 мм. Верх ножек скреплен хомутом, который вставляется в стрингер и зажимается винтом. В средней части ножки соединяются стяжкой, выгнутой по радиусу оболочки поплавка, которая и является опорой, передающей давление конструкции на поплавок, зафиксированный между ножек. Снизу с торца в ножках пропилен фигурный паз - в него заводится трос, который и связывает поплавок с силовым каркасом катамарана и фиксирует положение поплавка между ножек. Крайние (передние и задние) подставки по размерам немного меньше, чем средние.

Разборный надувной парусный катамаран
Рулевое устройство и подвесной мотор в корме катамарана

Стрингеры соединены между собой мостом из нескольких поперечных балок-бимсов. Передняя (носовая) из них выполнена из такой же трубы, что и стрингеры (диаметром 60 мм), а вот остальные - из дюралюминиевой трубы диаметром 80 мм. При этом носовой бимс во избежание захлеста встречной волной приподнят над стрингерами на пиллерсах, а последующие три состыкованы непосредственно со стрингерами торцами. Кормовой же бимс уложен на стрингеры сверху. Это сделано тоже с целью поднять его над волнами. Правда, кормовым этот бимс назвать можно только условно, скорее это просто задний (или последний), поскольку на корме его нет совсем. Для монтажа же здесь рулевого устройства и подвесного мотора использована продольная консольная балка. Если до нее волна и дотянется, большого гидравлического сопротивления она не окажет и скорость катамарана не снизится.

Дополнительно бимсы соединены подкосами еще и с подставками-шпангоутами, на которые опираются стрингеры. Каждый бимс состоит из двух частей: 2,2-метровой и остаточной длины (она разная у носового, средних и кормового бимсов).

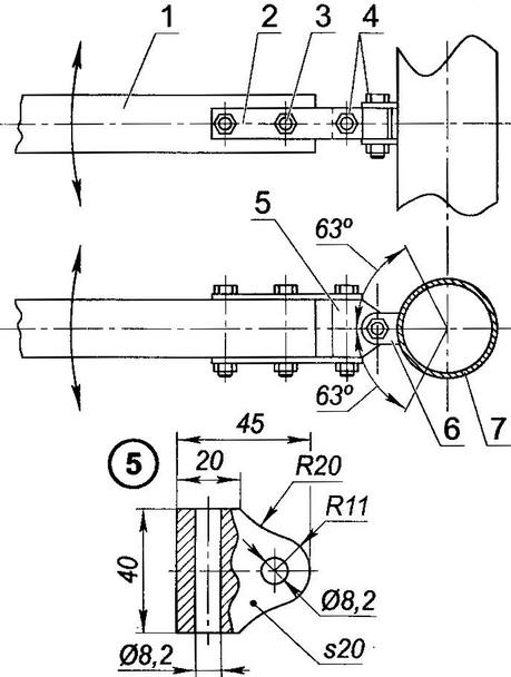
Наибольшую нагрузку несет подмачтовый бимс. Он, как и другие, - составной. И его было решено усилить с помощью устройства, названного шпрюйтом. Это устройство представляет собой под-мачтовую (подбалочную) стойку, удерживаемую на трех тросовых растяжках. Две растяжки - диагональные (соединяют носовую часть одного стрингера и кормовую - другого), а третья (поперечная) проходит под балкой, ее концы крепятся к стрингерам. Тросы пропускаются в отверстия детали-заглушки ("паука"). Таким образом, часть нагрузки от мачты с парусами с балки перераспределяется на стрингеры.

Разборный надувной парусный катамаран
 Подмачтовый узел - шпрюйт (нажмите для увеличения): 1 - мачта (дюралюминий, труба Ø 80x2); 2 - шпор мачты (дюралюминий); 3 - степс (специальный болт М10, нержавеющая сталь); 4 - шайба (пятка) (дюралюминий); 5 - подмачтовая балка (дюралюминий, труба Ø 80x2); 6 - буж (нержавеющая сталь, лист s1, сварен в трубу); 7 - патрубок (нержавеющая сталь, лист s1); 8 - стойка (дюралюминиевая труба Ø 28x2); 9 - крепежная втулка (дюралюминий); 1 0 -крепление стойки (гайка М10, нержавеющая сталь); 11 - "паук" (дюралюминий); 12 - трос (нержавеющая сталь).

Разборный надувной парусный катамаран
Колена мачты (верхнее - бом-брам-стеньга и предпоследнее - брам-стеньга): 1 - верхнее колено (бом-брам-стеньга); 2 - фал (капроновый трос Ø 10); 3 - щеки шкива (дюралюминиевый лист s2); 4 - крепление узла шкива на клотике мачты (болт М6 с косыми шайбами и распорной втулкой, L90); 5 - шкив (дюралюминий); 6 - ограничитель фала (болт М6, L30 с распорной втулкой); 7 - ось шкива (болт М6, L30); 8 - карабин; 9 - ликпаз (дюралюминий, П-образный профиль с подзагнутыми полками); 10 - крепление ликпаза и стыковочной втулки к колену мачты (болт М4 с потайной головкой); 11 - скоба крепления вант (стальной лист s1, 2 шт.); 12 - фиксатор положения колен мачты и ликпаза (болт М4, 2 шт.); 13 - стыковочная втулка (дюралюминиевая труба Ø 76x1,5); 14 - предпоследнее колено мачты (брам-стеньга); 15 - распорная втулка (дюралюминиевая труба Ø 8x1, 2 шт.); 16 - косая трубная шайба (дюралюминий); 17 - распорная шайба (капрон, 2 шт.)

Паруса катамарана, грот и стаксель - изделия покупные. Поэтому описывать технологию их изготовления не буду.

А вот палубу шил (а точнее, клеил) сам по той же технологии, что и поплавки (она тоже изготовлена из материала "феррари"). Палуба представляет собой прямоугольное однослойное полотнище, окантованное сложенной вдвое по длине полосой из такого же материала (только другого цвета). По периметру палубы оставлены неприклеенными кулиски - узкие рукава - в них при сборке катамарана вставляются алюминиевые трубки небольшого диаметра. А вдоль трубок в окантовке проплавлены горячим паяльником через равные промежутки (около 150 мм) небольшие отверстия, через которые палуба пришнуровывается к стрингерам и бимсам. В палубе выполнено окантованное таким же материалом отверстие под мачту. А между этим мачтовым отверстием и задним краем палубы по середине приклепан узел управления парусами и катамараном - пластина из нержавеющей стали с несколькими пластмассовыми стопорами.

Мачта изготовлена из дюралюминиевой трубы диаметром 80 мм и толщиной стенки 2 мм. Она, как уже было сказано - разъемная и состоит из четырех колен: бизань-мачта (нижнее), выше - стеньга и брам-стеньга и последнее - бом-брам стеньга. В нижний конец бизань-мачты запрессована шпор-втулка, которой она устанавливается на степс шпрюйта, а чуть выше - сделано отверстие для вывода фала. Раскрепляется мачта четырьмя вантами, верхние концы которых закреплены за серьгу на высоте 5,5 м. Нижние концы носовой пары вант заведены в кольцевые головки болтов, скрепляющие передний бимс со стрингерами. Кормовые ванты - разветвленные. Одна из ветвей зацеплена за болт, соединяющий подмачтовый бимс со стрингером, а другая ветвь - за болт, скрепляющий стрингер и кормовой бимс.

Разборный надувной парусный катамаран
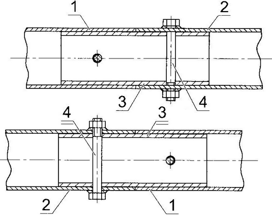
Стыковка колен длинномерных элементов каркаса (стрингеров, балок, мачты): 1 - первое колено; 2 - второе колено; 3 - втулка; 4 - крепеж (болт М8 с двумя фасонными "трубными" шайбами, 2 компл.)

Разборный надувной парусный катамаран
Соединение промежуточных балок со стрингерами: 1 - балка; 2 - штифт (болт М8 с двумя фасонными "трубными" шайбами); 3 - крепеж (болт М8 с кольцевой головкой и фасонной "трубной" шайбой); 4 - стрингер.

Разборный надувной парусный катамаран
Каркас волнореза: 1 - форштевень (дюралюминиевая труба Ø 25x1,5); 2 - подкос; 3 - ушко (стальная пластина s3); 4 - стрингер; 5 - трос; 6 - хомут с ушком (сталь, лист s1); 7 - луч (дюралюминиевая труба Ø 20x1, 2 шт.); 8 - передний бимс; 9 - пиллерс бимса (труба Ø 60x2); 10 - поплавок

Разборный надувной парусный катамаран
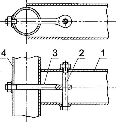
Кардан гика грота: 1 - гик; 2 - накладка (дюралюминий, лист s3, 2 шт.); 3 - крепление гика (болт М8 с гайкой, 2 шт.); 4 - оси кардана (болт М8 с гайкой); 5 - сухарь; 6 - проушина; 7 - мачта

Разборный надувной парусный катамаран
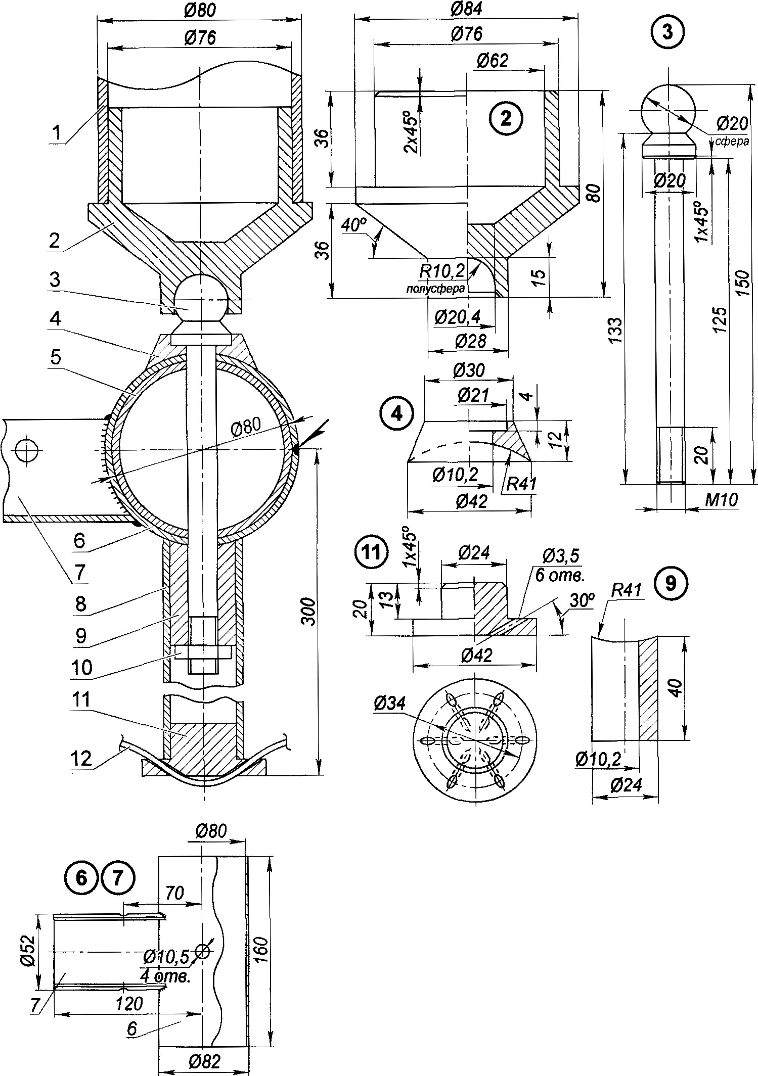
Подставка стрингера (детали поз. 1, 3, 7 выполнены из дюралюминиевой трубы Ø 25x1,5) (нажмите для увеличения): 1 - ножка (2 шт.); 2 - подкосная накладка (дюралюминий, лист s2, 2 шт.); 3 - подкос поперечной балки; 4 - стопор (болт М8); 5 - хомут (нержавеющая сталь, лист s2,5 с гайкой М8); 6 - накладка (дюралюминий, лист s2, 2 шт.); 7 - стяжка-опора; 8 - поплавок; 9 - поперечная балка; 10 - стрингер; 11 - трос.

Мачта устанавливается с наклоном назад от 5 до 12 градусов. К мачте по всей ее высоте (к каждому колену) прикреплен ликпаз для передней шкаторины паруса-грота, с вшитым в нее ликтросом, а на клотике бом-брам-стеньги смонтирован блок для фала. Немного ниже на мачте на серьге подвешен блок для зацепления троса шкота паруса-стакселя.

Руль и шверт по конструкции однотипные, материал тоже использован один и тот же: дюралюминиевый лист толщиной 1 мм. Из него же согнуты в форме швеллера и лонжероны. Стенки соединены между собой заклепками с потайными головками. Руль закреплен на заднем конце консольной продольной балки. Румпель руля довольно длинный, и он сделан составным с карданным шарниром (для удобства управления). На этой же консольной балке, только в передней ее части, закреплен и шверт.

Для повышения мореходности на носу каждого поплавка устроен волнорез, состоящий из каркаса и чехла. Каркас - это форштевень, установленный на переднем конце стрингера, и лучи, связывающие его верхний конец с передней поперечной балкой. Чехол имеет форму треугольного мешка, сшит все из того же материала "феррари". Нижние края чехла - с кулисками: в них вставляются тросы, стягивающие концы стрингера, - они плотно прижимают края чехла к бокам поплавков.

Разборный надувной парусный катамаран
Сборка катамарана на берегу

Разборный надувной парусный катамаран
Катамаран к походу готов

Накачку баллонов произвожу обычным лодочным резиновым насосом ("лягушкой"). Но можно и автомобильным электрическим, питающимся от бортовой сети машины, если транспортировку катамарана к месту старта производят автомобилем. Давление в поплавках не измерял, но его достаточность определяю так: когда сам встаю на баллон, то он почти не проминается.

Катамаран имеет массу около 165 кг. В разобранном виде он умещается в четыре упаковки, размеры каждой из которых не превышают тех, с которыми беспрепятственно можно пройти и в общественный транспорт и в вагон пассажирского поезда. Масса же отдельной упаковки составляет немногим более (или менее) 40 кг, и ее нетрудно перенести вдвоем и даже одному. Собирать катамаран лучше всего втроем. При этом на его сборку требуется около трех часов.

Недавно приобрел для катамарана и подвесной мотор "Ямаха" мощностью 2 л.с. Для него изготовил небольшой и простой подрамник, прикрепив его на шарнирах к кормовому бимсу чуть левее руля.

 Рекомендуем интересные статьи раздела Личный транспорт: наземный, водный, воздушный:

▪ Микроавтомобиль Мышонок

▪ Модульный микроавтомобиль Белка

▪ Снегокарт для спорта и отдыха

Смотрите другие статьи раздела Личный транспорт: наземный, водный, воздушный.

Читайте и пишите полезные комментарии к этой статье.

<< Назад

Последние новости науки и техники, новинки электроники:

Оптимальная продолжительность сна 12.11.2025

Сон играет ключевую роль в поддержании здоровья, когнитивных функций и общего самочувствия. Несмотря на широко распространенный стереотип о восьмичасовом сне, последние исследования показывают, что оптимальная продолжительность сна для большинства здоровых взрослых ближе к семи часам. Эволюционный биолог из Гарварда, Дэниел Э. Либерман, утверждает, что традиционная норма восьми часов сна - это скорее культурное наследие индустриальной эпохи, чем биологическая необходимость. По его словам, полевые исследования, проведенные в сообществах, не использующих электричество, показывают, что средняя продолжительность сна составляет 6-7 часов, что значительно отличается от общепринятого стандарта. Современные эпидемиологические данные подтверждают этот взгляд. Исследования выявили так называемую "U-образную кривую" зависимости между продолжительностью сна и рисками для здоровья. Минимальные показатели заболеваемости и смертности наблюдаются именно у людей, спящих около семи часов в сутки. ...>>

Дефицит кислорода усиливает выброс закиси азота 12.11.2025

Парниковые газы играют ключевую роль в изменении климата, а закись азота (N2O) - один из наиболее опасных среди них. Этот газ не только втрое сильнее углекислого газа в удержании тепла, но и разрушает озоновый слой. Недавнее исследование американских ученых показало, что микробы в зонах с низким содержанием кислорода активно производят N2O, усиливая глобальные климатические риски. Команда из Университета Пенсильвании изучала прибрежные воды у Сан-Диего и провела наблюдения на глубинах от 40 до 120 метров в Восточной тропической северной части Тихого океана - одной из крупнейших зон дефицита кислорода. Исследователи сосредоточились на том, как морские микроорганизмы превращают нитраты в закись азота. В ходе работы выяснилось, что существует два пути образования N2O. Один путь начинается с нитрата, другой - с нитрита. На первый взгляд более короткий путь должен быть эффективнее, однако микробы, использующие нитрат, продуцируют больше газа, поскольку этот "сырьевой" источник более д ...>>

Омега-3 помогают молодым кораллам выживать 11.11.2025

Сохранение коралловых рифов становится все более актуальной задачей в условиях глобального изменения климата. Молодые кораллы особенно уязвимы на ранних стадиях развития, когда стрессовые условия и нехватка питательных веществ могут привести к высокой смертности. Недавнее исследование ученых из Технологического университета Сиднея показывает, что специальные пищевые добавки способны существенно повысить выживаемость личинок кораллов. В ходе работы исследователи разработали особый состав "детского питания" для коралловых личинок. В него вошли масла, богатые омега-3 жирными кислотами, а также важные стерины, необходимые для формирования клеточных мембран. Личинки, получавшие эти добавки, развивались быстрее, становились крепче и демонстрировали более высокую устойчивость к стрессовым факторам. Особое внимание ученые уделили липидам. Анализ показал, что личинки активно усваивают эти вещества, что напрямую влияет на их жизнеспособность. Стерины, содержащиеся в корме, повышают устойчи ...>>

Случайная новость из Архива

Микробы в беличьем колесе 16.01.2007

Нанотехнологи ищут подходящие источники движущей силы для наномеханизмов близкого будущего. Юичи Хирасука из Токийского университета создал мотор, в котором работают бактерии.

Бактериальный двигатель состоит из двух частей: кольцевидной бороздки, выгравированной на кремнии, и лежащего на ней звездообразного колесика диаметром 20 микрометров из двуокиси кремния. Под каждым лучом звездочки имеется опущенная в бороздку заслона. По прямой бороздке (видна слева внизу) в это колесо запускают безвредных бактерий Mycoplasma mobile, которые отличаются большой скоростью ползания - почти два сантиметра в час (это действительно очень быстро, так как длина самой бактерии - один микрон).

Двигаясь по кольцевой бороздке, бактерии толкают заслонки и крутят колесо со скоростью до 2,5 оборота в минуту. Надо только кормить их глюкозой.

Правда, мощность бактериального моторчика в 10 тысяч раз меньше, чем имел бы электромотор таких размеров. Но ученые надеются ее увеличить. Зато, так как бактерии размножаются, двигатель получился саморемонтирующимся.

Другие интересные новости:

▪ Спутники дистанционного зондирования Yaogan-30-09

▪ Электроника оценит уровень сладости еды и напитков

▪ Молекулярные машины обеспечат прорыв в медицине

▪ Грибок против наркотика

▪ 20-дюймовые дисплеи AMOLED от Ignis

Лента новостей науки и техники, новинок электроники

 

Интересные материалы Бесплатной технической библиотеки:

▪ раздел сайта Детекторы напряженности поля. Подборка статей

▪ статья Электрический ток и его влияние на человека. Основы безопасной жизнедеятельности

▪ статья Что такое шлягер? Подробный ответ

▪ статья Тамариск. Легенды, выращивание, способы применения

▪ статья Модернизация блока зажигания. Энциклопедия радиоэлектроники и электротехники

▪ статья Переход механической энергии в теплоту. Физический эксперимент

Оставьте свой комментарий к этой статье:

Имя:


E-mail (не обязательно):


Комментарий:





Главная страница | Библиотека | Статьи | Карта сайта | Отзывы о сайте

www.diagram.com.ua

www.diagram.com.ua
2000-2025