Бесплатная техническая библиотека
Двухприводной веломобиль. Личный транспорт

Справочник / Личный транспорт: наземный, водный, воздушный
Комментарии к статье
С тем, что веломобиль полезен для здоровья, думаю, спорить никто не будет. Ну а для любителей технического творчества он полезен вдвойне, так как позволяет приобрести неоценимый опыт перед созданием более серьезных конструкций. Веломобиль, о котором пойдет речь, был спроектирован и изготовлен в мастерской станции юных техников (СЮТ) нашего города, вместе с ребятами-кружковцами. Надо сказать, что идея его создания у меня возникла гораздо раньше, а потому материалы и большинство запчастей (в частности, колеса) заготовил сам, на свои средства. Правда, и колеса, и материалы большей частью подобрал от брошенных велосипедов, так что затраты были не столь уж велики.

Веломобиль - двухместный, четырехколесный. Передние колеса - рулевые, задние - ведущие. Экипаж имеет два педальных привода - каждый на свое колесо.
Рама веломобиля - сварная, двухлонжеронной схемы. Однако оба лонжерона и передняя поперечина выполнены как одна деталь - выгнуты из трубы наружным диаметром 40 мм - от поручня списанного городского автобуса. Концы лонжеронов загнуты вверх и вместе с приваренными к ним траверсами служат опорами спинок сидений.
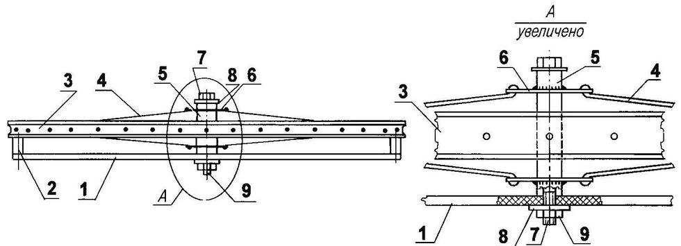
Между опорами спинок сидений вварена задняя поперечина - она служит верхней опорой подвесных узлов (пружин и гидроамортизатора) заднего моста.
Передней опорой самих сидений служит невысокий портал, опертый своими стойками на оба лонжерона и тоже соединяющий их. В его середине смонтирована рукоятка ручного тормоза, а на концах перекладины - рычажки переключения скоростей.
Задний мост довольно необычной конструкции. Его основу составляет замкнутый подрамник, сваренный из дужек спинок металлических кроватей. По его сторонам закреплены в подшипниках полуоси ведущих колес с трехскоростным блоком приводных звездочек.
Двухместный, четырехколесный, двухприводной веломобиль с мягкой подвеской всех колес
Двухместный, четырехколесный, двухприводной веломобиль с мягкой подвеской всех колес (детали поз. 7, 12, 14, 29, 30 выполнены из трубы диаметром 40 от автобусных поручней) (нажмите для увеличения): 1 - переднее колесо (от велосипеда "Кама" доработанное); 2 - поворотный кулак; 3 - рулевой вал (дюралюминиевая труба O20); 4 - опорная стойка с втулкой рулевого вала; 5 - педальный узел (от дорожного велосипеда, 2 шт.); 6 - рулевое колесо; 7 - портал (стальная труба O40); 8 - пружины задней подвески (от мопеда "Карпаты", 2 шт.); 9 - заднее колесо (от велосипеда "Урал", 2 шт.); 10 - суппорт ручного тормоза; 11 - диск ручного тормоза; 12 - рама; 13 - поворотный кулак; 14 - балка переднего моста; 15 - поперечная рулевая тяга; 16 - межколесная рулевая тяга; 17 - рулевой механизм (шестерня рейка); 18 - сиденье; 19 - рукоятка ручного тормоза; 20 - приводная цепь (от дорожного велосипеда, удлиненная, 2 шт.); 21 - рычажок переключения скоростей (от туристического велосипеда, 2 шт.); 22 - продольные тяги подрамника заднего моста (уголок 35x35, 2 шт.); 23 - поперечина продольных тяг (сталь, круг 10); 24 - косынка (2 шт.); 25 - привод заднего колеса (2 шт.); 26 - подрамник заднего моста; 27 - полка подшипника полуоси (уголок 35x35, 2 шт.); 28 - стойка суппорта ручного тормоза; 29 - траверсы спинок сидений (2 шт.); 30 - задняя поперечина; 31 - ось качения подрамника; 32 - гидроамортизатор (от мопеда "Верховина"); 33 - основа сиденья (дюралюминий, лист s 1,5, 2 шт.); 34 - подкладка сиденья (поролон, лист s30, 2 шт.); 35 - чехол (капроновая ткань, 2 шт.); 36 - кронштейн крепления основы сиденья (сталь, лист s1, 4 шт.); 37 - крепление основы сиденья (болт М6, 4 шт.); 38 - втулка-ступица с фланцами заднего колеса; 39 - винт М12x30 с шайбой крепления заднего колеса; 40 - резьбовая втулка М10 (2 шт.); 41 - наконечник оси (болт М10, 2 шт.); 42 - шайба (капрон s3, 4 шт.)
Привод заднего колеса (нажмите для увеличения): 1 - втулка-ступица заднего колеса; 2 - подрамник заднего моста; 3 - подшипник №203; 4 - корпус подшипника № 203; 5 - полуось; 6 - корпус подшипника №202; 7 - подшипник №202; 8 - блок звездочек; 9 - подшипник № до 201; 10 - противопыльная шайба; 11 - храповик; 12 - корпус блока звездочек; 13 - распорное дистанционное кольцо; 14 - стопорное кольцо; 15 - стопорная втулка; 16 - гайка М12; 17 - собачка; 18 - возвратная пружина; 19 - штифт; 20 - полки подшипников; 21 - крышка; 22 - отбойник
На левой полуоси смонтирован (приварен) диск стояночного тормоза. Рабочие тормоза клещевые и действуют на передние колеса. Подрамник соединен с рамой (а точнее с порталом) посредством качающейся оси и двух косых рычагов, выполненных из равнополочного уголка № 2,5.
Подвеска передних колес - независимая на пружинах. Пружины помещены во втулки осей поворотных кулаков. Ход подвески небольшой, и амортизирует она только мелкие неровности дороги. Поэтому для смягчения удара от более крупных неровностей на оси с обеих сторон втулок установлены еще отбойники из мягкой резины (толстые шайбы).
Подвеска задних колес - "полунезависимая". Подрамник подвешен на пружинах (от мопеда "Карпаты") с гидравлическим амортизатором от мопеда "Верховина". Колеса машины разные. Передние - от велосипеда "Кама", задние - от велосипеда "Урал". Но те и другие - переделанные: у них были заменены втулки-ступицы более длинными (в два раза).
Надо отметить, что сборка колеса -дело непростое, и для облегчения этой операции был изготовлен кондуктор. Из листа фанеры вырезали круг диаметром, равным ободу колеса, а по его окружности закрепили четыре стойки-упора высотой, равной выступающей за пределы обода части втулки. Затем новую (удлиненную) втулку закрепили болтом с проставкой в центре фанерного круга и колесо укомплектовали спицами - сначала спица вставлялась в отверстие во фланце ступицы, а затем ее конец - в отверстие в ободе и наживлялся с легкой натяжкой. После установки всех спиц колесо снималось с кондуктора и спицы натягивались окончательно с проверкой на отсутствие в колесе "восьмерки".
Передние колеса - поворотные. Рулевое управление самодельное. Оно состоит из "баранки", трубчатого вала и рулевого механизма реечного типа с поперечной рулевой тягой. Рейка и наконечник тяги соединены с помощью шарового шарнира. Другой конец тяги соединен с рычагом поворотного кулака правого колеса, а от него к левому колесу идет еще одна - межколесная рулевая тяга. На передних колесах смонтированы и клещевые рабочие (ходовые) тормоза.
Привод веломобиля - педальный. У водителя и пассажира - у каждого свой, трехскоростной, независимый. Трех скоростей передач вполне достаточно для передвижения по любой пересеченной местности. Но следует признать, что при массе порожнего веломобиля в 55 кг одному человеку при движении на подъем крутить педали даже на самой низшей скорости тяжеловато.
Педальные узлы вырезаны в сборе из рам старых дорожных велосипедов и приварены на удобном расстоянии от сидений к лонжеронам. Трехскоростные блоки звездочек задних полуосей - самодельные, и только сами звездочки использованы от туристического велосипеда. Самодельный и натяжитель-переключатель приводной цепи.
Рулевой реечный механизм (нажмите для увеличения): 1 - рейка; 2 - втулка (бронза); 3 - корпус механизма; 4 - шестерня; 5 - гайка М6; 6 - крышка; 7 - шаровой палец; 8 - болт М4 (4 шт.); 9 - контргайка М12; 10 - резьбовой наконечник; 11 - тяга (труба Ø16)
Поворотный кулак переднего колеса: 1 - спица колеса; 2 - ступица-втулка; 3 - подшипник № до 201 (2 шт.); 4 - гайка M10 с шайбой; 5 -ось; 6 - подшипник № до 202; 7 - гайка М12; 8 - втулка (бронза, 2 шт.); 9 - втулка балки переднего моста; 10 - пружина; 11 - балка переднего моста; 12 - отбойник (резиновая шайба, s5); 13 - ось; 14 - скоба; 15 - шайбы
Кондуктор для сборки колеса (нажмите для увеличения): 1 - основание (фанера s10); 2 - дистанционная втулка (4 шт.); 3 - обод колеса; 4 - спида колеса; 5 - втулка; 6 - фланец втулки (2 шт.); 7 - болт М10; 8 - шайба (2 шт.); 9 - гайка М10
Сиденья экипажа самодельные. Их основа, прикрепленная в четырех точках к элементам рамы, выполнена из дюралюминиевого листа толщиной 1,5 мм. На основу уложена подкладка - поролоновый коврик, который покрыт чехлом из яркой капроновой ткани.
В дальнюю дорогу обычно брал полиэтиленовую накидку, которой укрывал другие необходимые вещи, уложенные в багажник. Багажник представлял собой сетку, натянутую между лонжеронами и балкой переднего моста в носовой части экипажа (на чертеже не показан, но хорошо виден на фотографии).
Еще отмечу, что для соединения различных элементов рамы и подвесок в единую конструкцию пользовался бытовым сварочным аппаратом, а большинство мелких деталей вращения (оси, втулки и т.п.) выточены на маленьком школьном токарном станке.
Признаюсь, что кроме поездок по служебным делам, использовал веломобиль в течение двух сезонов (в теплое время года) для поездок на работу и обратно домой. К тому же в выходные совершал на нем с женой или братом вылазки на природу.
После двух лет эксплуатации на веломобиль, а конкретно на его заднее левое колесо был установлен двигатель Д-4 и началась его другая "жизнь" в качестве "мотомобиля". Именно этот вариант веломобиля переоборудованный в мотоэкипаж, изображен на фото.
Автор: А.Матвейчук
Рекомендуем интересные статьи раздела Личный транспорт: наземный, водный, воздушный:
▪ Грузовой прицеп для мотоцикла
▪ Аэросани ПМ-2
▪ Туристический катер-амфибия Амфа
Смотрите другие статьи раздела Личный транспорт: наземный, водный, воздушный.
Читайте и пишите полезные комментарии к этой статье.
<< Назад
Последние новости науки и техники, новинки электроники:
Польза белкового завтрака
14.01.2026
Правильное питание по утрам играет ключевую роль в поддержании здоровья и контроле веса. Многочисленные исследования подтверждают, что состав завтрака может влиять на аппетит в течение всего дня и качество употребляемой пищи. Австралийские ученые провели масштабный эксперимент, который показал, что употребление белковой пищи с утра помогает дольше чувствовать сытость и предотвращает переедание.
В исследовании участвовали более 9 тысяч человек среднего возраста 46 лет. В период с 2011 по 2012 год специалисты анализировали рационы респондентов, оценивая долю основных макронутриентов. В среднем участники потребляли 43% углеводов, 31% жиров, 18% белков, 2% клетчатки и 4% алкоголя. Такой рацион позволил ученым проследить взаимосвязь между утренним приемом пищи и пищевым поведением в течение дня.
Выяснилось, что участники, чей завтрак содержал недостаточное количество белка, ощущали повышенный аппетит в течение дня. Они ели больше, чем необходимо, и часто выбирали продукты с высоким со ...>>
Технология SmartPower HDR
14.01.2026
Ноутбуки стремительно развиваются в плане графики и мультимедийных возможностей, но яркие дисплеи с высоким динамическим диапазоном (HDR) часто становятся серьезной нагрузкой для аккумуляторов. Длительная работа с видео высокого качества или играми в HDR приводит к быстрой разрядке батареи, что ограничивает мобильность пользователей и снижает комфорт работы. Решить эту проблему призвана новая технология SmartPower HDR, разработанная совместно компаниями Samsung Display и Intel.
Суть технологии заключается в динамическом управлении напряжением OLED-панелей. Чипсет ноутбука в реальном времени анализирует пиковую яркость каждого кадра и передает эти данные контроллеру дисплея, который оптимизирует подачу напряжения в зависимости от количества активных пикселей. В отличие от традиционных режимов HDR, где яркость часто фиксируется на максимальном уровне, SmartPower HDR адаптируется к конкретному контенту, что снижает энергопотребление без потери качества изображения.
Технология позвол ...>>
Недосып существенно сокращает жизнь
13.01.2026
Сон является одной из самых фундаментальных потребностей человека. Он влияет на обмен веществ, работу сердца и мозга, иммунитет и общее самочувствие. Современный ритм жизни часто заставляет людей жертвовать сном ради работы, учебы или развлечений, но ученые предупреждают: регулярный недосып может иметь далеко идущие последствия для здоровья и долголетия.
Исследователи из Орегонского университета здравоохранения и науки пришли к выводу, что сон менее семи часов в сутки связан с сокращением продолжительности жизни. По данным специалистов, хроническая нехватка сна не только вызывает усталость и снижение работоспособности, но и постепенно сказывается на здоровье органов и систем, увеличивая риски развития различных заболеваний.
Для анализа ученые использовали обширную национальную базу данных США, сопоставляя показатели ожидаемой продолжительности жизни на уровне штатов с результатами опросов Центров контроля и профилактики заболеваний за период с 2019 по 2025 годы. Они учитывали мно ...>>
Случайная новость из Архива Наушники Anker Soundcore Sleep A30 с распознаванием и подавлением храпа
26.06.2025
Качественный сон становится все более приоритетной задачей в современной жизни, особенно на фоне стресса, городской суеты и нарушений сна, связанных с окружающими звуками. В этом контексте технологии стремятся предложить решения, которые сделают ночной отдых более спокойным и эффективным. Новый гаджет от компании Anker - беспроводные наушники Soundcore Sleep A30 - как раз из таких разработок, где сочетаются удобство, искусственный интеллект и звуковые технологии.
Soundcore Sleep A30 разработаны с учетом потребностей людей, спящих на боку. Эргономичная форма наушников минимизирует давление на уши, обеспечивая комфорт в течение всей ночи. Но главное нововведение кроется внутри: устройство способно с высокой точностью - до 93 процентов - в реальном времени распознавать звуки храпа. Это не просто мониторинг, а активная реакция - наушники анализируют частоту, громкость и ритм храпа и тут же включают маскирующий шум, который подбирается индивидуально, чтобы не мешать спящему.
Технология активного шумоподавления (ANC), встроенная в Sleep A30, может снижать уровень внешнего шума до 30 децибел. Это позволяет не только нейтрализовать храп, но и эффективно блокировать другие раздражающие звуки вроде шума транспорта или разговоров за стенкой. При этом, по данным производителя, устройство способно проработать до девяти часов без подзарядки, а вместе с кейсом суммарное время автономной работы достигает 45 часов, чего вполне достаточно на несколько ночей подряд.
Наушники выполнены в двух цветовых вариантах - мягком зеленом и классическом белом, что подчеркивает их предназначение как части вечернего ритуала. Компактный дизайн и отсутствие торчащих элементов делают их визуально ненавязчивыми и удобными даже для чувствительных пользователей.
Интерес пользователей к подобным устройствам продолжает расти, поскольку все больше людей стремятся повысить качество сна с помощью технологий. Храп - одна из самых распространенных причин неудовлетворительного отдыха, особенно для партнеров спящего, и возможность его пассивного подавления может значительно улучшить бытовой комфорт.
Стоимость Soundcore Sleep A30 составляет 249,99 евро.
|
Другие интересные новости:
▪ Защищенная камера Olympus Tough TG-870
▪ Вечные аккумуляторы на базе наноалмазов и радиоактивных отходов
▪ Молоко тасманийского дьявола содержит мощные антибиотики
▪ Фантомные изображения молекул
▪ Кишечные бактерии повышают выносливость
Лента новостей науки и техники, новинок электроники
Интересные материалы Бесплатной технической библиотеки:
▪ раздел сайта Светодиоды. Подборка статей
▪ статья Меньшее зло. Крылатое выражение
▪ статья Седеют ли волосы от испуга? Подробный ответ
▪ статья Обслуживание водогрейных котлов ЗИО-60, Е/1-0-9г на газообразном топливе. Типовая инструкция по охране труда
▪ статья Фото реле, коммутирующее нагрузку от освещения, 10-12 вольт 120 ватт. Энциклопедия радиоэлектроники и электротехники
▪ статья Отгибающийся уголок. Секрет фокуса
Оставьте свой комментарий к этой статье:
Главная страница | Библиотека | Статьи | Карта сайта | Отзывы о сайте

www.diagram.com.ua
2000-2026