Бесплатная техническая библиотека
Модернизация тракторного сервомеханизма. Личный транспорт

Справочник / Личный транспорт: наземный, водный, воздушный
Комментарии к статье
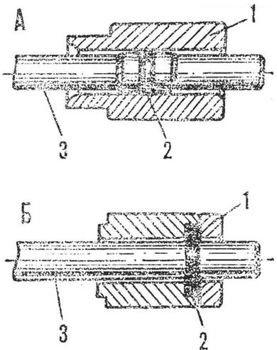
Большие проблемы иногда возникают и из-за маленьких деталей. Взять, например, сервомеханизм, снижающий усилия на рычагах управления таких мощных и распространенных тракторов, как челябинские Т100МЗ или Т-130. У них в отверстии втулки (см. рисунок), запрессованной в корпус сервомеханизма, совершает возвратно-поступательное перемещение толкатель, передающий движение от рычага управления поворотом на золотник гидрораспределительного узла. На толкателе и находится злополучная деталька - небольшое резиновое кольцо, обеспечивающее надежную герметизацию между толкателем и стенками втулки.
Чтобы добиться качественного уплотнения, приходилось сопрягаемые детали выполнять по высокому классу точности. Достаточно сказать, что втулка должна иметь внутренний диаметр с точностью до тысячных долей миллиметра; повышенные требования предъявлялись и к шероховатости стенок отверстия, и к самому толкателю, на котором выполнялась фигурная проточка под резиновое кольцо.
Участники НТТМ Челябинского тракторного завода предложили изменить конструкцию этого узла, не снижая его надежности. Вместо кольца было решено использовать резиновую манжету (см. рисунок). Это позволило упростить форму втулки и толкателя (а значит - и технологию, и требования к механической обработке деталей), изготовлять детали из менее дефицитного металла.
Старый (А) и новый (Б) узел толкателя: 1 - станина, 2 - резиновое уплотнение, 3 - толкатель
Для сравнения старого и нового узла были проведены испытания на специальном стенде. Они показали, что износ резиновых колец вдвое выше, чем проработавших такое же время манжет. Обычно в сервомеханизмах с уплотнительными кольцами после 300 тысяч рабочих циклов обнаруживалась течь масла. Новый же узел с манжетой сохранял герметичность и после 2,5 миллиона циклов.
Рекомендуем интересные статьи раздела Личный транспорт: наземный, водный, воздушный:
▪ Мягкий и ручной велосипед
▪ Тримараны Стриж
▪ Самоходная монолыжа
Смотрите другие статьи раздела Личный транспорт: наземный, водный, воздушный.
Читайте и пишите полезные комментарии к этой статье.
<< Назад
Последние новости науки и техники, новинки электроники:
Кислотность океана разрушает зубы акул
03.10.2025
Мировые океаны выполняют важнейшую функцию - они поглощают около трети углекислого газа, выбрасываемого в атмосферу. Это помогает замедлять темпы глобального потепления, но имеет и обратную сторону. Растворяясь в воде, CO2 образует угольную кислоту, которая повышает концентрацию водородных ионов и приводит к снижению pH. Вода становится более кислой, а последствия этого процесса уже заметны для морских экосистем.
Средний показатель кислотности океана сейчас равен примерно 8,1, тогда как еще недавно за условную норму брали значение 8,2. По прогнозам, к 2300 году уровень может упасть до 7,3 - это сделает океан почти в десять раз кислее нынешнего состояния. Для обитателей морей подобные изменения означают не просто сдвиг химического равновесия, а реальную угрозу физиологическим процессам, начиная от формирования раковин у моллюсков и заканчивая охотничьим поведением акул.
Чтобы выяснить, как именно кислотная среда отражается на зубах акул, группа немецких исследователей провела эксп ...>>
Почтовый космический корабль Arc
03.10.2025
Космические технологии становятся частью инфраструктуры, способной повлиять на логистику, медицину и даже военную сферу. Идея использовать орбиту как глобальный склад для срочных поставок звучала еще недавно как научная фантастика, но стартап Inversion пытается превратить ее в практическое решение.
Компания Inversion появилась в начале 2021 года благодаря Джастину Фиаскетти и Остину Бриггсу, которые на тот момент были студентами Бостонского университета. Их замысел состоял в том, чтобы сделать возможной доставку грузов не только через спутниковые сети данных, но и в буквальном смысле - физических предметов. В основе лежит простая мысль: если космос обеспечивает доступ к любой точке Земли, то и грузы должны перемещаться тем же маршрутом.
Уже за три года работы команда из 25 специалистов успела построить демонстрационный аппарат "Ray". Его запуск состоялся в рамках миссии SpaceX Transporter-12. Устройство весом 90 килограммов проверяло ключевые технологии Inversion, включая двухком ...>>
Лазерное обогащение урана
02.10.2025
Ядерная энергия остается одним из ключевых источников стабильного электричества, особенно для стран с растущими потребностями в энергоснабжении. Однако обеспечение бесперебойных поставок топлива для атомных станций требует современных технологий обогащения урана, которые одновременно эффективны и безопасны. Американская компания Global Laser Enrichment (GLE) делает значительный шаг в этом направлении, завершив масштабное тестирование лазерной технологии обогащения урана.
Демонстрационная программа была проведена на объекте в Уилмингтоне, Северная Каролина. Тестирование технологии SILEX (Separation of Isotopes by Laser EXcitation), разработанной австралийской Silex Systems, стартовало в мае 2025 года и продлится до конца года. В ходе экспериментов компания планирует получить сотни фунтов низкообогащенного урана (LEU), который может быть использован в качестве топлива для атомных электростанций.
GLE была создана в 2007 году для коммерциализации лазерных методов обогащения урана в С ...>>
Случайная новость из Архива Углеродный 3D-каркас улучшит аноды литий-ионных батарей
29.07.2021
Поставив перед собой цель ликвидировать недостатки современных анодов литий-ионных батарей, группа инженеров Корейского морского и океанского университета и Пусанского национального университета в статья для Chemical Engineering Journal сообщила о разработанном ими анодном материале с уникальными структурными характеристиками, позволяющими преодолеть многие из существующих барьеров на пути увеличения анодной эффективности.
В своей работе корейские ученые сконцентрировались на селениде марганца (MnSe), широкодоступном соединении переходного металла, известном своей высокой электропроводностью и используемом при разработке полупроводников и суперконденсаторов. Однако MnSe испытывает резкое (почти на 160%) изменение объема во время зарядки-разрядки, что не только снижает производительность электрода, но и создает проблемы безопасности.
Исследователи разработали простой и недорогой способ компенсации этого изменения объема: они равномерно внедрили наночастицы MnSe в трехмерную пористую матрицу углеродных нанолистов (3DCNM). Этот углеродный каркас не только защитил закрепленные наночастицы MnSe от резкого объемного расширения, но и наделил их многочисленными дополнительными преимуществами, такими как большое количество активных центров и увеличенная площадь контакта с электролитом.
Наилучший из синтезированных авторами вариантов такого материала, показавший в тестах самые высокие циклическую стабильность и скорость зарядки/разрядки, продолжал демонстрировать превосходные электрохимические свойства (включая кинетику транспорта литиевых ионов и электронов) при работе в составе прототипа аккумулятора с катодом из оксида лития/марганца.
Команда воодушевлена потенциальными перспективами своего достижения: "Используя основу из проводящего наполнителя, мы разработали анод, который повышает производительность батареи, одновременно обеспечивая обратимое накопление энергии. Эта стратегия может быть применена для получения других селенидов переходных металлов с большой площадью поверхности и стабильной наноструктурой, с приложениями в системах хранения энергии, в электрокатализе и полупроводниках".
|
Другие интересные новости:
▪ Как победить зависимость от смартфонов
▪ Прозрачные датчики на основе стекла Gorilla Glass
▪ Магнитные нанодиски для лечения мозга
▪ LG закрывает завод по производству плазменных панелей
▪ Найден механизм, отключающий чувство голода
Лента новостей науки и техники, новинок электроники
Интересные материалы Бесплатной технической библиотеки:
▪ раздел сайта Нормативная документация по охране труда. Подборка статей
▪ статья Геркулес на распутье. Крылатое выражение
▪ статья Какая звезда самая холодная? Подробный ответ
▪ статья Электромеханик УП. Типовая инструкция по охране труда
▪ статья Стрелочный индикатор выходной мощности. Энциклопедия радиоэлектроники и электротехники
▪ статья Радиоприемник - он же цифровой частотомер. Энциклопедия радиоэлектроники и электротехники
Оставьте свой комментарий к этой статье:
Главная страница | Библиотека | Статьи | Карта сайта | Отзывы о сайте

www.diagram.com.ua
2000-2025