Menu Home

Бесплатная техническая библиотека для любителей и профессионалов Бесплатная техническая библиотека


Веломобиль. Личный транспорт

Личный транспорт: наземный, водный, воздушный

Справочник / Личный транспорт: наземный, водный, воздушный

Комментарии к статье Комментарии к статье

На счету у лаборатории экспериментальных машин Орловского городского Дворца пионеров имени Ю. А. Гагарина немало интересных и оригинальных работ. На областных выставках НТТМ они привлекают внимание посетителей всех возрастов. И не удивительно! Диапазон поиска юных конструкторов широк: учебный планер и шагающий робот, аэромобиль и микротрактор. При создании каждой новой машины ребята идут по пути истинных исследователей: наметив цель, тщательно изучают имеющийся опыт, затем, учитывая собственные возможности, определяют технические требования к будущей конструкции и, наконец, проектируют и мастерят ее. Именно так появился на свет двухместный веломобиль ЛЭМ-05 (лаборатория экспериментальных машин, 5-я модель).

Веломобиль

На идею постройки веломобиля ребят натолкнуло сообщение о создании таких машин вильнюсскими энтузиастами. Стали собирать информацию, схемы, чертежи, построили макетный образец. Так постепенно сложилось представление, каким быть нашему веломобилю. Решили сделать его двухместным и четырехколесным. Кузов, пусть и не такой обтекаемый, как каплевидные кабины спортивных веломобилей, должен быть достаточно вместительным для широкого сиденья типа автомобильного. Сидячая посадка выбрана не только как наиболее привычная и удобная: она позволяет лучше использовать мышечную силу.

Ряд требований к трансмиссии заставил отказаться от обычного велопривода - вращающихся педалей с цепным приводом. Выбор пал на храповой механизм с качающимися педалями> который не имеет мертвых точек, а, главное, позволяет благодаря упору в спинку сиденья развивать усилие в 1,5-2 раза большее, чем на велосипеде.

Соединив каждую педаль со своим храповиком, можно сделать все приводы независимыми. Это позволит работать педалями и попеременно и сразу. Кроме того, привод легко переводится на "ручную тягу": педали заменяются или дополняются качающимися ручными рычагами. Такой веломобиль послужит и велотренажером, и транспортным средством для инвалидов.

Веломобиль
Рис. 1. Габариты и общая компоновка веломобиля (нажмите для увеличения): 1 - кузов, 2 - лобовое стекло, 3 - рулевой рычаг, 4 - рычаги тормоза, 5 - фара, 6 - указатель поворота, 7 - зеркало заднего вида, 8 - возвратная пружина, 9 - заднее стекло, 10 - стоп-сигнал, 11 - храповая муфта, 12 - сиденье, 13 - ходовой тросик, 14 - педаль, 15 - поперечная рулевая тяга, 10 - поворотная вилка переднего колеса

Конструкция нашего ЛЭМ-05, несмотря на оригинальный привод, отличается простотой. Из стандартных деталей используются колеса и передние вилки от велосипеда "Десна-2", а также недефицитные шарикоподшипники. Остальное изготавливается с помощью несложного оборудования и инструментов из доступных материалов. При сборке можно обойтись без сварки.

Рама веломобиля имеет П-образную форму. Ее бортовые лонжероны и две передние поперечины - из дюралюминиевых уголков 40X40 мм. Втулки вилок передних колес, если их не используют от велосипедной рамы, вытачиваются из стальной трубы и имеют внутренний d 30 мм при длине 200 мм. Они укрепляются в передних углах рамы строго параллельно друг другу. Жесткость всей конструкции придают продольные и поперечные подкосы втулок, а также Широкое основание сиденья, вырезанное из листа фанеры толщиной 10 мм и установленное на болтах между бортовыми лонжеронами. Хребтовая балка - из деревянного бруска сечением 25x50 мм - несет на себе два кронштейна р/левого рычага и опору полувалов задних колес.

Веломобиль
Рис. 2. Ходовая часть веломобиля (кузов снят): 1 - вилка переднего колеса, 2 - рама. 3 - качалка рулевого механизма, 4 - поперечная рулевая тяга, 5 - педали (со стороны пассажира не показаны), в - рулевой рычаг, 7 - продольный поворотный рычаг вилки, 8 - полувал заднего колеса, 9 - сиденье, 10 - каркас кузова

Рулевое управление состоит из установленного горизонтально в кронштейнах рулевого рычага. Качалка на его переднем конце соединена парой поперечных рулевых тяг - стальных прутков d 8 мм с продольными рычагами вилок колес. Каждый из них представляет собой болт М10 длиной 120 мм, ввернутый в рассверленное отверстие вилки, служившее ранее для крепления переднего крыла. Наиболее оптимальным нам кажется соотношение плеч, при котором наклон рулевого рычага на 60° приводит к повороту колеса на 20-25°. Фиксация вилок передних колес во втулках рамы такая же, как и на велосипеде.

Задние колеса - ведущие, установлены каждое на своем полувалу из дюралюминиевой трубы с наружным d 35 мм и длиной около 470 мм. Так как внутренний диаметр ступицы колеса - 34 мм, а соединение с валом для передачи вращающего момента должно быть очень плотным, хвостовик последнего обтачивают на очень пологий конус: примерно 1 : 100. Тогда при затяжке осевого болта ступица колеса напрессуется на хвостовик не менее 2/3 своей длины. Соединение будет настолько крепким, что разобрать его можно будет только с помощью специального съемника.

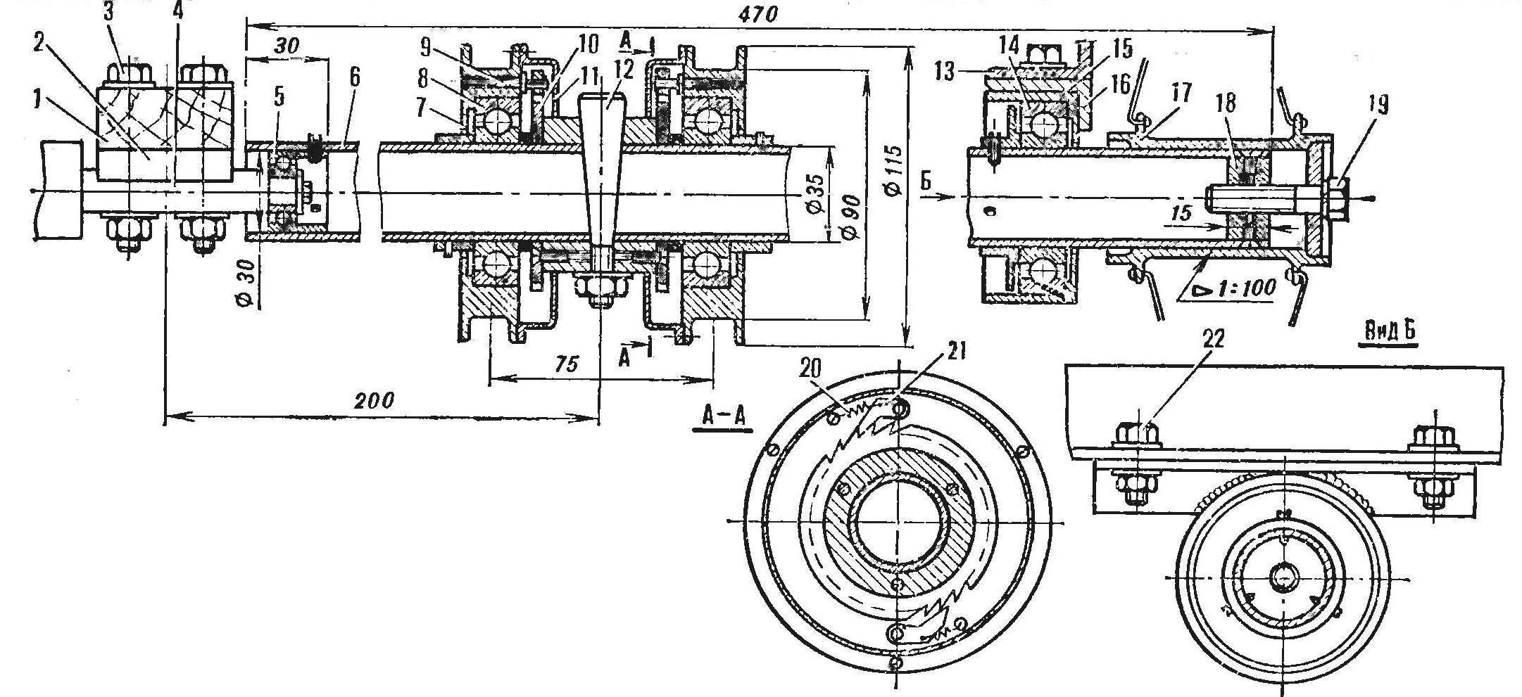
Веломобиль
Рис. 3. Привод ведущих колес (нажмите для увеличения): 1 - хребтовая балка рамы, деревянный брусок 25х50 мм, 2 - кронштейн опоры, 3 - болт Мб, 4 - центральная опора полувалов, 5 - подшипник № 200, 6 - полувал, дюралюминиевая труба d 35 мм, 7 - шкив, 8 - подшипник № 207, 9 - ось собачки, 10 - храповое колесо, 11 - кожух храповика, 12 - конический штифт с гайкой, 13 - бортовой лонжерон рамы, дюралюминиевый уголок 40х40 мм, 14 - подшипник № 207, 15 - обойма подшипника, 16 - кронштейн подшипника, стальной уголок 40х40 мм, 17 - ступица заднего колеса, 18 - пробка полувала, 19 - болт М10 крепления колеса, 20 - пружина собачки, 21 - собачка, 22 - болт М8 крепления кронштейна

Каждый полувал свободно установлен на раме на двух подшипниках № 207 и №2 200. Первый надет своим внутренним кольцом на полувал возле колесной втулки. Обойма его наружного кольца через кронштейн (уголок) крепится болтами к бортовому лонжерону рамы. Меньший подшипник монтируется внутри противоположного конца полувала и опирается своим внутренним кольцом на ось-опору хребтовой балки рамы.

Привод каждого полувала во вращение обеспечивают два храповых механизма. Сдвоенная храповая муфта фиксируется на полувалу коническим штифтом с гайкой. Ее шкивы с подпружиненными собачками на торцевых плоскостях установлены на подшипниках N2 207. Стальной тросик d 2 мм, закрепленный на конце качающейся педали, трижды обогнув шкив, подсоединяется через возвратную пружину с максимальным усилием 4-5 кг к каркасу сиденья. При каждом ходе педали вперед тросик поворачивает шкив. Одна из собачек, сцепляясь с храповым колесом, передает вращение валу ведущего колеса" Так как две собачки на одном шкиве из-за неточностей изготовления и сборки одновременно работать не смогут, их оси смещены относительно друг друга на половину шага зуба храпового колеса. Это дает уменьшение холостого хода педали вдвое.

При обратном ходе возвратная пружина прокручивает шкив против вращения вала. По принципу действия храповая муфта аналогична роликовой или шариковой обгонной. Если у вас есть готовая, ее можно применить в этом узле. Если же изготавливать эту деталь самостоятельно, лучше остановиться на храповой, как наиболее простой. Храповое колесо такой муфты несложно изготовить из стальной пластины, высверлив и соответственно обработав напильником зубья. Даже затупившаяся дисковая фреза может превратиться в храповик, если ее немного дообработать после глубокого отпуска- нагрева до 1100-1200° С и охлаждения вместе с печью. Нагрузки в зацеплении деталей механизма невелики, так что последующая термообработка не потребуется. Пружинки, поджимающие собачки к храповику, должны обеспечить лишь постоянный контакт деталей - более сильные увеличат шумность работы и износ.

Тормоза - механические; рычаги, установленные на обоих бортах кузова рядом с сиденьем, действуют непосредственно на задние колеса. При необходимости и передние можно оборудовать тормозными механизмами от спортивного велосипеда, вынеся рукоятку управления ими на рулевой рычаг.

Веломобиль
Рис. 4. Рама веломобиля: 1 - продольный поворотный рычаг (болт М10), 2 - поперечная рулевая тяга, 3 - качалка рулевого рычага. 4 - втулка передней вилки, 5 - продольный подкос, 6 - рулевой рычаг, 7 - кронштейн рулевого рычага, 8-бортовой лонжерон рамы, 9 - сиденье (основание - фанера толщиной 10 мм), 10 - кронштейн подшипника полувала, 11 - верхняя поперечная балка, дюралюминиевый уголок 40х40 мм, 12 - поперечный подкос, 13 - нижняя поперечная балка, дюралюминиевый уголок 40х40 мм, 14 - шатун, 15 - педаль, 16 - хребтовая балка рамы, деревянный брусок 25х50 мм, 17 - центральная опора полувалов, 18 - корпус подшипника, 19 - вал шатуна, 20 - гайка М10, 21 - шатун, 22 - подшипник

Несомненным и очень важным для веломобиля достоинством велопривода с храповой или другой обгонной муфтой является возможность плавного изменения передаточного отношения. Для этого достаточно ходовой тросик соединить с педалью через коромысло. Если управляющим тросиком подтянуть коромысло ближе к оси качания педали, сила, передаваемая муфте, возрастет, а ход уменьшится.

Завершает постройку веломобиля изготовление легкого фанерного или пластикового кузова. Он окантовывается дюралюминиевыми уголками и декоративными накладками. Хороший обзор и защиту от ветра обеспечат лобовое и заднее стекло из плексигласа, уют и комфорт - сиденья с поролоновыми подушками, обтянутые искусственной кожей. Из дополнительного оборудования будут полезны: велофары, световые указатели поворота, стоп-сигнал с питанием от батареи или велогенератора, катафоты, велоспидометр; обязательно зеркало заднего вида.

В нашей машине удобство и комфорт сочетаются с хорошими ходовыми качествами: движется веломобиль плавно, без рывков, шума от работы храповиков почти не слышно. Возможность изменять передаточное отношение и работать одновременно "в четыре ноги" обеспечивает отличную приемистость, позволяет легко преодолевать подъем до 15° и разгоняться до скорости 35 км/ч! Ребята, сделавшие этот веломобиль, с удовольствием катаются на нем даже зимой, уверяя, что ни полуметровые сугробы, ни гололед их машине не страшны.

Автор: В.И.Бородчнец

 Рекомендуем интересные статьи раздела Личный транспорт: наземный, водный, воздушный:

▪ Раздельная смазка двухтактного двигателя

▪ Хозяйственные санки

▪ В помощь ластам

Смотрите другие статьи раздела Личный транспорт: наземный, водный, воздушный.

Читайте и пишите полезные комментарии к этой статье.

<< Назад

Последние новости науки и техники, новинки электроники:

Алкоголь может привести к слобоумию 29.11.2025

Проблема влияния алкоголя на стареющий мозг давно вызывает интерес как у врачей, так и у исследователей когнитивного старения. В последние годы стало очевидно, что границы "безопасного" употребления спиртного размываются, и новое крупное исследование, проведенное международной группой ученых, вновь указывает на это. Работы Оксфордского университета, выполненные совместно с исследователями из Йельского и Кембриджского университетов, показывают: даже небольшие дозы алкоголя способны ускорять когнитивный спад. Команда проанализировала данные более чем 500 тысяч участников из британского биобанка и американской Программы миллионов ветеранов. Дополнительно был выполнен метаанализ сорока пяти исследований, в общей сложности включавших сведения о 2,4 миллиона человек. Такой масштаб позволил оценить не только прямую связь между употреблением спиртного и развитием деменции, но и влияние генетической предрасположенности. Один из наиболее тревожных результатов касается людей с повышенным ге ...>>

Искусственный мозговой матрикс 29.11.2025

Биоинженерия стремительно выходит за пределы традиционной работы с клетками и биоматериалами. Ученые пытаются не просто выращивать ткани, но и воссоздавать механизмы, управляющие жизнью клеток в реальном организме. Одним из наиболее амбициозных направлений стала разработка искусственных матриксов, которые могли бы подменить природную среду и дать исследователям возможность изучать работу мозга без участия биологических компонентов. На этом фоне работа специалистов Калифорнийского университета в Риверсайде представляет собой особенно заметный шаг вперед. В центре их исследования - платформа BIPORES, созданная полностью из синтетических веществ. Цель проекта заключалась в попытке смоделировать сложную, многослойную структуру внеклеточного матрикса, который в настоящем мозге обеспечивает питание, связь и организацию нервных клеток. При этом разработчики сознательно отказались от каких-либо белков, традиционно необходимых для прикрепления клеток, таких как ламинин или фибрин. Это решени ...>>

Ранняя Вселенная не была ледяной 28.11.2025

Понимание того, как формировались первые структуры во Вселенной, требует взгляда в эпохи, в которых не существовало ни звезд, ни галактик, ни привычных нам источников света. Научные группы по всему миру пытаются восстановить картину тех времен при помощи слабейших радиосигналов, оставшихся от водорода, который наполнял космос вскоре после Большого взрыва. Новые результаты, полученные на радиотелескопе Murchison Widefield Array в Австралии, неожиданным образом меняют представление об этих ранних этапах. Сразу после Большого взрыва, произошедшего около 13,8 миллиарда лет назад, пространство стремительно расширялось и остывало. Через несколько сотен тысяч лет образовался нейтральный водород, и началась так называемая эпоха тьмы, когда Вселенная была лишена источников излучения. Лишь значительно позже гравитация собрала газ в плотные области, где зародились первые звезды и ранние черные дыры, а их интенсивное излучение привело к реионизации водорода и окончательному появлению света. ...>>

Случайная новость из Архива

Тепловозы на спирте 25.10.2025

По мере глобальной декарбонизации транспорта инженеры и компании ищут способы сократить выбросы парниковых газов даже в железнодорожной отрасли. Одним из перспективных направлений становится использование биотоплива, в частности этанола, в сочетании с традиционным дизельным топливом. В Бразилии стартовали испытания тепловозов на двухтопливных двигателях, способных работать на смеси дизеля и этилового спирта.

Эти тесты проводятся в рамках партнерства бразильской горнодобывающей компании Vale и американского производителя подвижного состава Wabtec. Компании исследуют возможность применения двухтопливных двигателей для сокращения выбросов и повышения экологичности железнодорожного транспорта. Основная цель испытаний - определить оптимальное соотношение дизеля и этанола, обеспечивающее стабильную работу локомотивов и достаточную мощность двигателей.

Как сообщает ЦТС со ссылкой на zdmira, первоочередные проверки проходят в лабораторных условиях. Там инженеры оценивают эффективность работы двигателей на различных смесях топлива, влияние этанола на производительность и долговечность агрегатов, а также потенциальное снижение выбросов углекислого газа и других загрязняющих веществ.

Тестирование рассчитано до конца 2027 года. В случае положительных результатов возможно масштабирование технологии на весь парк локомотивов, работающих на железной дороге метровой колеи Estrada de Ferro Vitoria a Minas (EFVM), принадлежащей Vale. Такой переход позволит компании значительно продвинуться в реализации программы декарбонизации, принятой в начале 2025 года.

В рамках этой программы Vale уже приобрела у Wabtec 50 тепловозов семейства Evolution, способных работать на топливной смеси с содержанием биотоплива до 25%. В ближайшие годы совместные испытания будут направлены на увеличение доли этанола в смеси, что позволит снизить углеродный след перевозок без потери мощности локомотивов.

Использование этанола в железнодорожных двигателях демонстрирует стремление индустрии сочетать эффективность транспорта и заботу об экологии. Двухтопливные локомотивы открывают перспективу снижения зависимости от ископаемого топлива и перехода на более устойчивые источники энергии, соответствующие современным требованиям к декарбонизации.

Другие интересные новости:

▪ Opel Frontera 2024

▪ Умный телескоп Finder TW2

▪ 2004 год глазами Intel

▪ Оценочная плата STEVAL-IDB009V1

▪ Наушники Xiaomi Buds 4 Pro

Лента новостей науки и техники, новинок электроники

 

Интересные материалы Бесплатной технической библиотеки:

▪ раздел сайта Освещение. Подборка статей

▪ статья Клочок бумаги. Крылатое выражение

▪ статья Где зимуют змеи? Подробный ответ

▪ статья Инжир. Легенды, выращивание, способы применения

▪ статья Микроконтроллеры. Справочник

▪ статья Конвертор с диапазона 50 МГц в 24 МГц. Энциклопедия радиоэлектроники и электротехники

Оставьте свой комментарий к этой статье:

Имя:


E-mail (не обязательно):


Комментарий:





Главная страница | Библиотека | Статьи | Карта сайта | Отзывы о сайте

www.diagram.com.ua

www.diagram.com.ua
2000-2025