Бесплатная техническая библиотека
Выдвижной бардачок для мотоцикла. Личный транспорт

Справочник / Личный транспорт: наземный, водный, воздушный
Комментарии к статье
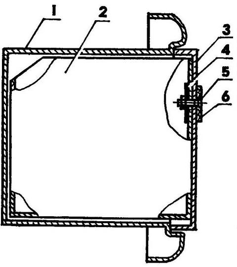
Крышка багажника мотоцикла "Восход-3М" держится довольно плохо и может в любой момент потеряться. Чтобы этого не случилось, я навесил ее на отрезок рояльной петли, сделав прорезав самой крышке и в стенке бардачка. Петлю прикрепил стальными заклепками.
Крышка багажника на петле: 1 - крышка; 2,5 - заклепки (сталь, d3); 3 - уплотнитель (резина); 4 - рояльная петля; 6 - стенка багажника
Позже крышка стала греметь и - хуже того - пропускать влагу. Поскольку под багажником находится часть электрооборудования мотоцикла (реле-прерыватель и пр.), пришлось по контуру крышки приклеить уплотнитель, вырезанный из старой резиновой камеры от мотоциклетного колеса.
Однако даже доработанный багажник "Восхода" не полностью отвечает своему назначению. Чтобы в нем действительно можно было держать мелкие вещи без риска растерять их по дороге, я оборудовал бардачок-выдвижной ящик, как у письменного стола. Для этого к тыльной стороне крышки багажника прикрепил коробку, объем которой близок к объему бардачка. Теперь хранящиеся в нем вещи не вываливаются на дорогу, как было раньше, стоило лишь открыть его.
Выдвижной бардачок: 1 - стенка багажника; 2 - выдвижная коробка; 3 - крышка багажника; 4 - накладка (стальная полоса); 5 - болт М6 (2 шт.); 6 - декоративная планка (пластмасса)
Коробку я подобрал готовую. Однако ее можно сделать и самостоятельно из стального или алюминиевого листа. Главное, чтобы коробка плотно входила в багажник. К крышке она крепится двумя болтами М6 с усиливающей накладкой изнутри и декоративной планкой снаружи.
Полагаю, что такое техническое решение может найти применение и на мотоциклах других марок. Разумеется, с учетом их конструктивных особенностей.
Автор: Д.Яковлев
Рекомендуем интересные статьи раздела Личный транспорт: наземный, водный, воздушный:
▪ Мотосани Пингвин
▪ Аквапед-поплавок
▪ Парамотор Татуш 120
Смотрите другие статьи раздела Личный транспорт: наземный, водный, воздушный.
Читайте и пишите полезные комментарии к этой статье.
<< Назад
Последние новости науки и техники, новинки электроники:
Хорошо управляемые луга могут компенсировать выбросы от скота
15.02.2026
Животноводство, особенно разведение крупного рогатого скота, часто обвиняют в значительном вкладе в глобальное потепление из-за мощного парникового газа - метана, который выделяется при пищеварении у жвачных животных. Это вызывает острые политические споры и призывы к сокращению потребления мяса. Однако ученые напоминают, что полная картина климатического воздействия отрасли не ограничивается только выбросами от животных: огромную роль играет окружающая экосистема - пастбища, почва и растительность, которые способны активно поглощать углекислый газ из атмосферы.
Исследователи из Университета Небраски-Линкольна решили глубже изучить этот баланс. Группа под руководством профессора Галена Эриксона сосредоточилась на том, как правильно организованные пастбища накапливают углерод в растениях и грунте благодаря естественным процессам, стимулируемым выпасом скота. Ученые подчеркивают, что при достаточном уровне осадков и грамотном управлении такие луга превращаются в мощные природные погло ...>>
NASA тестирует инновационную технологию крыла
15.02.2026
Коммерческая авиация ежегодно расходует колоссальные объемы керосина, что сказывается не только на бюджете авиакомпаний, но и на состоянии окружающей среды. В 2024 году глобальные затраты на авиационное топливо достигли 291 миллиарда долларов, и эта сумма продолжает расти. Чтобы справиться с этими вызовами, NASA активно работает над технологиями, способными заметно повысить аэродинамическую эффективность самолетов. Одним из самых перспективных направлений стало создание специальной конструкции крыла, которая максимизирует естественный ламинарный поток воздуха и минимизирует сопротивление.
В январе 2026 года специалисты NASA Armstrong Flight Research Center успешно провели важный этап наземных испытаний концепции Crossflow Attenuated Natural Laminar Flow (CATNLF). Для эксперимента под фюзеляж исследовательского самолета F-15B закрепили вертикально ориентированную масштабную модель высотой около 0,9 м (3 фута), напоминающую узкий киль. Такая компоновка позволила подвергнуть прототип р ...>>
Забота о внуках очень полезна для здоровья мозга
14.02.2026
Общение между поколениями приносит радость всей семье, но мало кто задумывается, насколько активно бабушки и дедушки, заботящиеся о внуках, поддерживают свою умственную форму. Регулярное взаимодействие с детьми стимулирует мозг пожилых людей, помогая сохранять память, скорость мышления и общую когнитивную активность.
Новые научные данные подтверждают, что такая добровольная помощь не только важна для общества, но и может замедлять возрастные изменения в мозге.
Исследователи из Тилбургского университета в Нидерландах провели анализ, чтобы понять, приносит ли уход за внуками реальную пользу здоровью пожилых людей. Ведущий автор работы Флавия Черечес отметила, что многие бабушки и дедушки регулярно присматривают за детьми, и оставался открытым вопрос, насколько это положительно сказывается на их собственном благополучии, особенно в плане когнитивных функций.
Ученые поставили цель выяснить, способен ли регулярный уход за внуками замедлить снижение памяти и других умственных способ ...>>
Случайная новость из Архива Создана растворимая электроника, пригодная для имплантации
06.10.2012
Американские биоинженеры научились изготавливать "растворимые" электронные имплантаты, которые можно уничтожить прямо внутри организма, не прибегая к хирургическим операциям, и опубликовали инструкции по сборке таких приборов в статье в журнале Science. Инженеры из Университета Тафтса и Университета Иллинойса разработали способ производства растворимой электроники - устройств, которые через некоторое время после имплантации самостоятельно распадаются и выводятся из организма.
Основой растворимых электронных устройств стал натуральный шелк. Ранее авторы исследования научились создавать из него тонкие пластинки, которые можно было использовать в качестве подложки для проводов и микрочипов. Варьируя толщину и плотность шелка, инженеры могли контролировать скорость растворения устройства в организме. Для создания проводов инженеры предложили использовать металлический магний. Из-за высокой реакционноспособности его практически не применяют в электронике. Однако для создания растворимых устройств химическая активность оказалась преимуществом. Из-за нее тонкие пленки металла под действием воды со временем окисляются и превращаются в ионы.
В качестве полупроводников авторы использовали обычный кремний. Инженеры показали, что его достаточно тонкие пластины относительно быстро растворяются в водной среде. Например, при толщине в 100 нм пластинка использованного инженерами кремния растворялась со скоростью 4,5 нм в сутки.
Роджерс и его коллеги уже много лет пытаются найти идеальный рецепт для изготовления "растворимой" электронике, экспериментируя с различными органическими и неорганическими соединениями. Как отмечают ученые, все компоненты такой электроники - изолирующие подложки, проводники и полупроводники - должны беспрепятственно выводиться из организма, не нанося ему вреда. Кроме того, готовый прибор должен быть достаточно гибким и компактным для успешной имплантации под кожу или в другие части тела человека.
Чистый магний и его оксид используются в качестве "строительного материала" для проводящих электродов и диэлектрической подложки для транзисторов. Тончайшие полоски кремния необходимы для работы транзисторов и других полупроводниковых приборов, в том числе датчиков температуры, микроскопических фотосенсоров и фотокамер. Молекулы биополимера, составляющего основу шелка, используются в качестве гибкой и растворимой оболочки прибора.
Биоинженеры полагают, что применение таких приборов не ограничивается медициной и нательной электроникой. В частности, сотовые телефоны и другие портативные электронные устройства на базе растворимых компонентов можно будет утилизировать, закапывая в землю или растворяя в воде.
|
Другие интересные новости:
▪ Татуировки мешают потеть
▪ Атомный транзистор
▪ Камеры и сенсоры серии Philips Hue Secure
▪ Фулереновые мячики в энергетике
▪ Спасательный манжет
Лента новостей науки и техники, новинок электроники
Интересные материалы Бесплатной технической библиотеки:
▪ раздел сайта Инфракрасная техника. Подборка статей
▪ статья О если б без слов сказаться душой было можно! Крылатое выражение
▪ статья Как изменилась вероятность получения мозговой травмы после внедрения боксерских перчаток? Подробный ответ
▪ статья Подводная молния. Детская научная лаборатория
▪ статья Термометр для газового водонагревателя. Энциклопедия радиоэлектроники и электротехники
▪ статья Стакан ползет! Физический эксперимент
Оставьте свой комментарий к этой статье:
Главная страница | Библиотека | Статьи | Карта сайта | Отзывы о сайте

www.diagram.com.ua
2000-2026