Menu Home

Бесплатная техническая библиотека для любителей и профессионалов Бесплатная техническая библиотека


Микроавтомобиль Мышонок. Личный транспорт

Личный транспорт: наземный, водный, воздушный

Справочник / Личный транспорт: наземный, водный, воздушный

Комментарии к статье Комментарии к статье

Первый микроавтомобиль "Мышонок" я построил для моих детей. В результате я накопил некоторый опыт конструирования и задумал уже не детскую, а "взрослую" машину - для себя. Назвал ее "Мышонок-2". Строил долго, вернее, не столько строил, сколько искал необходимые детали, узлы. Этим, в частности, объясняется применение в "Мышонке-2" механических тормозов (сейчас я меняю их на гидравлические). Разработка чертежей и постройка велись одновременно, хотя основные параметры "Мышонка-2" были продуманы мною заранее.

Приведу его краткую техническую характеристику. Это двухместный четырехколесный автомобиль с двигателем мощностью 14 л. с. (рабочий объем 346 см3 расположенным сзади. Оборудован двумя независимыми тормозными системами: основной (рабочей) с педальным приводом на все колеса и запасной (стояночной] с рычажным приводом только на задние колеса.

Микроавтомобиль Мышонок
Рис. 1. Общий вид "Мышонка-2"

Автомобиль динамичен и устойчив. Тормозной путь при скорости 30 км/ч не более 6,5 м. Наименьший радиус поворота по оси следа внешнего колеса - 4,5 м. Максимальная скорость 65 км/ч.

Электрооборудование - от мотоколяски СЗД, 12-вольтовое, немного видоизмененное. В него входят приборы внешнего освещения и световой сигнализации, звуковой сигнал, стеклоочиститель, контрольно-измерительные приборы.

Микроавтомобиль Мышонок
Рис. 2. Компоновка автомобиля: 1 - передние буферы, 2 - подфарники - указатели поворота, 3 - выдвижные фары с крышками, 4 - аккумулятор, 5 - передний мост, 6 - рулевой вал, 7 - багажное отделение, 8 - педали тормоза и сцепления, 9 - педаль газа, 10 - рукоятка ручного тормоза, 11 рычаг переключения передач и реверса, 12 - кресло водителя, 13 - подъемник фар, 14 - "монетки" декомпрессора и корректора, 15 - вентиль топливного крана, 16 - дифференциал с реверс-редуктором, 17 - цепь привода, 18 - двигатель, 19 - топливный бак, 20 - глушители, 21 - задний буфер, 22 - задние фонари

Салон отделан современными материалами, изолирован от мотоотсека шумопоглощающей панелью с пенопластовым наполнителем. Кресла водителя и пассажира анатомические, выклеены из стеклопластика, выложены поролоном и обшиты кожзаменителем; машина снабжена ремнями безопасности.

Автомобиль эксплуатируется с мая 1985 года. На спидометре уже много тысяч километров сахалинских дорог. Серьезных поломок в пути не было. Правда, должен отметить, что при полной загрузке мощности двигателя не хватает для преодоления часто встречающихся на наших дорогах крутых и затяжных подъемов. А это вынуждает включать первую передачу. Критически отношусь я также и к откидывающимся кверху дверям - не во всем они удобны. В остальном же машиной доволен.

Микроавтомобиль Мышонок
Рис. 3. Типовая схема стыковки панелей: 1 - труба остова, 2 - деревянная рейка-вкладыш с желобком, 3 - стеклопластиковые накладки, 4 - заделка стыка панелей стеклотканью, 5 - панель, 6 - шуруп

Теперь хотелось бы рассказать об особенностях конструкции "Мышонка-2".

Он собран в основном из запасных частей "Запорожца" и мотоколясок СЗА и СЗД. Кузов каркасный, с панелями из стеклопластика на трубчатом остове. Задний капот откидной или съемный, что обеспечивает свободный доступ к двигателю. Кузов - самая трудоемкая часть, на его сборку и оборудование затрачено три четверти времени.

Микроавтомобиль Мышонок
Рис. 4. Разбивка кузова на панели (нажмите для увеличения)

Сначала я изготовил макет кузова в натуральную величину. Только хотелось бы предостеречь: смесь песка с гипсом лучше не применять, так как ее трудно обрабатывать. Я использовал чистый гипс. Для экономии укладывал на сетку сначала бетон, а когда он схватывался наносил сверху слой гипса толщиной 15-20 см. Полностью высохшую поверхность макета шлифовал и красил нитроэмалью. Обработку вел очень тщательно, дабы огрехи не переходили на матрицы.

Затем разметил линии разъема панелей. Чтобы они четко отпечатывались на матрицах, прочертил их шилом на глубину примерно 1 мм По ним и подгонялись готовые панели.

Микроавтомобиль Мышонок
Рис. 5. Основные силовые элементы кузова: 1 - передние буферы, 2 - передний мост (рулевой механизм и рычаги подвески не показаны), 3 - рама автомобиля, 4 - окантовка багажного отделения, 5 - передние опоры остова кузова, 6 - трубы остова, 7 - нижние опоры остова, 8 - штанга двери, 9 - каркас двери, 10 - шарниры дверей, 11 - задние опоры остова, 12 - каркас капота, 13 - шарниры капота, 14 - задний буфер

Обычно матрицы делают из стеклопластика. Но мне необходимо было экономить смолу и стеклоткань, и пришлось отливать их, как и макет, из гипса и бетона.

Слепки каждой панели снимал отдельно: натирал поверхность макета тонким слоем вазелина или солидола и запивал гипсом, перекрывая линии разъема на 10-15 мм, а затем бетоном, армируя его стальными прутками d 5 мм. Для получения слепков с вертикальных поверхностей делал опалубку из досок и фанеры.

Микроавтомобиль Мышонок
Рис. 6. Остов кузова (нажмите для увеличения): 1 - передние опоры, 2 - нижние опоры, 3 - задние опоры, 4 - несущие трубы

После высыхания бетона (примерно через трое суток) снимал матрицы, досушивал гипсовый слой, тщательно обрабатывал и красил.

Основные несущие панели выклеивал из шести слоев стеклоткани с подкладкой двух слоев стеклорогожи, что давало толщину примерно 4 мм. Стеклоткань перед этим обжигал пламенем паяльной лампы чтобы она лучше впиты ала смолу. Обжигал с большой осторожностью, так как в местах пережога ткань крошится.

Микроавтомобиль Мышонок
Рис. 7. Рама автомобиля (нажмите для увеличения): 1 - кронштейны крепления переднего моста, 2 - кронштейны крепления рычага переключения передач и реверса, 3 - опоры кресла пассажира, 4 - боковые узлы подстыковки остова кузова, 5 - петли крепления кресла пассажира, 6 - опоры подушек подмоторной рамы, 7 - буксирная вилка, 8 - цапфы капота, 9 - уголки 40х40 мм, 10 - узлы крепления задней подвески колес.

Из-за того, что клей быстро густеет, пришлось готовить его небольшими порциями Состав: эпоксидная смола (100 см3), пластификатор (10 см3) и отвердитель (10 см3). Можно обойтись и без пластификатора. Если смола слишком густа, допускается добавка в нее ацетона или растворителей № 646 или № 648 (не более 10% общего объема). Однако, учитывая что такие добавки несколько снижают прочность изделия, использовать их следует в крайнем случае.

Для получения желаемого колера в смолу вводится краситель - обыкновенная художественная масляная краска из тюбика (перед добавкой отвердителя).

Микроавтомобиль Мышонок
Рис. 8. Двигатель на подмоторной раме: 1 - двигатель, 2 - регулировочный винт, 3 - переходник, 4 - передний кронштейн крепления двигателя, 5 - подмоторная рама, 6 - тяги подвески дифференциала, 7 - дифференциал с реверс-редуктором, 8 - защитный поддон, 9 - задний кронштейн крепления двигателя, 10 - пластина навески глушителей, 11 - левый глушитель.

Перед выклейкой панелей я кроил стеклоткань по слоям ножом на листе фанеры (линолеума) и складывал куски стопкой. Клеил за один прием с непродолжительными перерывами для отдыха или разведения новой порции.

После укладки в матрицу последнего слоя стеклоткани накрывал все полиэтиленовой пленкой и, сделав опалубку, засыпал поверхность песком. Через сутки снимал песчаный пресс и оставлял панель "дозревать" в матрице еще трое суток. Полностью смола полимеризуется за неделю.

Микроавтомобиль Мышонок
Рис. 9. Подмоторная рама (нажмите для увеличения): 1 - передний кронштейн крепления двигателя, 2 - продольные лонжероны, 3 - поперечные лонжероны, 4 - защитный поддон, 5, 6 - тяги подвески дифференциала, 7 - щеки заднего кронштейна крепления двигателя, 8 - стяжные шпильки, 9 - отверстия под шпильки подвески дифференциала, 10 - ребра жесткости, 11 - труба под хомут заднего кронштейна, 12 - хомут.

Проем для лобового стекла в передней панели я подгонял под рамку из двухмиллиметрового алюминиевого листа. Потом эта рамка вклеивается в панель и в нее вставляется лобовой триплекс от автомобиля ЗАЗ-968. Таким же образом изготавливалась и задняя остекленная панель.

Готовые панели я обрезал по линиям разъема на макете кузова и подгонял к трубчатому остову. Панели к нему крепил шурупами, выбирая зазоры деревянными рейками с желобками и подклеивая их изнутри 4-6 слоями стеклоткани. Стыки между панелями разделывал ступеньками и заполнял полосками стеклоткани на клею.

Микроавтомобиль Мышонок
Рис. 10. Установка переходника: 1 - передний кронштейн крепления двигателя, 2 - переходник, 3 - регулировочный винт, 4 - регулировочное отверстие, 5 - стяжная шпилька

Собранный кузов окончательно шпаклевал и шлифовал, готовя к окраске. Неровности заделывал шпаклевкой на основе все того же эпоксидного клея, добавляя в него наполнители: тальк, алюминиевую пудру и тому подобное.

Остов кузова собран из тонкостенных стальных труб, к ним приварены узлы крепления к раме автомобиля: передние, нижние и задние опоры. Трубчатую конструкцию имеет и каркас откидного капота. При необходимости последний можно вообще снять, например при ремонте двигателя.

Микроавтомобиль Мышонок
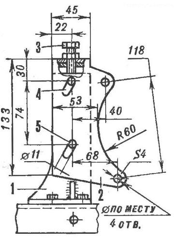
Рис. 11. Рычаг переключения передач и реверса: 1 - рычаг, 2 - кожух, 3 - сектор переключения передач с диском, 4 - сектор реверса, 5 - прижимная пластина, 6 - палец, 7 - уголок рамы автомобиля, 8 - вилка тяги реверса, 9 - вилка тяги переключения передач, 10 - кронштейн крепления рычага, 11 - заглушка, 12 - пружина фиксатора, 13 - шарик фиксатора, 14 - тяга переключения передач

Основной же силовой элемент кузова - жесткая рама из стальных труб и уголков. Она несет на себе остов, капот, передний мост, двигатель с подмоторной рамой и дифференциалом, подвески задних колес, багажник и так далее. Для крепления этих агрегатов предусмотрены кронштейны, узлы и опоры.

Спереди на раме установлен мост от мотоколяски СЗА, доработанный под колодочные тормоза от грузового мотороллера.

Микроавтомобиль Мышонок
Рис. 12. Задняя подвеска: 1 - силовая передача, 2 - рама автомобиля, 3 - рычаг подвески, 4 - опоры подвески, 5 - накладка, 6 - ступица колеса, 7 - проушины крепления рычага подвески, 8 - втулки, 9 - резиновые вкладыши, 10 - палец, 11 - корпус нижнего узла крепления амортизатор а, 12 - ребро, 13 - проушины верхнего узла крепления амортизатор а, 14 - косынка

На задней части рамы на самодельных резиновых подушках смонтирована лодмоторная рама с силовой установкой от мотоколяске СЗД, развернутой на 180°. Передняя стойка ее крепления - переходник, смещенный вертикально относительно кронштейна крепления двигателя. Задняя точка - шарнирная: кронштейн, охватывая хомутом трубу подмоторной рамы, допускает небольшой поворот силовой установки в вертикальной плоскости. Так сделано для натяжения приводной цепи регулировочным винтом, который, отжимаясь от опорной площадки переднего кронштейна. приподнимает двигатель. Фиксация степени натяжения цепи осуществляется хомутом и стяжными шпильками (см. рис. 9 и рис. 10).

Крутящий момент передается роликовой однорядной целью с шагом 15,875 мм дифференциалу с реверс-редуктором от грузового мотороллера. Дифференциал подвешен на четырех шпильках под двигателем на тягах подмоторной рамы. В принципе он мало чем отличается от мотоколясочного - такой же компактный и надежный. Однако для получения требуемого числа оборотов колес пришлось изготовить для него новую звездочку с 16 зубьями.

Микроавтомобиль Мышонок
Рис. 13. Глушители: 1 - стяжной болт, 2 - хомут, 3 - кожух глушителя, 4 - подводящий патрубок, 5 - накидная гайка, 6 - пластина навески на задний кронштейн крепления двигателя, 7 - эжектор, 8 - перфорированная труба, 9 - донышко, 10 - выхлопной патрубок

Коробка передач, как известно, встроена непосредственно в двигатель, а реверс - в дифференциал. Для управления ими необходимо иметь два рычага с раздельным приводом. Я же применил единый привод переключения и передач, и реверса, что намного упростило управление автомобилем.

Рычаг переключения в кабине установлен шарнирно между двумя секторами передач и реверса и постоянно прижат пружиной к первому. В нейтральном положении секторы фиксируются шариками, которые под действием своих пружин входят в канавки дисков.

Микроавтомобиль Мышонок
Рис. 14. Доработанный амортизатор: 1 - амортизатор, 2 - тарелки под дополнительную пружину, 3 - резиновый буфер, 4 - пружина амортизатора, 5 - дополнительная пружина, 6 - сухарь

Для заднего хода сектора передач переводят рычагом вперед - включают первую передачу. Затем рычаг возвращают в нейтральное положение (передача при этом не выключается) и вновь, но уже с сектором реверса, подают вперед, включая задний ход.

Остальные органы управления двигателем - педали газа, сцепления и замок зажигания - обычные, штатные.

Микроавтомобиль Мышонок
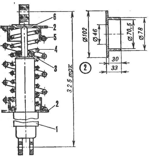
Рис. 15. Ступица заднего колеса (нажмите для увеличения): 1 - полуось с карданным шарниром, 2 - ось ступицы, 3 - корпус ступицы, 4 - роликоподшипник 5 - фланец тормозного щита, 6 - диск колеса И тормозного барабана, 7 - сегментная шпонка, 8 - гайка крепления диска, 9 - внутренний обод, 10 - тормозной барабан, 11 - наружный обод, 12 - тормозная колодка, 13 - тормозной щит

Компоновка силовой установки в мотоотсеке продиктовала и замену одного заводского глушителя на два самодельных - первый не вписывался в подкапотное пространство.

Глушители сварил из листовой стали. Подсоединил их к выхлопным патрубкам цилиндров (накидными гайками) и к кронштейну крепления двигателя (пластинами навески). Следует отметить, что звук выхлопа у самодельных глушителей погромче, чем у заводского. Вероятно, сказывается их малый внутренний объем. Однако на мощности двигателя это не отражается.

Микроавтомобиль Мышонок
Рис. 16. Ступица переднего колеса (нажмите для увеличения): 1 - роликоподшипник, 2 - сальник, 3 - поворотный кулак, 4- дополнительный фланец, 5 - болт крепления тормозного щита, 6 - ступица, 7 - тормозной щит, 8 - тормозная колодка, 9 - тормозной барабан, 10 - стяжной болт, 11, 12 - ободья колеса, 13 - кольцо-проставка.

Задний мост собран из двух самодельных независимых подвесок с продольным качанием рычагов. Рычаги из толстостенных стальных труб d 32 мм я установил опорами в ушках - узлах крепления к раме автомобиля.

К противоположным концам рычагов приварил ступицы задних колес и нижние узлы крепления амортизаторов, представляющие собой цилиндрические корпуса с втулками под осевые болты и резиновыми вкладышами.

Микроавтомобиль Мышонок
Рис. 17. Компоновка привода выдвижных фар (нажмите для увеличения): 1 - подшипник, 2 - ось корпуса, 3 - корпус фары, 4 - винт крепления полки, 5 - тросик спидометра, 6 - рукоятка привода, 7 - тяга, 8 - рычаг, 9 - корпус подшипника вала, 10 - распорная втулка с валом, 11 - корпус редуктора, 12- панель крепления фары, 13 - фара

Верхние узлы крепления амортизаторов - это проушины на косынках, приваренных к трубчатым элементам рамы автомобиля.

Ступицы и оси задних колес - от грузового мотороллера; обода и детали тормозов - от мотоколяски СЗД. В единое целое они соединены фланцами и дисками.

Микроавтомобиль Мышонок
Рис. 18. Механизм привода фар: 1 - рукоятка, 2 - маховик, 3 - корпус вертушки, 4 - тросик спидометра, 5 - оболочка тросика, 6 - червячный вал, 7 - червячное колесо, 8 - корпус редуктора, 9 - фиксатор рычага, 10 - рычаг, 11 - корпус подшипника вала, 12 - вал, 13 - распорная втулка

Задний мост "Мышонка-2" сильно загружен, и упругости амортизаторов от мотоцикла "Урал", как выяснилось, недостаточно. Поэтому их пришлось доработать - установить дополнительные пружины, которые я сделал из одной пружины задней подвески автомобиля ЗАЗ-968, разрезав ее газовой горелкой. Края разрезов, пока они были горячие, подогнул, а затем обточил на наждаке для точной посадки в тарелки.

Более сложной переделке амортизаторы не подвергались. Я удалил лишь наружные кожухи. А чтобы грязь не попадала на штоки, применил защитные чехлы из тонкой парусины.

Микроавтомобиль Мышонок
Рис. 19. Звездочка дифференциала

Силовые полуоси с карданными шарнирами - также от грузового мотороллера. Но поскольку колея "Мышонка" шире, то их пришлось удлинить. Полуоси я разрезал пополам и впрессовал в стальную втулку. Подогнав их длину по месту, приварил друг к другу.

Подвески передних колес собраны из деталей ходовой части мотоколясок СЗА и СЗД. Для соединения их между собой я выточил дополнительные фланцы и кольца-проставки. Детали ходовой части (кроме ступиц) не дорабатывал. А ступицы лишь обточил в трех местах, как показано на рисунке.

Любопытным элементом моей машины можно считать выдвижные фары. Подобные иногда встречаются в самодельных конструкциях. Днем, когда света достаточно, фары спрятаны в подкапотном пространстве, в вечернее же время их выдвигают наружу.

Фары у меня пока с ручным приводом (со временем он будет заменен на электрический), установленным в кабине. От вертушки к червячному редуктору с передаточным отношением 1 : 80 тянется тросик спидометра в оболочке. Далее, от червячного колеса редуктора вращение валом, спрятанным в распорной втулке, через рычаги и тяги передается корпусам фар, и те выдвигаются. Регулируются они смещением полок, которые фиксируются затем боковыми винтами крепления.

Автор: В.Веселов

 Рекомендуем интересные статьи раздела Личный транспорт: наземный, водный, воздушный:

▪ Трехполозные санки

▪ Подводный планер

▪ Сам себе байдарка

Смотрите другие статьи раздела Личный транспорт: наземный, водный, воздушный.

Читайте и пишите полезные комментарии к этой статье.

<< Назад

Последние новости науки и техники, новинки электроники:

Хорошо управляемые луга могут компенсировать выбросы от скота 15.02.2026

Животноводство, особенно разведение крупного рогатого скота, часто обвиняют в значительном вкладе в глобальное потепление из-за мощного парникового газа - метана, который выделяется при пищеварении у жвачных животных. Это вызывает острые политические споры и призывы к сокращению потребления мяса. Однако ученые напоминают, что полная картина климатического воздействия отрасли не ограничивается только выбросами от животных: огромную роль играет окружающая экосистема - пастбища, почва и растительность, которые способны активно поглощать углекислый газ из атмосферы. Исследователи из Университета Небраски-Линкольна решили глубже изучить этот баланс. Группа под руководством профессора Галена Эриксона сосредоточилась на том, как правильно организованные пастбища накапливают углерод в растениях и грунте благодаря естественным процессам, стимулируемым выпасом скота. Ученые подчеркивают, что при достаточном уровне осадков и грамотном управлении такие луга превращаются в мощные природные погло ...>>

NASA тестирует инновационную технологию крыла 15.02.2026

Коммерческая авиация ежегодно расходует колоссальные объемы керосина, что сказывается не только на бюджете авиакомпаний, но и на состоянии окружающей среды. В 2024 году глобальные затраты на авиационное топливо достигли 291 миллиарда долларов, и эта сумма продолжает расти. Чтобы справиться с этими вызовами, NASA активно работает над технологиями, способными заметно повысить аэродинамическую эффективность самолетов. Одним из самых перспективных направлений стало создание специальной конструкции крыла, которая максимизирует естественный ламинарный поток воздуха и минимизирует сопротивление. В январе 2026 года специалисты NASA Armstrong Flight Research Center успешно провели важный этап наземных испытаний концепции Crossflow Attenuated Natural Laminar Flow (CATNLF). Для эксперимента под фюзеляж исследовательского самолета F-15B закрепили вертикально ориентированную масштабную модель высотой около 0,9 м (3 фута), напоминающую узкий киль. Такая компоновка позволила подвергнуть прототип р ...>>

Забота о внуках очень полезна для здоровья мозга 14.02.2026

Общение между поколениями приносит радость всей семье, но мало кто задумывается, насколько активно бабушки и дедушки, заботящиеся о внуках, поддерживают свою умственную форму. Регулярное взаимодействие с детьми стимулирует мозг пожилых людей, помогая сохранять память, скорость мышления и общую когнитивную активность. Новые научные данные подтверждают, что такая добровольная помощь не только важна для общества, но и может замедлять возрастные изменения в мозге. Исследователи из Тилбургского университета в Нидерландах провели анализ, чтобы понять, приносит ли уход за внуками реальную пользу здоровью пожилых людей. Ведущий автор работы Флавия Черечес отметила, что многие бабушки и дедушки регулярно присматривают за детьми, и оставался открытым вопрос, насколько это положительно сказывается на их собственном благополучии, особенно в плане когнитивных функций. Ученые поставили цель выяснить, способен ли регулярный уход за внуками замедлить снижение памяти и других умственных способ ...>>

Случайная новость из Архива

Видеокапсула с дистанционным управлением как альтернатива эндоскопу 14.06.2023

Использование видеокапсул в качестве эндоскопического инструмента уже имеет некоторую историю, однако ранее их невозможно было контролировать, так как они полностью полагались на силу тяжести и перистальтику желудочно-кишечного тракта для передвижения. Однако исследователям удалось преодолеть это ограничение, создав таблетку с камерой и системой дистанционного управления.

Ученые из Школы медицины и медицинских наук Университета Джорджа Вашингтона разработали метод, который позволяет врачам управлять миниатюрной видеокапсулой под названием NaviCam, которую пациент проглатывает, и она проходит через всю пищеварительную систему, позволяя визуализировать и фотографировать потенциально проблемные участки. Для передвижения капсулы используются внешний магнит и джойстики.

"Традиционная эндоскопия - это инвазивная процедура, а также дорогостоящая. Видеокапсула с магнитным управлением может быть использована в качестве быстрого и простого способа диагностики проблем с верхними отделами пищеварительной системы, таких как язва или рак желудка", - говорит профессор неотложной медицины Школы медицины и медицинских наук Университета Джорджа Вашингтона, Эндрю Мельтцер.

Технология находится на стадии испытаний, однако первые результаты были обнадеживающими. Врачи смогли контролировать капсулу во всех основных частях желудка 40 пациентов с точностью визуализации на уровне 95%. Участники испытаний также проходили традиционную эндоскопию для подтверждения отсутствия поражений с высоким риском.

Первоначально камера предназначена для обнаружения кровотечений, воспалений и других проблем, а также может автоматически передавать видео и изображения для последующего просмотра. Предыдущие официальные исследования показали, что использование видеокапсулы не представляет опасности для здоровья, но она не может использоваться для проведения биопсии, так как остается внутри организма и естественным образом выходит из него.

В апреле этого года в Украине была проведена первая успешная процедура обследования ребенка с использованием видеокапсулы (без дистанционного управления) в Национальной детской специализированной больнице "Охматдит". Технология может использоваться для обследования детей в возрасте от 2 лет, и во время процедуры маленький пациент может свободно двигаться - прыгать, ходить, бегать, сидеть, лежать или играть. Через час после процедуры позволяется пить, а через три часа - принимать пищу.

Другие интересные новости:

▪ Хороший холестерин защищает печень от воспаления

▪ Найдена связь между непереносимостью глютена и муковисцидозом

▪ Золото красное и зеленое

▪ Антипринтер восстанавливает бумагу из копий

▪ Посетителей кафе обслуживают роботы

Лента новостей науки и техники, новинок электроники

 

Интересные материалы Бесплатной технической библиотеки:

▪ раздел сайта Мобильная связь. Подборка статей

▪ статья Проходить красной нитью. Крылатое выражение

▪ статья Какое растение может копировать листья многих других растений на одном и том же побеге? Подробный ответ

▪ статья Удавка с полуштыками. Советы туристу

▪ статья Автомобильная сигнализация. Энциклопедия радиоэлектроники и электротехники

▪ статья Синтезатор частоты диапазона 144 МГц. Энциклопедия радиоэлектроники и электротехники

Оставьте свой комментарий к этой статье:

Имя:


E-mail (не обязательно):


Комментарий:





Главная страница | Библиотека | Статьи | Карта сайта | Отзывы о сайте

www.diagram.com.ua

www.diagram.com.ua
2000-2026