Menu Home

Бесплатная техническая библиотека для любителей и профессионалов Бесплатная техническая библиотека


Вездеход-амфибия. Личный транспорт

Личный транспорт: наземный, водный, воздушный

Справочник / Личный транспорт: наземный, водный, воздушный

Комментарии к статье Комментарии к статье

Внедорожный вездеход-амфибия на шинах низкого давления, построенный студентвми и сотрудниками технолого-экономического факультета Вятского государственного педагогического университета, эксплуатируется уже более десяти лет. За это время подтвердились уникальные возможности машины. Вездеход уверенно передвигается по любой дороге, по непролазно грязному, заснеженному или болотистому бездорожью, по местности, покрытой кочками и кустами, преодолевает водные преграды. При собственной массе около 250 кг способен перевозить до 500 кг груза по воде и суше.

Вездеход выполнен по колесной схеме 4x4. Все его колеса сделаны управляемыми, что позволило уменьшить радиус поворота до 6 м (при меньшем угле поворота колес).

Впереди на корпусе установлен прозрачный щиток (органическое стекло в сварной раме из стального уголка), защищающий водителя от ветра и дождя, а также предотвращающий захлестывание водой кабины при съезде с крутого берега в реку. С этой же целью носовая часть корпуса сильно вытянута вперед и снабжена герметичными полостями под крыльями.

За открытой кабиной (кресло водителя и руль в ней немного смещены влево от продольной оси симметрии кузова) следует грузовой отсек, в котором, впрочем, свободно размещается и пассажир. Для защиты водителя и пассажира от непогоды может быть установлен складной тент. В корме располагается силовой агрегат, а над ним - вместительный багажник, сваренный из стального прутка диаметром 8 мм (допустима замена и на съемный автомобильный).

В конструкции амфибии целиком использован силовой агрегат мотоколяски СЗД - двигатель, коробка передач, главная передача, ступицы колес, тормоза (практически без изменений). Для привода передних колес добавлена еще одна главная передача.

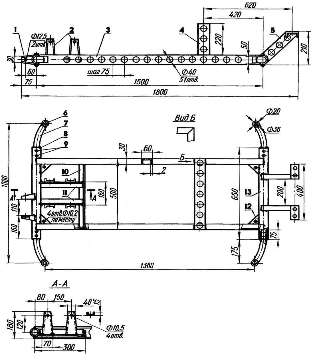
Рама вездехода сварная. Состоит из двух лонжеронов, балок переднего и заднего мостов, изогнутых цапф со втулками крепления поворотных кулаков колес, опор силового агрегата и парных кронштейнов крепления рулевого механизма и передней главной передачи.

Вездеход-амфибия
Вездеход-амфибия

Вездеход-амфибия
Компоновка вездехода (накладные багажник и топливный бак условно не показаны) (нажмите для увеличения): 1 - колесо рулевое; 2 - вал рулевой (рычаги акселератора и сцепления условно не показаны); 3 - редуктор рулевой; 4 - механизм рулевой; 5 - колесо; 6 - кулак поворотный; 7 -рама вездехода; 8 - цепь привода переднего моста; 9 - вал редуктора, промежуточный; 10 - передача главная, задняя; 11 - болт М10 крепления рамы вездехода к корпусу (4 шт.); 12 - рама силового агрегата; 13 - глушитель; 14 - агрегат силовой; 15 - цепь привода промежуточного редуктора; 16 - контур пола грузового отсека; 17 - корпус вездехода; 18 - сиденье водителя; 19 - тяга передней рулевой трапеции; 20 - рейка рулевого механизма; 21 - серьга; 22 - палец шаровой; 23 - план-шайба колеса; 24 - шпилька колеса; 25 - вкладыш пенопластовый; 26 - диск колеса; 27 - муфта шлицевая; 28 - фланец защитного чулка; 29 - полуось; 30 - крестовина; 31 -чулок защитный; 32 - винт гребной; 33 - редуктор гребного винта; 34 - цепь привода редуктора гребного винта; 35 - рычаг передаточного вала, задний; 36 - кронштейн с опорой скольжения; 37 - палец задней рулевой трапеции; 38 - втулка (опора скольжения); 39 - рычаг поворотного кулака; 40 - вал промежуточный; 41 - вал передаточный; 42 - передача главная, передняя

Вездеход-амфибия
Рама вездехода (нажмите для увеличения): 1 - кронштейн крепления рулевого механизма (сталь, лист s4, 2 шт.); 2 - кронштейны крепления переднего редуктора (сталь, лист s4, 4 шт.); 3 - лонжерон (перфорированный швеллер, 2 шт.); 4,5 - опоры двигателя; 6 - втулка крепления новоротного кулака (труба 36x8, 4 шт.); 7 - цапфа (труба 40x5, 4 шт.); 8 - балка переднего моста (труба 50x5); 9 - болты М10 (8 шт.); 10 - поперечина (уголок 30x30); 11 - перекладины (уголок 30x30); 12 - косынка (сталь, лист s5, 4 шт.); 13 - балка заднего моста (труба 50x5)

Вездеход-амфибия
Примеры соединения элементов корпуса: 1 - борт (фанера s8... 10); 2 - шуруп; 3 - слои стеклоткани; 4 - отверстия (Ø3, шаг 20 мм вдоль шва) для заполнения эпоксидной смолой; 5 - дно (фанера s8...10)

Вездеход-амфибия
Поворотный кулак (передний правый или задний левый; остальные - зеркально отраженный вид)

Вездеход-амфибия
Узел регулировки угла схождения колеса: 1 - тяга рулевой трапеции; 2 - втулка резьбовая; 3 - контргайка; 4 - наконечник

Рама выполняет в основном компоновочную функцию; жесткость и прочность всей конструкции вездехода придает его корпус, связанный с рамой четырьмя болтами М10, хотя он и не имеет силового набора. Его панели вырезаны из многослойной фанеры толщиной 8-10 мм и состыкованы с помощью шурупов 4x25 и эпоксидной смолы. Затем стыковые кромки панелей просверлены с шагом 20 мм для того, чтобы клей проник в отверстия и застыл там наподобие гвоздей, и облеплены с обеих сторон лентами из стеклоткани на эпоксидной смоле в 2-3 слоя. После этого корпус был целиком покрыт двумя слоями стеклоткани на "эпоксидке". В последний слой смолы добавлены пигмент и алюминиевая пудра.

Интересно, на наш взгляд, решена задача герметизации корпуса в местах выхода мостов. Проемы в корпусе оконтурены кольцами из алюминиевого уголка с резиновыми прокладками. К этим кольцам посредством таких же колец чуть большего диаметра и винтов М5 прикреплены широкие чулки из прорезиненной ткани. Другим концом чулки присоединены к тормозным щитам колес хомутами из профилированной стальной ленты. Чулки сделаны с запасом по длине, чтобы колеса могли поворачиваться в необходимых пределах.

Таким образом, вся трансмиссия, силовой агрегат и другие системы были хорошо изолированы от воды, пыли и грязи, что значительно повысило их ресурс и надежность работы. Заметно увеличилось и водоизмещение корпуса - для амфибии это немаловажно.

В системе управления вездеходом использованы рулевой механизм, рулевое колесо и вал с рычагами привода акселератора и сцепления от СЗД (ручное управление подобной машиной нам представляется более удобным). Рулевой редуктор, тяги рулевой трапеции и поворотные кулаки колес - собственной конструкции.

Каждый поворотный кулак вырезан из ствльной пластины толщиной 10 мм. В заготовке просверлены отверотия под ступицу колеса и болты ее крепления. Позже к ней приварены соосные втулки и рычаг с отверстием для шарового пальца. С помощью этих втулок и шкворня поворотный кулак шарнирно крепится к цапфе рамы.

При такой конструкции максимальный поворот колеса ведет к некоторому изменению (в пределах 10 мм) расстояния между концами полуоси и вала главной передачи, что вполне допустимо и компенсируется штатной шлицевой муфтой привода. Кстати, на вездеходе использованы четыре ступицы ведущих (задних) колес СЗД.

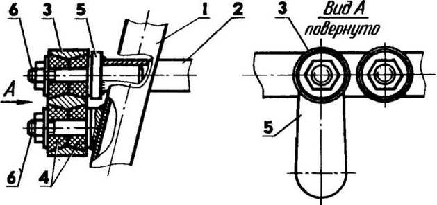
Тяги рулевых трапеций - из стальной трубы диаметром 25 мм, в концы которых ввинчены наконечники с контргайками, что позволяет регулировать углы схождения колес. Тяга передней рулевой трапеции приводится в движение через приваренную к ней серьгу и шаровой палец непосредственно от зубчатой рейки рулевого механизма.

Для управления задними колесами передняя и задняя рулевые трапеции соединены передаточным валом с рычагами на концах. Вал поворачивается в опорах скольжения, закрепленных на правом лонжероне рамы. Рычаги через втулки шарнирно соединены с пальцами, приваренными к рулевым тягам. Так обеспечивается синхронный поворот передних и задних колес в разные стороны. Приведенная конструкция представляется нам более простой и компактной по сравнению с системой из рычагов, маятниковых опор и тяг, применяемой в подобных случаях.

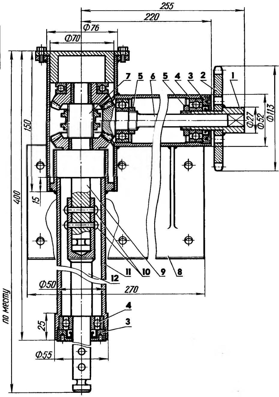
Компоновка вездехода такова, что оси рулевого вала и рулевого механизма оказались под углом 60°. Поэтому пришлось изготовить редуктор с двумя коническими зубчатыми колесами, размещенными в корпусе из алюминиевого сплава. Редуктор прикреплен к корпусу вездехода двумя кронштейнами из стального листа толщиной 3 мм.

Для снижения частоты вращения больших по диаметру колес и увеличения вращающего момента силовой агрегат снабжен промежуточным валом, обеспечивающим передаточное число около двух. Использован слегка доработанный промежуточный вал от какого-то мотоблока с одной звездочкой z = 21 и двумя - z = 11. Трубчатый вал свободно вращается в игольчатых подшипниках на оси, которая неподвижно установлена в отверстиях щек, притянутых к раме силового агрегата в местах крепления главной передачи.

Промежуточный вал приводится во вращение цепью от ведущей звездочки вторичного вала коробки передач. Также цепями промежуточный вал соединен со звездочками первичных валов передней и задней главных передач (первичные валы перед этим были перевернуты, что несложно было сделать из-за их симметричности).

Расстояние между осями промежуточного и первичного валов передней главной передачи составляет около 900 мм. Требуется натяжение цепи, чтобы исключить ее провисание и контакт с корпусом. Натяжение осуществляется за счет отклонения силового агрегата на упругой подвеске с помощью раздвижной штанги (на чертежах не показана).

В процессе эксплуатации вездехода выяснилось, что штатные резинометаллические муфты полуосей СЗД недостаточно прочны и быстро выходят из строя. Кроме того, их упругость значительно увеличивала усилие на рулевом колесе, необходимое для управления машиной. Поэтому они были заменены на карданные шарниры (крестовины) от автомобиля УАЗ. Полуоси и шлицевые муфты - от СЗД, их концы обрезаны, и к ним приварены вилки карданных шарниров.

Конструкция трансмиссии позволяет включать отдельно передний и задний мосты. Опыт показал, что необходимость их одновременной работы достаточно редка: как правило, на особо тяжелых участках - при выезде из воды на берег, езде по высоким кочкам и так далее. Однако, именно на таких режимах возможно быстрое накопление разности хода передних и задних колес за счет разницы их размеров, воздушного давления, неравномерности вращения на неровной поверхности, что приводит к появлению излишних напряжений в трансмиссии за счет "циркуляции мощности". Это чревато разрывом цепей, поломкой шестерен в редукторах и даже разрушением их корпусов (все это у нас случалось).

Для предотвращения этих явлений механизм включения переднего хода главной передачи заднего моста был доработан. Тыльные, нерабочие части кулачков шестерни переднего хода и кулачковой муфты, входящие в зацепление друг с другом, были сняты на наждаке под углом 45°. Таким образом, при возникновении обратного момента на колесах редуктор теперь либо автоматически ставится в нейтральное положение, либо превращается в обгонную муфту.

Известно, насколько блокировка дифференциала повышает проходимость транспортного средства в тяжелых условиях. В нашем случае это особенно важно при выезде из воды на берег и движении по снегу. Однако обеспечить блокировку штатного дифференциала главной передачи СЗД без больших переделок не представляется возможным. Более простой путь - превращение дифференциала в обгонную муфту. Для этого семь из десяти зубьев у каждого сателлита были сточены на наждаке; впадина между двумя из трех оставшихся заполнена расплавленным металлом при помощи электросварки; а сателлиты подпружинены на пальце, превратившись в собачки храпового механизма, каждый для своей полуосевой шестерни. Таким образом, обеспечиваются свободное вращение полуосевых шестерен быстрее коробки (чашек) дифференциала (при вхождении, например, внешнего колеса в поворот), синхронное вращение колес и высокая проходимость на бездорожьи при движении по прямой и при буксовании. И в итоге - удовлетворительная управляемость вездехода.

Недостаток такого способа "блокировки" - невозможность использования переднего моста на заднем ходу (у нас из передней главной передачи шестерня заднего хода удалена), но преимуществ все же больше.

Важная часть подобных машин - колеса и шины, ибо именно они обеспечивают их повышенную проходимость. Отсутствие подходящих колес промышленного изготовления заставляет самодеятельных конструкторов находить свои пути.

Наши колесные диски - это алюминиевые тазы диаметром 450 мм. Надо сказать, что изготовлены они из довольно толстого листа (2 мм). Сейчас в продаже чаще встречаются более тонкие (1 мм), они годятся только для использования по своему прямому назначению. Диски между собой и с внутренними план-шайбами из дюралюминиевого листа толщиной 5 мм скреплены пятью винтами М8; к ступицам СЗД они притянуты четырьмя удлиненными гайками.

Вездеход-амфибия
Теоретические контуры корпуса вездехода (нажмите для увеличения)

Вездеход-амфибия
Узел соединения передней трапеции с передаточным валом (вид сверху): 1 - тяга рулевой трапеции (труба 25x2); 2 - вал передаточный (труба 20x2); 3 - серьга; 4 - втулки резиновые; 5 - рычаг вала; 6 - пальцы М8

Вездеход-амфибия
Рулевой редуктор: 1 - корпус (алюминий); 2 - шайба регулировочная (латунь); 3 - втулка (латунь); 4 - вал-шес-терня (сталь)

Вездеход-амфибия
Правый кронштейн крепления рулевого редуктора (левый зеркально отраженный вид)

Вездеход-амфибия
Детали механизма включения переднего хода в главной передаче заднего моста со спиленными под 45° нерабочими rhомками (заштрихованы): А - шестерня переднего хода; Б - полумуфта кулачковая

Вездеход-амфибия
Доработанный дифференциал главной передачи переднего моста: 1 - сателлиты с оставленными тремя (из десяти) зубьями и наплавлением (заштриховано); 2 - палец; 3 - шестерни полуосей; 4 - пружина; 5 - винт М5 крепления пружины

Вездеход-амфибия
Промежуточный вал цепного редуктора: 1 - звездочка большая (z= 21); 2,5 - звездочки малые (z = 11); 3 - вал промежуточный (труба 32x2,5); 4 - втулка распорная (труба 27х 1,5); 6 - подшипник игольчатый в обойме (2 шт.); 7 - шайба упорная (бронза, 2 шт.); 8 - щека (2 шт.); 9 - ось; 10 - масленка

Вездеход-амфибия
Редуктор гребного винта (нажмите для увеличения): 1 - втулка звездочки; 2 - звездочка (z = 21); 3 - крышки резьбовые (М50х 1,5); 4 - подшипники 204; 5 - гайки фасонные М20; 6 - вал-шестерня; 7 - механизм редуктора, штатный; 8 - кронштейн крепления редуктора; 9 - вал ведомый; 10 - заклепки (сталь, Ø5); 11 - корпус редуктора; 12 - насадка

Прочность таких дисков вполне достаточна для эксплуатации вездехода в нормальных условиях. Однако при неосторожной езде по пням, высоким кочкам и поваленным деревьям, при преодолении глубоких канав с разгона и так далее такие диски иногда сминаются, обычно с внешней стороны. Поэтому мы усилили их пенопластовыми вкладышами толщиной 100 мм. Вкладыши плотно прижаты к дискам внешними план-шайбами толщиной 3 мм и гайками, навинченными на шпильки, которые вставлены в удлиненные гайки крепления колес. Кроме того, пенопласт увеличивает плавучесть и остойчивость вездехода на воде.

Шины низкого давления - двойные камеры размером 900x300 мм, отслужившие свой ресурс в колесах самолета. Внешняя камера разрезана по внутреннему диаметру и прикреплена к диску винтами М8 со сферическими головками. Для лучшего сцепления с грунтом, а также для ограничения размеров на внешнюю камеру наклеена перфорированная транспортерная лента.

Широкая колея и короткая база шасси вездехода, низкое давление в широких толстых шинах (0,2*105 Па) позволяют обойтись вовсе без подвески, что значительно упрощает и облегчает конструкцию машины. Единственное неудобство, связанное с отсутствием подвески и обнаруженное нами в процессе эксплуатации, - продольная раскачка (резонанс) груженого вездехода при скорости около 20 км/ч. От этого мы избавились, снабдив багажник амортизаторами от мотороллера.

Несколько лет вездеход эксплуатировался без гребного винта, передвигаясь по воде за счет вращения колес. Однако скорость такого движения была очень малой, особенно при встречном ветре и волнении. Не помогали и лопасти, установленные на боковую поверхность колес. В настоящее время вездеход имеет гребной винт от лодочного мотора "Вихрь-20", привод которого осуществляется цепью от вала вентилятора двигателя через доработанный редуктор от того же "Вихря". Доработка заключвлась в изготовлении нового корпуса и кронштейна крепления, удлинении ведомого вала, установке на ведущий вал-шестерню втулки со звездочкой.

Новый корпус редуктора сварен из отрезков стальных труб подходящих диаметров, обработанных по размерам штатных деталей редуктора. Особой осторожности требовала сварка частей корпуса между собой и с кронштейном крепления, чтобы исключить коробление.

Ведомый вал удлинен на 250 мм с помощью насадки, изготовленной по размерам штатного вала и соединенной с ним двумя стальными заклепками. Удлинение потребовало установки дополнительной опоры - шариковый подшипник 204 зафиксирован в корпусе резьбовой крышкой с манжетным уплотнением.

Крутящий момент от двигателя ведущему валу редуктора передается через втулку с квадратным отверстием, изготовленную по размерам штатного вала-шестерни. Соединение звездочки со втулкой сварное. На втулке с помощью гайки закреплен шариковый подшипник 204. Регулирование зазоров в зубчатой передаче и крепление ведущего вала в корпусе осуществляются такой же резьбовой крышкой с манжетным уплотнением (для ее ввинчивания в звездочке имеются отверстия).

Водитель управляет редуктором со своего места с помощью рычага, имеющего фиксированные положения "вперед", "нейтраль" и "назад", и тросовой провод-ки (на чертежах не показана). Скорость движения по воде 5 км/час, что вполне достаточно для преодоления водных преград даже в период ресенних разливов. При движении по суше винт и цепной привод могут быть легко демонтированы.

Из-за установки редуктора винта использование штатного глушителя мотоколяски СЗД стало затруднительным. Пришлось изготовить глушитель из отрезков труб различного диаметра. Корпус из трубы диаметром 80 мм с торцов заварен, входной и выходной патрубки внутри имеют по 12 отверстий диаметром 8 мм. Снижение мощности двигателя не замечено, уровень шума по сравнению с первоначальным увеличился незначительно.

Автор: В.Мултановский, Г.Семеновых

 Рекомендуем интересные статьи раздела Личный транспорт: наземный, водный, воздушный:

▪ Безопасный карбюратор мотоцикла

▪ Пневмопарусник

▪ Об эффективности велосипеда

Смотрите другие статьи раздела Личный транспорт: наземный, водный, воздушный.

Читайте и пишите полезные комментарии к этой статье.

<< Назад

Последние новости науки и техники, новинки электроники:

Хорошо управляемые луга могут компенсировать выбросы от скота 15.02.2026

Животноводство, особенно разведение крупного рогатого скота, часто обвиняют в значительном вкладе в глобальное потепление из-за мощного парникового газа - метана, который выделяется при пищеварении у жвачных животных. Это вызывает острые политические споры и призывы к сокращению потребления мяса. Однако ученые напоминают, что полная картина климатического воздействия отрасли не ограничивается только выбросами от животных: огромную роль играет окружающая экосистема - пастбища, почва и растительность, которые способны активно поглощать углекислый газ из атмосферы. Исследователи из Университета Небраски-Линкольна решили глубже изучить этот баланс. Группа под руководством профессора Галена Эриксона сосредоточилась на том, как правильно организованные пастбища накапливают углерод в растениях и грунте благодаря естественным процессам, стимулируемым выпасом скота. Ученые подчеркивают, что при достаточном уровне осадков и грамотном управлении такие луга превращаются в мощные природные погло ...>>

NASA тестирует инновационную технологию крыла 15.02.2026

Коммерческая авиация ежегодно расходует колоссальные объемы керосина, что сказывается не только на бюджете авиакомпаний, но и на состоянии окружающей среды. В 2024 году глобальные затраты на авиационное топливо достигли 291 миллиарда долларов, и эта сумма продолжает расти. Чтобы справиться с этими вызовами, NASA активно работает над технологиями, способными заметно повысить аэродинамическую эффективность самолетов. Одним из самых перспективных направлений стало создание специальной конструкции крыла, которая максимизирует естественный ламинарный поток воздуха и минимизирует сопротивление. В январе 2026 года специалисты NASA Armstrong Flight Research Center успешно провели важный этап наземных испытаний концепции Crossflow Attenuated Natural Laminar Flow (CATNLF). Для эксперимента под фюзеляж исследовательского самолета F-15B закрепили вертикально ориентированную масштабную модель высотой около 0,9 м (3 фута), напоминающую узкий киль. Такая компоновка позволила подвергнуть прототип р ...>>

Забота о внуках очень полезна для здоровья мозга 14.02.2026

Общение между поколениями приносит радость всей семье, но мало кто задумывается, насколько активно бабушки и дедушки, заботящиеся о внуках, поддерживают свою умственную форму. Регулярное взаимодействие с детьми стимулирует мозг пожилых людей, помогая сохранять память, скорость мышления и общую когнитивную активность. Новые научные данные подтверждают, что такая добровольная помощь не только важна для общества, но и может замедлять возрастные изменения в мозге. Исследователи из Тилбургского университета в Нидерландах провели анализ, чтобы понять, приносит ли уход за внуками реальную пользу здоровью пожилых людей. Ведущий автор работы Флавия Черечес отметила, что многие бабушки и дедушки регулярно присматривают за детьми, и оставался открытым вопрос, насколько это положительно сказывается на их собственном благополучии, особенно в плане когнитивных функций. Ученые поставили цель выяснить, способен ли регулярный уход за внуками замедлить снижение памяти и других умственных способ ...>>

Случайная новость из Архива

Спутники полетят зеркальной парой 09.06.2013

Испанские инженеры впервые создали спутники-близнецы, которые будут летать формацией (синхронно) с субмиллиметровой точностью. Это позволит создать сверхточные астрономические инструменты нового поколения.

Фактически, спутники Proba-3 будут двигаться, как один цельный объект, но на самом деле два аппарата будут разнесены на расстояние в сотни метров. Благодаря этому, в перспективе можно будет создавать огромные космические телескопы с сегментными зеркалами-спутниками и суммарным диаметром зеркала в сотни метров. Для сравнения, сегодня диаметр главного зеркала в 5-10 м для космического телескопа считается невероятно большим.

"Proba-3 станет первой космической миссией, в которой два космических аппарата будут лететь как единое целое, - рассказывает директор данного проекта от компании SENER Сальвадор Льоренте. - Спутники будут синхронно двигаться с субмиллиметровой точностью, то есть ошибка в позиционировании относительно друг друга составит менее миллиметра".

Действительно, ранее о такой точности позиционирования космических аппаратов приходилось только мечтать. Вообще, было очень мало миссий по созданию спутниковых формаций, таких как, например, шведский проект Prisma, но до сих пор точность позиционирования составляла десятки сантиметров.

Миссия Proba-3 включает в себя два спутника весом примерно 340 кг и 200 кг. Они будут запущены в 2017 году, правда площадку для запуска еще не выбрали, возможно один спутник взлетит с индийского космодрома, а другой с американского. Это уникальная особенность мисси - оба спутника взлетят по-отдельности и достигнут перигея на расстоянии 600 км от поверхности Земли. Затем спутники достигнут апогея своих орбит на высоте 60000 км, где и начнутся испытания технологии синхронизации спутников с субмиллиметровой точностью. Спутники будут работать на расстоянии от 20 до 250 м друг от друга, но при этом всегда будут точно синхронизированы с помощью несколько оптических, лазерных датчиков и специальных программных алгоритмов.

Интересно, что Proba-3 будут использовать оригинальную технику наблюдений, которую уже пытались применять во время миссии Союз-Аполлон в 1975 году: один из спутников закроет собой яркий диск Солнца, а второй попытается рассмотреть мельчайшие детали в солнечной короне.

Другие интересные новости:

▪ Спортивный электромобиль Detroit Electric SP:01

▪ Сверхпроводник без сопротивления и магнитных полей

▪ Пузырьки против ураганов

▪ Съедобный желатиновый робот

▪ Робот выступил перед британской Палатой лордов

Лента новостей науки и техники, новинок электроники

 

Интересные материалы Бесплатной технической библиотеки:

▪ раздел сайта Регуляторы мощности, термометры, термостабилизаторы. Подборка статей

▪ статья Материаловедение. Шпаргалка

▪ статья Где жест ОК означает гомосексуалиста? Подробный ответ

▪ статья Маньяра. Чудо природы

▪ статья Преобразователь USB-COM-LPT на микроконтроллере. Энциклопедия радиоэлектроники и электротехники

▪ статья Стаканы-антигравитаторы. Секрет фокуса

Оставьте свой комментарий к этой статье:

Имя:


E-mail (не обязательно):


Комментарий:





Главная страница | Библиотека | Статьи | Карта сайта | Отзывы о сайте

www.diagram.com.ua

www.diagram.com.ua
2000-2026