Menu Home

Бесплатная техническая библиотека для любителей и профессионалов Бесплатная техническая библиотека


Вездеход-амфибия. Личный транспорт

Личный транспорт: наземный, водный, воздушный

Справочник / Личный транспорт: наземный, водный, воздушный

Комментарии к статье Комментарии к статье

Прототипом предлагаемого трицикла была машина, сделанная мною на базе мотоцикла "Иж" с двумя ведущими камерными колесами и рулевой лыжей. Казалось, желаемый результат достигнут: машина неплохо бегала по снежному бездорожью. Правда, лыжа на утрамбованном снеге плохо справлялась с возложенной на нее задачей. Весна выявила и другие недостатки этой конструкции. Езда по дорогам в проталинах вывела из строя даже лыжу из нержавеющей стали. Вместо нее я поставил пневматик из камеры 12.00-18”, но теперь в более значительной степени сказалось отсутствие дифференциала - снегоход был очень тяжел в управлении.

Тогда я встроил в задний мост редуктор от старого грузовика ГАЗ-51. Машина стала маневренной, но не ушли другие проблемы, и главная из них - камерные пневматики, их едва хватало на год. Долго ломал голову над тем, чем бы их заменить, и как-то мне подсказали технологию механического резания резины, что оказалось весьма кстати. Я решил сделать шины для пневмохода, срезав часть протектора с покрышек грузовых автомобилей, и одновременно кардинально усовершенствовать всю конструкцию.

Только на изготовление заднего моста и колес у меня ушла почти вся зима. Так что если кто-то решит последовать моему примеру, пусть запасется терпением. Зато в результате он получит машину, которая прослужит ему долгие годы. С такими колесами резко увеличивается скорость, поскольку практически отсутствует вибрация, и проходимость значительно улучшается - сказывается наличие грунтозацепов.

Насколько я понял, у любителей конструирования, видевших мой вездеход, вызывал интерес не столько он сам - его конструкция не такая уж и сложная, сколько оригинальные колеса с покрышками. Поэтому привожу довольно подробное описание их изготовления.

Для пневматиков я остановил свой выбор на шинах размером 12.00-18", такие стоят на колесах автомобилей ГАЗ-66 и ЗиЛ-157. Для снегоболотохо-да приемлемы шины и от колес тележек тракторов К-700 и Т-150. Они значительно шире, но, к сожалению, и тяжелее. Посадочный диаметр покрышек 18” я выбрал потому, что мог бы изготовить колесо из имеющихся у меня деталей. Если у кого-то есть возможность приобрести колеса 12.00-16", то я бы посчитал его за счастливчика.

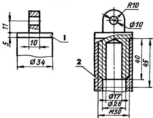
Шины пойдут даже такие, которые не подлежат наварке, но без сквозных пробоин. Многим охотникам приходилось раньше самим вырубать из войлока пыжи для ружейных патронов. Так вот, похожая на пыжерубку фреза на долгое время стала основным моим инструментом. Чтобы вставить фрезу непосредственно в дрель вместо патрона, изготовил ее с соответствующим конусом (работая с фрезой-пыжерубкой, зажатой в патроне дрели, устаешь быстрее). Размеры фрезы взял произвольные, а заточил просто: включил наждачный круг и подвел к нему вращающуюся в дрели фрезу.

Количество "елочек" протектора на колесе таково, что не позволило "проредить" их через одну, не нарушая балансировки. Поэтому, помечая их мелом, делал так: одну срезал - одну оставлял, две срезал - одну оставлял и далее в той же последовательности. А уже в "елочках" бобышки грунтозацепов располагал по своему усмотрению. Перед фрезерованием вставлял в покрышку камеру и накачивал. Так лучше ощущался слой между протектором и кордом, хотя все же иногда захватывал и кордовые нитки, но каркас - многослой-

ный и эти огрехи на прочности покрышки не сказывались. (Существует и другая, более простая технология: с шины просто сдирают резину до корда, но тогда лишаются самого ценного - мощных грунтозацепов на покрышке.)

Полученные пневматики я использую круглогодично, а их достоинства и долговечность оценены в ходе трехлетней эксплуатации. Мои знакомые умельцы тоже сделали подобные покрышки и остались довольны. Это, конечно, не революция в изготовлении пневматиков, но уже какой-то прогресс. Ведь наша промышленность никак не развернется с производством шин для снегоходов, а импортные большинству самодельщи-ков не по карману.

С установкой таких пневматиков на колеса отпадает надобность в продольных и поперечных ремнях, а главное, в болтах, количество которых определяется чуть ли не ведрами при оборудовании вездехода камерными покрышками.

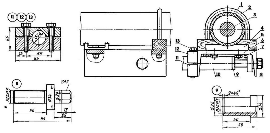
Колеса сделал с разборным бортом обода, скомбинировав их из автомобильных и мотоциклетных. Для каждого колеса на гильотине из листовой стали толщиной 2 мм вырубил полосу размерами 1430x330 мм и согнул ее на вальцах в цилиндр. "Ижевское" колесо на 18” освободил от спиц, а обод разрезал "болгаркой" вдоль. С половинок ободьев-бортов удалил отверстия и углубления под ниппели спиц. На каждом борту осталось по девять лепестков. На один борт надел цилиндр, оставляя лепестки внутри, и стянул его проволокой. Лепестки, как и стык листа цилиндра, проварил, предварительно подогнав кромки "болгаркой". В лепестках второго борта просверлил отверстия диаметром 5 мм и надел его на цилиндр лепестками наружу, а по отверстиям в последних просверлил соответствующие отверстия диаметром 4,2 мм в стенках цилиндра и, убрав борг, нарезал в них резьбу М5. В колесе я использовал диски на 15” (от "Москвича-402" или "407"), предварительно немного их облегчив.

Вездеход-амфибия
Компоновка трицикла-пневмохода (нажмите для увеличения): 1 - мотоцикл "Иж-Юпитер"; 2 - левая дуга безопасности; 3 - дополнительная рама; 4 - ведущая звездочка со ступицей (z = 18, от колеса мотоцикла "Иж-56"); 5 - приводная цепь (t = 19,05); 6 - пневматик (доработанная шина от автомобиля ГАЗ-66); 7 - задний мост (от автомобиля "Москвич-402"); 8 - кожух ведомой звездочки. На виде сбоку левое колесо со ступицей условно не показано

Вездеход-амфибия
Дополнительная рама и задний мост (нажмите для увеличения): 1,5 - дуги безопасности (стальная хромированная труба 34x3); 2 - разъемный кронштейн (СтЗ): 3 - щечка с бобышкой (СтЗ, лист s8, 2 шт.); 4 - хомуты (СтЗ, 12 шт.); 6 - разъемная скоба (сталь, лист в 15, 2 шт.); 7 - подкос (стальная хромированная труба 27x2,5, L505, 2 шт.); 8 - лонжерон (нержавеющая сталь, труба 34x4, L1400, 2 шт.); 9- тяга пассажирской подножки (стальная хромированная труба 27x2,5, 2 шт.); 10 - амортизаторная тяга (стальная хромированная труба 27x2,5, 2 шт.); 11 - распорка (сталь, труба 27x2,5); 12 - подседельная тяга (стальная хромированная труба 27x2,5, L320, 2 шт.); 13 - стыковочный узел; 14 - задний мост; 15 - кожух ведомой звездочки (сталь, лист в2); 16 - бу-гельная фермочка (сталь, лист 58); 17 - амортизаторная стойка (стальная хромированная труба 27x2,5, 2 шт.)

Вездеход-амфибия
Разъемная скоба крепления лонжерона (нажмите для увеличения)

Вездеход-амфибия
Крепление дуг безопасности к раме мотоцикла (нажмите для увеличения): 1,6 - дуги безопасности; 2 - хомут крепления противотуманной фары (2 шт.); 3 - винт М10 (2 шт.); 4 - разъемный кронштейн; 5 - хомут крепления звукового сигнала (2 шт.); 7 - хомут крепления подкоса (2 шт.); 8 - разъемная скоба крепления лонжерона (2 шт.); 9 - щечка с бобышкой (2 шт.); 10 - болт М10 с разрезной шайбой крепления двигателя (2 шт.); 11 - противотуманная фара (2 шт.); 12 - звуковой сигнал (2 шт.)

С помощью дрели и напильника (больше ничем не воспользуешься) в каждом диске в средней части ободьев выбрал четыре "окна", не затрагивая посадочные полки для шин на 15” (диск в работе может "повести"). Помня о дизайне, оставил на диске места крепления декоративных колпаков: на массу колеса они особенно не влияют, а вот с хромированными колпаками и ободьями катки смотрятся красивее.

Затем из листового железа толщиной 3 мм вырубил по восемь пластин на каждое колесо для проставок. Их высота - 38 мм (половина разности 18" и 15”), а длина соответствует ширине обода "москвичовского" диска. Пластины перед сваркой подогнал по периметру под одинаковые размеры в пакете на фрезерном станке. "Болгаркой" с отрезным диском толщиной 3 мм в ободьях "москвичовского" колеса сделал восемь пропилов (не трогая посадочного диаметра 15"), вставил в них подготовленные проставки и прихватил сваркой. Закрепив диск на полуоси моста и вращая его, подкорректировал положение пластин и приварил их окончательно. Доработанный диск вставил в изготовленный обод на 18” и приварил проставки к цилиндру. (Как оказалось впоследствии, сделано это было преждевременно: конструкция моста такова, что путем смещения дисков в цилиндре обода можно добиться симметричного расположения колес относительно продольной оси мотоцикла.)

Затем облегченную шину с камерой надел на цилиндр и к нему же винтами М5 прикрепил другой обод (головки винтов изнутри не влияют на камеру).

Сосок камеры пропустил в предварительно просверленное отверстие в цилиндре и накачал камеру. Давление необходимо такое, чтобы камеры посадили борт покрышки на мотоциклетные борта. Плотная посадка их гарантирована идентичными размерами, и шину на ободе не провернет. Мои колеса в эксплуатации уже более трех лет и никаких хлопот пока не доставляли, в отличие от прежних камерных, которые постоянно о себе чем-то напоминали. (Если кто-то из читателей журнала дополнит эту технологию, я буду рад.)

Для соединения заднего моста с мотоциклом изготовил дополнительную двухлонжеронную раму из дюймовых нержавеющих труб. Задние их концы выгнул на трубогибе по обводу пневматиков. (Если возможности или желания гнуть трубы-лонжероны нет, их можно использовать и прямые. Но тогда ширину дуг безопасности придется подгонять под ширину кронштейнов на заднем мосту. Этот вариант проще в изготовлении, но внешний вид уже другой.) Передние концы лонжеронов с помощью специального разъемного кронштейна соединил с дугами безопасности и зафиксировал их положение относительно мотоцикла тягами-распорками еще в нескольких точках.

Вездеход-амфибия
Наконечник и подседельная ось

Вездеход-амфибия
Тяга с наконечниками и контргайкой: 1 - нижним наконечник; 2 - тяга; 3 - контргайка М20х1,5 (под ключ 24); 4 - верхний наконечник

Вездеход-амфибия
Наконечник с подкосом: 1 - наконечник; 2 - подкос

Вездеход-амфибия
Наконечник с лонжероном: 1 - наконечник; 2 - лонжерон

Вездеход-амфибия
Цепная передача с дифференциалом: 1 - ступица колеса мотоцикла "Иж-56"; 2 - ведущая звездочка (z = 18; t = 19,05); 3 - ось заднего колеса мотоцикла; 4 - ось приводной цени; 5 - ведомая звездочка (z = 56, t - 19,05); 6 - ведущая шестерня главной передачи; 7 - корпус дифференциала; 8 - кожух полуоси

Вездеход-амфибия
Амортизаторная стойка: 1,3 - наконечник; 2 - труба

Вездеход-амфибия
Колесо пневматика (нажмите для увеличения): 1,4 - половины обода (от колеса мотоцикла "Иж"); 2 - винт М5 (9 шт.); 3 - цилиндр обода (сталь, лист s1,5); 5 - диск (колесо от автомобиля "Москвич-402"); 6 - проставка (сталь, пластина sЗ, 8 шт.)

Вездеход-амфибия
Фреза для обработки резины

В качестве дуг безопасности прекрасно вписались в дизайн пневмохода хромированные спинки кроватей. Обе спинки разрезал пополам. Верхние концы половинок прикрепил с помощью разъемного кронштейна, установленного на передней трубе рамы мотоцикла, а нижние насадил на бобышки, вкрученные в самодельные 8-мм стальные пластины крепления двигателя. Перед установкой на раму половинок дуг безопасности на каждую из них надел по три хомута, на один из которых навесил противотуманную фару, а на другой звуковой сигнал. Третий хомут необходим для стыковки дуги безопасности с трубкой-подкосом, соединяющей еще в одном месте раму мотоцикла и дугу безопасности.

Вездеход-амфибия
Защитный кожух ведомой звездочки: 1 - цепь (t= 19,05); 2 - ведомая звездочка; 3 - защитным кожух (сталь, лист s2); 4 - балка заднего моста; 5 - полуось; 6 - колпак картера заднего моста

Вездеход-амфибия
Дополнительное крепление заднего моста бугельной фермочкой: 1 -кожух полуоси ("чулок"); 2 - кожух ведомой звездочки; 3 - колпак картера моста; 4 - пробка маслозаливного отверстия; 5 - бугельная фермочка

Вездеход-амфибия
Стыковочный узел заднего моста и дополнительной рамы (нажмите для увеличения): 1 - задний мост; 2 - стремянка (от рессоры автомобиля "Москвич-402"); 3 - полуось; 4 - деревянная подкладка (дуб); 5 - профилированная пластина моста; 6 - основа узла (сталь, швеллер № 12); 7 - гайка M10 (4 шт.); 8 - натяжной винт М20х1.5; 9- упорная резьбовая втулка М20х1,5; 10 - лонжерон дополнительной рамы; 11 - неподвижная половина зажима (сталь, лист s20); 12 - подвижная половина зажима (сталь; лист s20); 13 - винт M10 (2 шт.)

Дуги безопасности вверху закрепил на кронштейне, установленном на передней трубе рамы мотоцикла под бензобаком. Для изготовления кронштейна из стали толщиной 24 мм отфрезеровал переднюю скобу. На токарном станке выточил с обеих ее сторон цилиндрики диаметром 28,2 мм (внутренний диаметр трубы дуги безопасности с допуском для натяга). Для облегчения скобы сделал сверлом диаметром 17 мм глухие отверстия в цилиндриках. В середине скобы выполнил полукруглое углубление с радиусом 20 мм, а по его сторонам - отверстия диаметром 10 мм. Задняя скоба фигурная, полукруглая с таким же внутренним радиусом и резьбовыми отверстиями М10 на "лапках". Скобы обхватывают трубу рамы и стягиваются двумя винтами М10. На цилиндрики напрессовывал трубы дуг безопасности.

Уже по месту просверлил отверстия в трубах и наконечниках. Нарезал резьбу М6 и закрепил детали двумя винтами. Лицевая передняя скоба кронштейна и головки винтов хромируются.

Дуги внизу зафиксировал на бобышках щечек крепления двигателя. Щечки вырезал из 8-мм стали. Затем выточил бобышки, наружный диаметр которых тоже соответствует внутреннему диаметру трубы с допуском для натяга. Нарезал резьбу М20х1,5 и на проточенном конце бобышек, и в просверленных отверстиях щечек, вкрутил первые во вторые и напрессовал трубу на бобышку.

Но крепление дуг к мотоциклу не обладает той надежностью и жесткостью, которая необходима для монтажа дополнительной рамы и натяжения приводной цепи вездехода. Поэтому дуги дополнительно связал с рамой мотоцикла. Для этого из-под седла вывернул штатный болт крепления тяги бокового прицепа и на его место вставил ось с двумя самодельными наконечниками на концах.

От них к хомутам, заранее установленным на дугах, провел два подкоса из кроватных труб диаметром 27 мм с наконечниками. Поначалу все наконечники в трубы впрессовывал, но в ходе работы выяснилось, что лучше их сажать на резьбу, гак как в дальнейшем все детали подлежат разборке для хромирования.

Для изготовления тяг и стоек рамы-приставки практически везде использовал трубы диаметром 27 мм ог тех же кроватных спинок. Они хромированные и хорошо смотрятся. Правда, имеют отверстия в стенках, но в ходе сборки тяги ставил так, чтобы эти отверстия прятались от взора.

В трубах подкосов нарезал резьбу М20х1,5 на глубину 25 мм. Так же изготовил и тяги, только на них установил наконечники с контровочными гайками М20х1,5 под ключ на 24, в которых сделана внутренняя проточка диаметром 27 на глубину 5 мм.

В наконечниках для их облегчения просверлил глухие отверстия диаметром 14 мм. Чтобы не путать соединительные детали при сборке вездехода, постарался их унифицировать. (Если есть возможность, го желательно сделать на одной стороне соединения с правой, а на другой - с левой резьбой, что обеспечит лучшую регулировку приставки по отношению к мотоциклу.)

Размеры тяг, приведенных на рисунках, рекомендательные, так как в ходе сборки их придется подгонять по месту.

Для вездехода я использовал задний мост "Москвича-402" без тормозных барабанов. Извлек из картера главный редуктор и "болгаркой" отпилил от корпуса место крепления "хвостовика" ведущей шестерни. Большую косозубую коническую шестерню отпустил в горне и обточил ее тыльную сторону под посадочный диаметр и толщину звездочки с числом зубьев 56 и шагом 19,05 мм. В звездочке просверлил соответствующие отверстия и с помощью штатных болтов посадил ее на доработанную шестерню.

Предварительно корпус, в котором затеплен дифференциал, распилил "болгаркой" вдоль, обеспечив звездочке свободное вращение. Дифференциал и полуоси сохранил.

Наметив на картере моста место прохождения звездочки, его также разрезал поперек "болгаркой". Здесь же вырезал еще полоску шириной 40 мм, чтобы цепь впоследствии не цепляла корпус.

Затем мост собрал, отцентровал и предварительно обварил четырьмя арматурными стержнями для устройства тут защитного кожуха звездочки. Для этого из картона изготовил два трафарета, один - повторяющий наружный профиль картера моста по разрезу, другой - по внешнему диаметру звездочки с учетом высоты цепи и небольшого зазора. Впереди кожуха сделал выступы, возможно, позже заключу цепь в резиновые трубки. Из стали толщиной 2 мм по трафаретам вырезал две детали и прихватил их к корпусу моста. По внешнему контуру обе детали соединил металлической полоской.

Прежде чем окончательно проварить, убедился в соосности полуосевых кожухов ("чулков"). Для большей надежности снизу моста приварил еще бугельную фермочку из 5-мм стали. Мост получился не таким уж и тяжелым, но достаточно прочным.

Для изготовления ступицы под ведущую звездочку я взял старое "ижевское" колесо и, срезав на токарном станке все лишнее, оставил только тормозной барабан. На звездочке г = 18 расточил внутреннее отверстие под трубку ступицы, насадил одну на другую и приварил.

Поскольку ступицу использовал от "Ижа" старой модели, пришлось между ней и корпусом привода заднего колеса установить на ось шайбы, так как длина шлицевых соединений у нее меньше и ступица оказывается прижатой (современные типы колес лучше использовать с "родной" ступицей; на токарном станке "освободить" ее от спицевых отверстий, а на металлический корпус подшипников наварить звездочку).

Тормоза сохранил штатные. Хотел бы сразу предупредить: раскрученные колеса такого большого диаметра обладают значительной инерцией, поэтому нельзя тормозить резко - на цепь, звездочки, дифференциал и полуоси при зтом передаются большие нагрузки, что может привести к их поломке.

По той же причине при сжатии амортизаторов иногда проскакивает цепь. Так вот, вместо амортизаторов я установил две специальные распорки из тех же никелированных труб, что и тяги. Втулки-наконечники запрессовал в трубы.

Для соединения заднего моста с дополнительной рамой мотоцикла изготовил два стыковочных узла. Основой каждого узла является отрезок швеллера № 12. Одной стороной соединил его двумя болтами М10 с приваренной к мосту профилированной пластиной, к которой на "Москвиче" крепится рессора. Вторую сторону связал с кожухом моста "москвичовскими" рессорными стремянками, накинутыми на "чулок".

Между швеллером и "чулком" установил прокладку из твердой древесины, чтобы ось моста и средняя линия швеллера были параллельны. В полках швеллера просверлил отверстия: переднее - под диаметр трубы лонжерона, заднее - под натяжной болт. При доработке моста звездочка была установлена со смещением влево от середины моста приблизительно на 30 мм. Эю расстояние я учел при изготовлении деталей из швеллеров: для сохранения симметрии колес левую деталь сделал на 30 мм длиннее правой. На это же расстояние к середине сместил и отверстия в полках левой детали. Положение колес можно было бы корректировать смещением дисков в ободах. Я же поторопился их приварить, и эту регулировку пришлось делать шайбами на ступицах.

Чтобы в случае разрыва приводной цепи задний мост остался на трубах-лонжеронах приставки, изготовил специальный разъемный кронштейн с отверстием под диаметр трубы. Нижнюю половину кронштейна с резьбовыми отверстиями приварил снаружи к полке швеллера. После натяжения цепи болты М10 затягиваются, а кронштейн своими губками сдавливает трубу-лонжерон, соединяя мотоцикл и приставку как единую конструкцию.

Под переднее колесо установил легкосъемную лыжу (описания ее различных вариантов неоднократно публиковались в "Моделисте-конструкторе"), Глубокий мягкий снег моему пневмоходу, естественно, преграда - сказывается масса самого мотоцикла. Его же стихия - плотный снежный наст и бездорожье.

Автор: В.Баранов

 Рекомендуем интересные статьи раздела Личный транспорт: наземный, водный, воздушный:

▪ Шагоплав

▪ Монолыжа-серфер

▪ Конструирование мотоциклов

Смотрите другие статьи раздела Личный транспорт: наземный, водный, воздушный.

Читайте и пишите полезные комментарии к этой статье.

<< Назад

Последние новости науки и техники, новинки электроники:

Хорошо управляемые луга могут компенсировать выбросы от скота 15.02.2026

Животноводство, особенно разведение крупного рогатого скота, часто обвиняют в значительном вкладе в глобальное потепление из-за мощного парникового газа - метана, который выделяется при пищеварении у жвачных животных. Это вызывает острые политические споры и призывы к сокращению потребления мяса. Однако ученые напоминают, что полная картина климатического воздействия отрасли не ограничивается только выбросами от животных: огромную роль играет окружающая экосистема - пастбища, почва и растительность, которые способны активно поглощать углекислый газ из атмосферы. Исследователи из Университета Небраски-Линкольна решили глубже изучить этот баланс. Группа под руководством профессора Галена Эриксона сосредоточилась на том, как правильно организованные пастбища накапливают углерод в растениях и грунте благодаря естественным процессам, стимулируемым выпасом скота. Ученые подчеркивают, что при достаточном уровне осадков и грамотном управлении такие луга превращаются в мощные природные погло ...>>

NASA тестирует инновационную технологию крыла 15.02.2026

Коммерческая авиация ежегодно расходует колоссальные объемы керосина, что сказывается не только на бюджете авиакомпаний, но и на состоянии окружающей среды. В 2024 году глобальные затраты на авиационное топливо достигли 291 миллиарда долларов, и эта сумма продолжает расти. Чтобы справиться с этими вызовами, NASA активно работает над технологиями, способными заметно повысить аэродинамическую эффективность самолетов. Одним из самых перспективных направлений стало создание специальной конструкции крыла, которая максимизирует естественный ламинарный поток воздуха и минимизирует сопротивление. В январе 2026 года специалисты NASA Armstrong Flight Research Center успешно провели важный этап наземных испытаний концепции Crossflow Attenuated Natural Laminar Flow (CATNLF). Для эксперимента под фюзеляж исследовательского самолета F-15B закрепили вертикально ориентированную масштабную модель высотой около 0,9 м (3 фута), напоминающую узкий киль. Такая компоновка позволила подвергнуть прототип р ...>>

Забота о внуках очень полезна для здоровья мозга 14.02.2026

Общение между поколениями приносит радость всей семье, но мало кто задумывается, насколько активно бабушки и дедушки, заботящиеся о внуках, поддерживают свою умственную форму. Регулярное взаимодействие с детьми стимулирует мозг пожилых людей, помогая сохранять память, скорость мышления и общую когнитивную активность. Новые научные данные подтверждают, что такая добровольная помощь не только важна для общества, но и может замедлять возрастные изменения в мозге. Исследователи из Тилбургского университета в Нидерландах провели анализ, чтобы понять, приносит ли уход за внуками реальную пользу здоровью пожилых людей. Ведущий автор работы Флавия Черечес отметила, что многие бабушки и дедушки регулярно присматривают за детьми, и оставался открытым вопрос, насколько это положительно сказывается на их собственном благополучии, особенно в плане когнитивных функций. Ученые поставили цель выяснить, способен ли регулярный уход за внуками замедлить снижение памяти и других умственных способ ...>>

Случайная новость из Архива

Сверхточный МРТ-сканер 17.07.2025

Современная нейронаука все больше стремится к пониманию тончайших структур мозга - от крупных зон активности до микроскопических связей между нейронами. Однако долгое время изучение этих сложнейших систем было ограничено техническими возможностями. Новый виток в исследовании мозга стал возможен благодаря разработке сверхточного МРТ-сканера Connectome 2.0, созданного при участии Национальных институтов здравоохранения США (NIH).

Одной из ключевых особенностей Connectome 2.0 является его способность получать изображения с разрешением до одного микрона - уровня, на котором можно разглядеть отдельные нервные волокна, аксоны и даже размеры клеток. Это делает устройство в разы более мощным по сравнению с обычными магнитно-резонансными томографами, использующимися в клиниках.

Революционность подхода заключается не только в точности, но и в конструкции самого аппарата. В отличие от стандартных моделей, Connectome 2.0 плотно охватывает голову пациента и содержит больше каналов передачи данных, что позволяет добиться исключительной четкости изображений. Такой подход дает возможность наблюдать за тем, как различные зоны мозга взаимодействуют между собой в реальном времени, причем на уровне структур, ранее доступных только при изучении посмертных образцов или в опытах на животных.

Применение Connectome 2.0 позволяет обнаружить различия в микроструктуре мозга у разных здоровых людей. Это открывает перспективу изучения индивидуальных особенностей мышления, памяти, склонностей к тем или иным заболеваниям, а также эффектов старения и нейропластичности.

По словам Джона Нгая, руководителя программы BRAIN Initiative при NIH, новая разработка фактически приближает ученых к созданию подробной карты нейросвязей в мозге человека. Он подчеркивает, что это открывает новые горизонты в понимании того, как устроена и функционирует нервная система на клеточном уровне.

Испытания устройства уже проводились на добровольцах, и результаты внушают оптимизм: сканер признан полностью безопасным для человека. При этом полученные данные помогут врачам точнее подбирать лечение при таких заболеваниях, как болезнь Альцгеймера, депрессия или эпилепсия, адаптируя терапию под конкретные особенности мозга пациента.

Другие интересные новости:

▪ Растения умеют отличать друзей от врагов

▪ Связь между дефицитом цинка и гипертонией

▪ Intel: прорыв в фотонике

▪ Прицеп-зарядка для электрокаров

▪ Однофазные мостовые выпрямители 4GBUxxLS

Лента новостей науки и техники, новинок электроники

 

Интересные материалы Бесплатной технической библиотеки:

▪ раздел сайта Освещение. Подборка статей

▪ статья Мотоцикл. История изобретения и производства

▪ статья Почему при переливании крови надо учитывать ее группу? Подробный ответ

▪ статья Физиолог. Должностная инструкция

▪ статья Определитель номера стандарта DTMF. Энциклопедия радиоэлектроники и электротехники

▪ статья Схема, распиновка (распайка) кабеля Alcatel BE-1/3/4/5. Энциклопедия радиоэлектроники и электротехники

Оставьте свой комментарий к этой статье:

Имя:


E-mail (не обязательно):


Комментарий:





Главная страница | Библиотека | Статьи | Карта сайта | Отзывы о сайте

www.diagram.com.ua

www.diagram.com.ua
2000-2026