Бесплатная техническая библиотека
Наддув для Москвича. Личный транспорт

Справочник / Личный транспорт: наземный, водный, воздушный
Комментарии к статье
На дорогах России сегодня довольно много автомобилей зарубежного производства. Чтобы уверенно чувствовать себя в плотном дорожном потоке и на отечественной машине, иногда приходится заново изобретать велосипед. Действительно, идея наддува в двигателе внутреннего сгорания с целью увеличения его мощности за счет повышения давления воздуха при впуске не нова. Тем не менее, применение агрегатного наддува - один из самых дешевых путей достижения этой цели.
Я, например, на своем "Москвиче-2140" установил простейшую конструкцию. И повторить мой опыт по силам любому другому автолюбителю.
В качестве агрегата наддува использовал нагнетатель воздуха от обогревателя кабины ("печки") автомобиля ГАЗ-66, заменив его штатный электродвигатель более мощным 40-ваттным.
Нагнетатель (воздухозаборником вперед) я прикрепил к брызговику скобой, вырезанной из стальной полоски толщиной 3 мм, и соединил с воздухоочистителем немного укороченным штатным шлангом. Небольшой зазор между крышкой и корпусом воздушного фильтра устранил, надев на корпус разрезанный вдоль шланг из материала поливинилхлорид.
Для запитки нагнетателя от бортовой электрической цепи я использую выключатель обогревателя заднего стекла (на моей машине этот обогреватель отсутствует). Включаю наддув только при полностью прогретом двигателе.
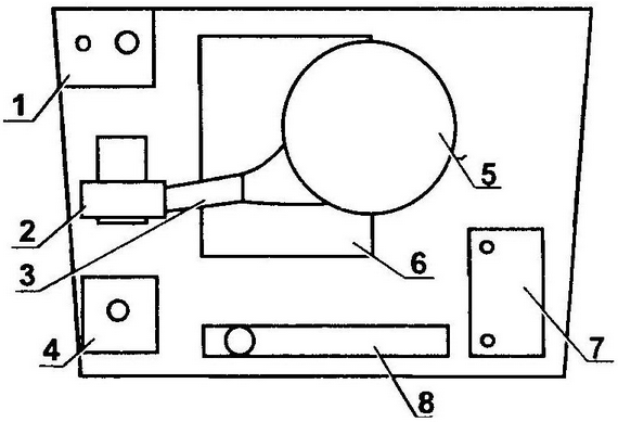
Схема размещения нагнетателя воздуха в моторном отсеке двигателя автомобиля "Москвич-2140": 1 - бачок омывателя ветрового стекла; 2 - нагнетатель воздуха; 3 - воздушный шланг; 4,8 - расширительный бачок и радиатор системы охлаждения двигателя; 5 - крышка воздушного фильтра; 6 - двигатель; 7 - аккумулятор
Мой опыт двухлетней эксплуатации нагнетателя показывает, что наддув заметно улучшает динамику разгона и помогает легче преодолевать затяжные подъемы. К тому же, наблюдается некоторая (в пределах 10 процентов) экономия топлива. На холостом ходу двигателя, а также при средних оборотах коленчатого вала топливная смесь сгорает более полно, а значит, уменьшаются вредные выбросы в атмосферу. При больших оборотах, с открытием вторичной смесительной камеры карбюратора, мощность двигателя существенно увеличивается, так как в цилиндры поступает больше горючей смеси. При движении под уклон и при торможении двигателем я отключаю нагнетатель. Он "отдыхает", поскольку система ЭПХХ в это время перекрывает подачу топлива в карбюратор.
Автор: В.Царев
Рекомендуем интересные статьи раздела Личный транспорт: наземный, водный, воздушный:
▪ Автомобиль вездеходного типа СИМОТ
▪ Автомобиль Мышонок
▪ Корабль на колесах
Смотрите другие статьи раздела Личный транспорт: наземный, водный, воздушный.
Читайте и пишите полезные комментарии к этой статье.
<< Назад
Последние новости науки и техники, новинки электроники:
Власть является ключевым фактором счастья в отношениях
11.03.2026
Исследования семейных и романтических отношений показывают, что длительное счастье пары зависит не только от привычных факторов, таких как доверие, уважение и преданность, но и от более тонких психологических аспектов. Современные ученые ищут закономерности, которые отличают действительно счастливые пары от остальных, чтобы понять, какие механизмы поддерживают гармонию в отношениях.
Группа исследователей из Университета Мартина Лютера в Галле-Виттенберге и Бамбергского университета провела опрос среди 181 пары, которые состояли в совместных отношениях более восьми лет и прожили вместе хотя бы месяц. Участники заполняли анкету, описывая различные аспекты своих отношений, включая распределение обязанностей, эмоциональную поддержку и степень вовлеченности в совместные решения.
Анализ данных показал интересный паттерн: пары, где оба партнера ощущали высокий уровень личной власти, оказывались наиболее счастливыми и удовлетворенными. В данном контексте под властью понимается способност ...>>
Защищенная колонка-повербанк Anker Soundcore Boom Go 3i
11.03.2026
Компания Anker представила новую модель линейки Soundcore - колонку Soundcore Boom Go 3i, ориентированную на активное использование на улице.
Новинка отличается высокой степенью защиты: корпус соответствует стандарту IP68, что обеспечивает водо- и пыленепроницаемость, а ударопрочный дизайн выдерживает падение с высоты до одного метра. За качество звука отвечает 15-ваттный драйвер, обеспечивающий пик громкости до 92 дБ, а технология BassUp 2.0 усиливает низкие частоты, делая звучание более насыщенным.
Колонка обладает автономностью до 24 часов, а LED-индикатор позволяет контролировать уровень заряда батареи. Кроме того, Soundcore Boom Go 3i может выполнять функцию павербанка: согласно внутренним тестам, устройство способно зарядить iPhone 17 с нуля до 40% за один час, что делает его полезным аксессуаром в походах и поездках.
Среди функциональных особенностей модели стоит выделить технологию Auracast, которая улучшает подключение и позволяет создавать стереопару из двух колонок ...>>
Раннее воздержание от алкоголя перестраивает мозг и иммунитет
10.03.2026
Алкогольная зависимость - хроническое расстройство с компульсивным употреблением спиртного, которое влияет не только на поведение, но и на функционирование мозга и иммунной системы. Недавние исследования показали, что даже на ранних этапах воздержания организм начинает перестраиваться, открывая новые возможности для терапии зависимости.
Ученые сосредоточились на пациентах, находящихся в первые недели абстиненции, и зафиксировали значительные изменения в мозговой активности. С помощью функциональной магнитно-резонансной томографии они выявили перестройку сетей нейронных связей, отвечающих за контроль импульсов и принятие решений. Эти изменения могут быть ключевыми для восстановления самоконтроля и снижения риска рецидива.
Одновременно с нейронной перестройкой исследователи наблюдали колебания иммунной системы. В крови повышался уровень цитокинов - сигнальных белков, регулирующих воспалительные процессы. Эти данные свидетельствуют о существовании нейроиммунного взаимодействия, при ...>>
Случайная новость из Архива Портативный суперкомпьютер для спортивной аналитики GigaIO
12.05.2025
Новая разработка от компании GigaIO, получившая название Gryf, стала первым в мире суперкомпьютером, который можно взять с собой - он помещается в обычный чемодан и предназначен для оперативной аналитики прямо на месте событий.
Gryf был создан в сотрудничестве с компанией SourceCode, и уже сейчас демонстрирует свою эффективность в спортивной индустрии. Эта система позволяет в реальном времени собирать и обрабатывать физиологические и механические показатели спортсменов - от частоты сердечных сокращений до нагрузки на мышцы и скорости передвижения. Благодаря этому тренеры получают возможность незамедлительно вносить корректировки в тренировочный процесс, адаптировать нагрузку и, что особенно важно, предотвращать потенциальные травмы еще до их возникновения.
Лорен Сперлин, аналитик в области спортивных данных, подчеркнула значимость такого подхода. По ее словам, эпоха, когда приходилось ждать часами или даже днями для обработки и анализа информации, уходит в прошлое. Gryf дает доступ к вычислительным мощностям высокого уровня буквально на месте тренировки или соревнования, и это меняет саму логику принятия решений в спорте.
Несмотря на то что система была изначально ориентирована на спортивные нужды, ее функциональность оказалась востребованной и в других отраслях. Так, Gryf уже нашел применение в оборонной промышленности, энергетике и даже в производстве медиаконтента. Его ключевое преимущество - способность справляться с массивами данных в условиях, где традиционная IT-инфраструктура либо недоступна, либо недостаточно гибка.
Инженеры GigaIO заложили в архитектуру Gryf не только высокую производительность, но и устойчивость к внешним воздействиям. Это делает платформу удобной для использования в сложных климатических и технических условиях, например, на удаленных научных станциях или в полевых лабораториях. В условиях, где нельзя полагаться на облачные серверы или стабильное интернет-соединение, автономность и компактность Gryf становятся решающим преимуществом.
Важно отметить, что новинка открывает двери не только для элитных команд и организаций, но и для более широкого круга пользователей. Благодаря снижению барьеров доступа к высокопроизводительным вычислениям, такие технологии, как Gryf, могут быть интегрированы в локальные спортивные школы, университеты и исследовательские центры, предоставляя им инструменты, ранее доступные только крупнейшим структурам.
По мере того как анализ больших данных все активнее внедряется в повседневную практику, устройства, подобные Gryf, становятся важнейшими элементами инфраструктуры цифровой трансформации. Они позволяют сделать обработку информации не только быстрее, но и ближе к месту, где она необходима - будь то спортивная арена, полевая станция или передовая лаборатория.
|
Другие интересные новости:
▪ Компьютер в вилке
▪ Новые синхронные DC/DC-преобразователи напряжения
▪ Смартфоны ZTE Nubia Z5S и Z5S mini
▪ Портативный DVD-плеер Typhoon
▪ Карманная электронная энциклопедия
Лента новостей науки и техники, новинок электроники
Интересные материалы Бесплатной технической библиотеки:
▪ раздел сайта Альтернативные источники энергии. Подборка статей
▪ статья Любовь и голод правят миром. Крылатое выражение
▪ статья По какому принципу действует теплоизоляция? Подробный ответ
▪ статья Работа на вальцовом станке. Типовая инструкция по охране труда
▪ статья Сдвоенный быстродействующий высоковольтный оптрон с ТТЛ-выходом. Энциклопедия радиоэлектроники и электротехники
▪ статья Система шумопонижения dbx - прошлое и настоящее. Энциклопедия радиоэлектроники и электротехники
Оставьте свой комментарий к этой статье:
Главная страница | Библиотека | Статьи | Карта сайта | Отзывы о сайте

www.diagram.com.ua
2000-2026