Бесплатная техническая библиотека
Аэросани Простор. Личный транспорт

Справочник / Личный транспорт: наземный, водный, воздушный
Комментарии к статье
Селянам степного Алтая, как и жителям Крайнего Севера, зимой просто необходимо надежное и быстроходное транспортное средство. Особенно в нем нуждаются егери, охотники и скотоводы. Единственный относительно доступный транспорт - известный всем снегоход "Буран", но в сравнении с созданными нами аэросанями "Простор" он явно проигрывает.
"Простор" превосходит его в скорости, экономичности - и это при моторах практически равной мощности, а также комфортабельности и плавности хода. Владельцев "буранов" часто допекают прогары поршней, обрывы ремня вариатора, отказы гусеницы. Вышедшие детали дефицитны, а сделать их самому трудно. Аэросани же в случае их поломки можно отремонтировать самостоятельно, даже винтомоторную установку - ведь детали к ПД-10 и "ижам" в продаже имеются. Многолетняя эксплуатация показала, что самодельный аппарат, как ни странно, надежнее серийного снегохода.
На подмоторной раме в задней части аэросаней расположен двигатель с толкающим воздушным винтом. Рама, сваренная из стальных труб прямоугольного сечения и уголка, опирается на поперечную балку и дополнительно прикреплена к корпусу саней подкосами. Корпус выполнен по "авиационной" технологии: силовой каркас состоит из шпангоутов и стрингеров, к которым приклепана обшивка из дюралюминиевых листов. У фонаря одноместной кабины двери откидываются вверх. "Простор" перевозит двух человек со снаряжением. Пассажир размещается за кабиной. Для этого убирается обтекатель, закрывающий пространство между нею и двигателем.
Шасси аэросаней - трехопорное с передней поворотной стойкой. С ней соединен рулевой механизм от автомобиля "Москвич-412". Такое устройство компактно, имеет небольшой вес и свободный ход.
Общий вид аэросаней (на виде сбоку поз.21 не показана) (нажмите для увеличения): 1 - обтекатель носовой, 2 - механизм рулевой, 3 - корпус, 4 - фонарь кабины, 5 - канистра запасная, 6 - обтекатель съемный, 7 - винт воздушный. 8 - рама подмоторная, 9 - сиденье пассажира, 10 - сиденье нилота, 11 - подкос задней опоры, 12 - ограждение воздушного винта нижнее, 13 - пружина, 14 - бензобак, 15 - педаль "газа", 16 - шарнир карданный, 17 - рессора передней опоры, 18 - лыжи, 19 - подрез лыжи, 20 - амортизаторы, 21 - ограждение воздушного винта, 22 - двигатель, 23 - фара, 24 - подножка, 25 - опора задняя. 26 - рессоры задней опоры, 27 - опора передняя, 28 - балка поперечная (Д16Т, труба 1З0х 130x3).
Передний опора (вид спереди, носовой обтекатель снят) (нажмите для увеличения): 1 -балка съемная сварная поперечная (Ст3, s1,5), 2- обшивка корпуса (Д16Т, лист s2), 3 - шпангоут (Ст3, лист s1,5), 4 - корпус рулевого механизма, 5 - стойка (сталь 45, труба 27x4,5), 6 - подкос (Ст3, лист s 1,5), 7 - кронштейн (Ст3, лист s3), 8 - подрессорники, 9 - рессоры, 10 - хвостовик рулевого механизма, 11 - втулка шлицевая (головка рулевой сошки), 12 - фланец нижний (Ст3), 13 - стопор (болт М6), 14 - подушка (резина), 15 - фланец верхний (Ст3), 16 - болт М8 (4 шт.), 17 - заклепка (Д18, 05, 16шт.), 18 - фланец корпуса подшипника (Ст3, лист s3), 19 - опора подшипника (Ст3), 20 - подшипник 46206,21 - корпус подшипника (Ст3), 22 - ось (Ст3, труба 30x2,5), 23 - корпус шарнира (Ст3, труба 36x3), 24 спецболты крепления рессор (М8), 25 - масленка
Носовая часть аэросаней без обтекателя: 1 - механизм рулевой, 2 - кронштейн крепления носового обтекателя, 3 - муфта упругая. 4 - корпус подшипника 46206, 5 - балка поперечная
Крепление рессор к передней лыже: 1 - стойка, 2 - рессора, 3-лыжа. 4 - кронштейн передний (Ст3, лист s2) 5 - полка (Ст3, лист s2), 6 - подушка (резина), 7 - пальцы (болт М10), втулка распорная (Ст3, труба 14x1,5), 9 - шайба (Ст3, лист s2), 10 - втулка резиновая, 11 - кронштейн задний (Ст3, лист s2).
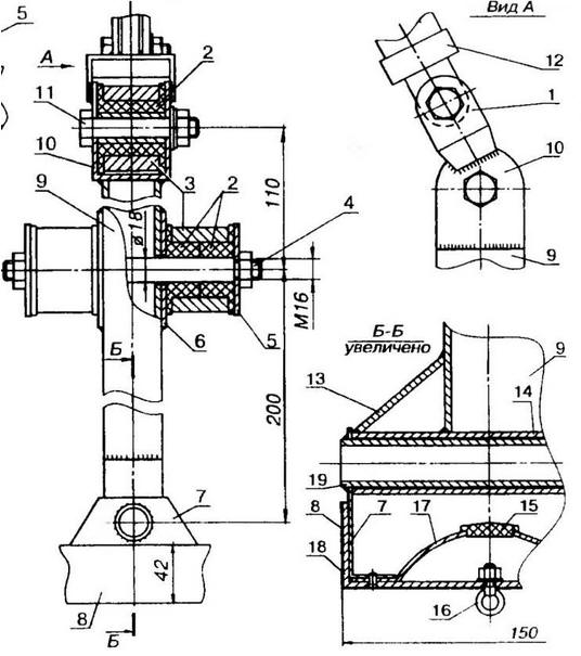
Задняя опора (левая): 1 - кронштейн амортизатора (Ст3, лист s3), 2 - втулки резиновые (от "Мос-квнча-412"), 3 - рессоры, 4 - палец нижних рессор (сталь 45, спецболт М16), 5 - щека (Ст3, лист s2), 6 накладка (Ст3, лист s3), 7 - кронштейн (Ст3, лист s3), 8 - обшивка лыжи, 9 стойка (Ст3, труба 40x25x2.5), 10 - кронштейн верхней рессоры (Ст3, лист s3), 11 - палец верхней рессоры (болт М16). 12 амортизатор, 13 подкос (СтЗ, лист s1,5). 14- корпус шарнира (Ст3, груба 30x3). 15 пробка (резина), 16 - подрез, 17 - усилитель. 18 - подошва. 19 - ось шарнира (Ст3, груба 24x2.5)
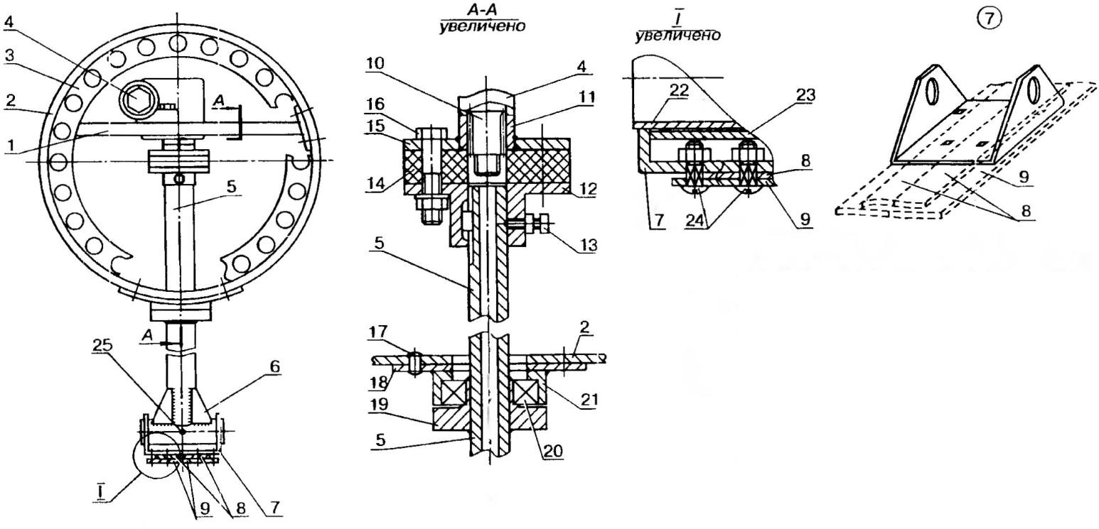
Основные детали и узлы двигателя: 1 - крышка редуктора, 2,1 - пласт ины задняя и передняя (Ст3, лист sЗ,5), 3 - прокладки с дополнительными кронштейнами крепления задней пластины (Ст3, лист s6), 4 - ведущая шестерня (z=20, 2 шт.), 5 - картеры, 6 - корпус цилиндра, 8 - кронштейн крепления магнето, 9 - вал воздушного винта, 10 - шестерня ведомая (z=53), 11 -пробка заливной горловины, 12 - корпус манжеты, 13 - пробка сливная, 14 - заглушка отверстия контроля уровня масла
Вид передней части двигателя: 1 - магнето, 2 - бачок пусковой, 3 - механизм управления карбюраторами, 4 - глушитель, 5 - трубы выхлопные, 6 - спинка сиденья пассажира откидная
Вид задней части двигателя: 1 - пробка сливная, 2- горловина заливная, 3 - крышка редуктора, 4 - воздухозаборник карбюратора, 5 - глушитель
Подвеска задней опоры: 1 - стойка, 2 - пружина, 3 - рессора, 4 - подрессорники
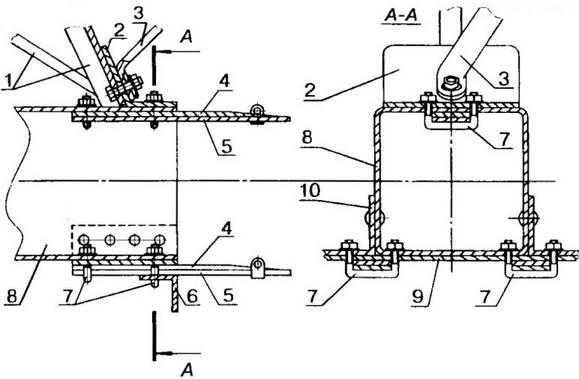
Крепление задних рессор: 1 -элементы подмоторной рамы, 2 -кронштейн (Ст3, лист s2), 3 - элемент ограждения воздушного винта, 4-подрессорники, 5 - рессоры, 6 - балка продольная (Д16Т, уголок 30x30), 7 - стремена (сталь 45, пруток Ø6), 8 - балка поперечная, 9 - пластина усиления (Д16Т, лист s5), 10 - полка (Д16Т, уголок 30x30).
Основные детали конструкции лыж: 1 - усилитель, 2 - подошва (Д16Т, лист s2,5), 3 носок (Д16Т, лист s2,5), 4. 7 -бортики (Д16Т, лист s2,5), 5 - подрез (Ст3, труба 15x2), 6 - шпилька М6, 8 - задник (Д16Т, лист s2,5)
Подвеска лыж - независимая. Передняя закреплена на продольных листовых рессорах, а задние - на поперечных, частично выполняющих роль торсионов, работающих на скручивание при фронтальных ударах. Кроме того, задние подвески снабжены гидравлическими амортизаторами. Все лыжи соединены со стойками шарнирами в виде двух труб различного диаметра, вставленных одна в другую. В зазор между ними через масленку набивается смазка.
Сочленение передней лыжи с рессорой сделано по автомобильному типу: задний ее конец неподвижен, а передний, опираясь на резиновую подушку, имеет одну степень свободы. Сами лыжи состоят из нескольких основных дюралюминиевых частей: средняя часть подошвы; усилитель, сделанный из труб поливочных установок; сварные носок и задник. Последние соединены со средней частью заклепками и болтами. Для лучшего скольжения подошва лыжи обтянута листовым материалом с низким коэффициентом трения (латунь, нержавеющая сталь или кровельное железо толщиной 0,8-1 мм). "Обивка" легко меняется - просто обжимается по подошве, а края загибаются за бортик.
Технические характеристики аэросаней "Простор" с мотором М-40:
- Масса, кг: сухая.................180
- снаряженная..............210
- максимальная....... 370-400
- Количество мест............. 2
- Клиренс, мм................300
- База, мм.................2200
- Колея, мм.................1600
- Двигатель: мощность, л.с............. 40
- масса с в/винтом, кг......... 70
- количество цилиндров.....2
- Передаточное
число редуктора...........2,65
- Диаметр в/винта, м..........1,75
- Частота вращения
в/винта, об/мин............1900
- Тяга в/винта, кгс........130-140
- Расход топлива на 100 км, л................ 25
Двигатель М-40 - один из вариантов уже знакомой читателю модульной (модуль -это цилиндр и картер с коленчатым валом) конструкции из готовых узлов и деталей, но более простой в изготовлении оппозит со встроенным редуктором. У него, как и у предыдущих моделей, цилиндры, головки и карбюраторы заимствованы от "Иж-Планеты", картеры, коленвалы и поршни в сборе - от ПД-10, а шестерни редуктора (z=20 и z=53) - от мотора Д-240 трактора МТЗ-80.
Корпус редуктора отсутствует, а картеры соединены друг с другом через прокладки с дополнительными кронштейнами крепления крышки редуктора. С двух сторон блок закрыт пластинами с вмонтированными в них корпусами подшипников. В верхних подшипниках вращается вал воздушного винта с ведомой шестерней, которая напрессована на вал с натягом 0,05-0,07 мм (после предварительного нагрева). И чтобы полностью исключить взаимное проворачивание, вал и шестерня сварены по окружности прерывистым швом по 5-10 мм. В конструкции "Простора" осевое толкающее усилие воздушного винта воспринимается радиально-упорным подшипником 46208. Он сам и подшипники коленчатых валов смазываются маслом, залитым в картер через горловину в крышке редуктора. На крышке есть также отверстия для контроля уровня масла и его слива.
Изменен и привод штатного магнето (М-124Б1). Удалена крестовина и доработан хвостовик коленчатого вала. Теперь ротор магнето с коленвалом соединены прорезиненным шлангом с хомутами.
Двигатель и редуктор (воздушный винт условно не показан, поз.8 разрезана по В-В) (нажмите для увеличения): 1 - шестерни ведущие, 2 - картеры, 3 - корпуса цилиндров, 4 - втулка воздушного винта, 5 - шестерня ведомая, 6 - пластина задняя, 7, 11 - дополнительные кронштейны крепления задней пластины, 8 - крышка редуктора, 9 - корпус подшипника (АЛ 5), 10 - фланец крепления двигателя к подмоторной раме, 12 - прокладка, 13-муфта соединительная, 14 - насадка вала привода магнето (сталь 45), 15 хомут (2 шт.), 16 - магнето, 17 кронштейн крепления магнето (Ст3). 18 - пластина передняя, 19- шкив привода генератора, 20, 24- корпуса подшипников (Ст3), 21 - подшипник 180206, 22 - вал коленчатый, 23. 29 -манжеты, 25 - подшипник 46208, 26 - вал воздушного винта (40ХГСА), 27 - шпонка, 28 - гайки М22, 30 - корпус манжеты (Ст3), 31 - воздушный винт, 32 - переходник (сталь 45), 33 - подшипник 305
Схема доработки продувочных окон
Схема доработки картера от ПД-10
Вид сзади на подмоторную раму и агрегаты двигателя: 1 - бензонасосы, 2 - один из узлов крепления двигателя к подмоторной раме, 3 - пробка сливная, 4 - бензофильтр.
Двигатель можно оборудовать батарейной системой зажигания. Для этого необходимы аккумулятор и генератор, например Г-250, с ременным приводом от шкива на вале воздушного винта. А в качестве прерывателя - контакты магнето.
Мощность такого оппозитного дубля без форсировки - около 35-40 л.с., и она эффективно реализуется воздушным винтом. Тяга винта достигает 130-140 кгс. Кроме того, у двухтактного двигателя немалые резервы для форсирования - при желании мощность М-40 возможно довести до 50 л.с.
Мотор хорошо уравновешен и с отбалансированным винтом не испытывает вибраций. Поэтому подмоторная рама сделана более легкой и удобной для осмотра и обслуживания силовой установки. Масса двигателя с винтом достигает 68-70 кг, что для аэросаней вполне приемлемо. Однако, если корпусные детали будут изготовлены из алюминиевых сплавов, двигатель станет легче еще килограммов на десять.
Аэросани "Простор" в нашем крае популярны. Но мы все равно продолжаем их совершенствовать. "Простор" по-прежнему в пути.
Автор: В.Ермаков
Рекомендуем интересные статьи раздела Личный транспорт: наземный, водный, воздушный:
▪ Велосипед с мотором
▪ Амфипед
▪ Лодка для спокойной воды
Смотрите другие статьи раздела Личный транспорт: наземный, водный, воздушный.
Читайте и пишите полезные комментарии к этой статье.
<< Назад
Последние новости науки и техники, новинки электроники:
Власть является ключевым фактором счастья в отношениях
11.03.2026
Исследования семейных и романтических отношений показывают, что длительное счастье пары зависит не только от привычных факторов, таких как доверие, уважение и преданность, но и от более тонких психологических аспектов. Современные ученые ищут закономерности, которые отличают действительно счастливые пары от остальных, чтобы понять, какие механизмы поддерживают гармонию в отношениях.
Группа исследователей из Университета Мартина Лютера в Галле-Виттенберге и Бамбергского университета провела опрос среди 181 пары, которые состояли в совместных отношениях более восьми лет и прожили вместе хотя бы месяц. Участники заполняли анкету, описывая различные аспекты своих отношений, включая распределение обязанностей, эмоциональную поддержку и степень вовлеченности в совместные решения.
Анализ данных показал интересный паттерн: пары, где оба партнера ощущали высокий уровень личной власти, оказывались наиболее счастливыми и удовлетворенными. В данном контексте под властью понимается способност ...>>
Защищенная колонка-повербанк Anker Soundcore Boom Go 3i
11.03.2026
Компания Anker представила новую модель линейки Soundcore - колонку Soundcore Boom Go 3i, ориентированную на активное использование на улице.
Новинка отличается высокой степенью защиты: корпус соответствует стандарту IP68, что обеспечивает водо- и пыленепроницаемость, а ударопрочный дизайн выдерживает падение с высоты до одного метра. За качество звука отвечает 15-ваттный драйвер, обеспечивающий пик громкости до 92 дБ, а технология BassUp 2.0 усиливает низкие частоты, делая звучание более насыщенным.
Колонка обладает автономностью до 24 часов, а LED-индикатор позволяет контролировать уровень заряда батареи. Кроме того, Soundcore Boom Go 3i может выполнять функцию павербанка: согласно внутренним тестам, устройство способно зарядить iPhone 17 с нуля до 40% за один час, что делает его полезным аксессуаром в походах и поездках.
Среди функциональных особенностей модели стоит выделить технологию Auracast, которая улучшает подключение и позволяет создавать стереопару из двух колонок ...>>
Раннее воздержание от алкоголя перестраивает мозг и иммунитет
10.03.2026
Алкогольная зависимость - хроническое расстройство с компульсивным употреблением спиртного, которое влияет не только на поведение, но и на функционирование мозга и иммунной системы. Недавние исследования показали, что даже на ранних этапах воздержания организм начинает перестраиваться, открывая новые возможности для терапии зависимости.
Ученые сосредоточились на пациентах, находящихся в первые недели абстиненции, и зафиксировали значительные изменения в мозговой активности. С помощью функциональной магнитно-резонансной томографии они выявили перестройку сетей нейронных связей, отвечающих за контроль импульсов и принятие решений. Эти изменения могут быть ключевыми для восстановления самоконтроля и снижения риска рецидива.
Одновременно с нейронной перестройкой исследователи наблюдали колебания иммунной системы. В крови повышался уровень цитокинов - сигнальных белков, регулирующих воспалительные процессы. Эти данные свидетельствуют о существовании нейроиммунного взаимодействия, при ...>>
Случайная новость из Архива Экзоскелет для спецназа
04.06.2012
Опытные образцы боевого экзоскелета HULC компании Lockheed Martin уже в ближайшее время могут направиться в Афганистан.
Представитель разработчика заявил, что уже в этом году первый боевой экзоскелет в истории вооруженных сил может отправиться в зону боевых действий в Афганистан. Скорее всего, HULC будет использоваться спецназом, который продолжит свои действия на афганском театре военных действий и после вывода войск коалиции в 2014 году.
На выставке Сил специальных операций в Тампе был представлен модернизированный вариант экзоскелета HULC, готовый к боевому развертыванию. Он оснащен поворотной механической "рукой" (для подвески оружия и разгрузки рук и спины солдата) и более мощной батареей. К сожалению, руководитель программы HULC Кейт Максвелл не разрешил сделать фотографии нового образца экзоскелета, зато охотно рассказал о его преимуществах.
Первую версию HULC продемонстрировали в 2010 году, но это была громоздкая конструкция, которая обеспечивала непрерывное движение всего лишь в течение часа. Современная версия HULC с более мощной литий-ионной батареей позволяет двигаться уже 8 часов, при этом компания Lockheed Martin работает над генератором на топливных элементах, который позволит увеличить время работы до 72 часов даже в самых трудных условиях. Этого достаточно для среднестатистической миссии спецназа, к тому же топливный элемент можно будет заправить "в поле".
По сути, HULC представляет собой искусственный внешний позвоночник, ноги и механическую поворотную "руку", которые разгружают костно-мышечную систему солдата. Последний вариант HULC способен принимать на себя до 90 кг груза и позволяет спецназовцу взять с собой больше оборудования, боеприпасов, еды и аккумуляторов и при этом дольше оставаться в хорошей физической форме. Более того, впервые появляется возможность использования тяжелого оружия (например, 12,7-мм пулемета) одним человеком, что резко увеличивает огневую мощь подразделения. Также возможно использование тяжелого штурмового бронещита. В условиях городских боев - это незаменимое, но очень тяжелое снаряжение. При применении HULC весь ранее неподъемный груз ложится на крепкие металлические "кости" экзоскелета, а не на плечи солдата.
HULC очень прочен и прост в использовании. Уже через 90 минут привыкания в экзоскелете можно быстро ходить, бегать, перепрыгивать через канавы и подниматься по крутым склонам. В условиях роста значения малых групп экзоскелет становится важным элементом военного превосходства, позволяя нести более тяжелое оружие, оборудование или большее количество боеприпасов.
|
Другие интересные новости:
▪ ДНК вместо жесткого диска
▪ Panasonic создаст телевизоры в 16 раз четче Full HD
▪ Гибкая керамика
▪ 2D/3D-проектор Epson PowerLite Home Cinema 2030
▪ Создан алмазный транзистор
Лента новостей науки и техники, новинок электроники
Интересные материалы Бесплатной технической библиотеки:
▪ раздел сайта Радиоэлектроника и электротехника. Подборка статей
▪ статья Она исчезла, утопая в сияньи голубого дня. Крылатое выражение
▪ статья Как на самом деле звучала ленинская фраза про кухарку и государство? Подробный ответ
▪ статья Создание и внедрение СУОТ
▪ статья USB термометр на микроконтроллере. Энциклопедия радиоэлектроники и электротехники
▪ статья Симметричный преобразователь уровня - стабилизатор напряжения. Энциклопедия радиоэлектроники и электротехники
Оставьте свой комментарий к этой статье:
Главная страница | Библиотека | Статьи | Карта сайта | Отзывы о сайте

www.diagram.com.ua
2000-2026