Бесплатная техническая библиотека
Автомобильный универсальный прицеп. Личный транспорт

Справочник / Личный транспорт: наземный, водный, воздушный
Комментарии к статье
Идею конструкции нам с отцом удалось только обговорить, и то в общих чертах. Поэтому мне пришлось самому выяснять требования, каким должен отвечать прицеп, чтобы спокойно пройти регистрацию в ГАИ, интересоваться тем, как устроены серийно выпускаемые прицепы и что в этой области сделано самодельщиками. В результате поисков пришел к выводу, что наиболее простой и дешевой в изготовлении будет конструкция со сварной рамой из круглых тонкостенных стальных труб и рессорной подвеской моста с дополнительными гидроамортизаторами, выполняющими роль гасителей поперечных колебаний.
По такому пути я и пошел. Раму с дышлом сварил из труб. Дышло выполнено из трубы большего диаметра и состоит из трех частей: стандартного тягово-сцепного устройства, удлинителя, используемого при транспортировке лодки, и собственно дышла, усиленного подкосами. Присоединительные фланцы по геометрии полностью идентичны фланцу сцепного устройства. Они приварены к вставкам, которые от осевых перемещений и проворачивания фиксируются в трубах двумя болтами М12 каждая.
Задняя часть рамы оснащена выдвигающимся бампером со всем необходимым светотехническим оборудованием и панелькой крепления номерного знака. Во время перевозки лодки бампер выносится за транцевую доску и хорошо виден водителям идущего следом автотранспорта. Крепятся телескопические направляющие бампера в продольных балках рамы болтами М6.
Автомобильный универсальный прицеп (показан в незагруженном состоянии) (нажмите для увеличения): 1 - устройство тягово-сцепное (стандартное); 2 - втулки стойки (Ст3, труба 33,5x2,8); 3 - стойка носового ложемента (Ст3, труба 21,3x2,8); 4 - ложементы (Ст3, лист s2 плюс резина); 5 - подкос носового ложемента (Ст3, труба 21,3x2,8); 6 - удлинитель дышла (Ст3, труба 57x3); 7 -дышло (Ст3, труба 57x3); 8 - кузов; 9 - прокладки ложемента днища (резина s10); 10 - крылья (Д16Т, лист s2); 11 -направляющая бампера (Ст3, труба 33,5x3,2); 12 - поручень (Ст3, пруток 08); 13 блок сигнальных фонарей, правый; 14 - кронштейн рессоры (Ст3, полоса б5); 15 - серьга (Ст3, полоса 50x9); 16 - болты М16; 17 - рессора (от "Москвича-412"); 18 - колесо (от ВАЗ-2101); 19 - прокладки (Ст3, лист s5); 20 - стремянка (сталь 45, пруток O11); 21 - амортизаторы (от ВА-2101); 22- номерной знак; 23 - стойка (Ст3, труба 21,3x2,8); 24 - подкос дышла (Ст3, уголок 25x25); 25 - балка продольная (Ст3, труба 42,3x3,2); 26 - балки поперечные (Ст3, труба 42,3x3,2); 27 -осветитель номерного знака (от УАЗ-469); 28 - бампер (Ст3, уголок 35x35); 29 - болт М12 (3 шт.); 30 - фланцы (Ст3, лист s10); 31 - ось моста (сталь 45, труба 48x3); 32 - стяжка стремянки (Ст3, лист в8); 33 - ложемент днища (Ст3, труба 52x27x2); 34 - вставка (Ст3, труба 50x3); 35 - втулка амортизатора; 36 - шайба; 37 - проушина крепления амортизатора (Ст3, полоса 50x6); 38 - пальцы амортизаторов (болты М12); 39 - стойка ложемента (Ст3, лист s2); 40 - опора стойки (Ст3, труба 48x2); 41 -стремянка замка (Ст3, пруток Ø6); 42 - планка (Ст3, лист s5).
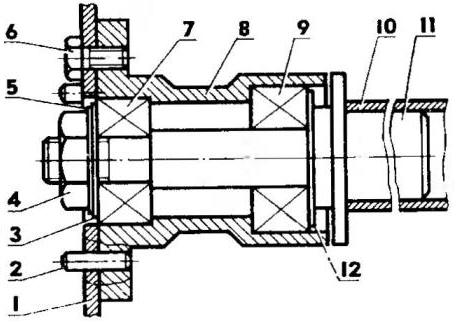
Подшипниковый узел колеса: 1 -диск колеса: 2- штифт центрирующий; 3, 12 - пыльники; 4 - гайка М24 (М24 лев.); 5 шайба; 6 болт М12; 7 подшипник 7605; 8 - ступица (сталь 45). 9 - подшипник 7606; 10 - ось моста; 11 - цапфа (сталь 45)
Лодка на прицеп устанавливается на носовые ложементы, расположенные на удлинителе дышла, и основные, крепящиеся к передней и задней поперечным балкам рамы легкосъемными замками. (Кстати, кузов соединяется с рамой аналогичным образом.) Окончательно лодка притягивается к ложементам специальными ремнями.
Колесный мост представляет собой трубчатую ось, в которую туго посажены цапфы. На них через роликовые конические однорядные подшипники двух типоразмеров надеты ступицы колес. Подшипниковые узлы защищены с обеих сторон пыльниками. Мост подвешен к продольным балкам рамы при помощи "москвичовских" пятилистных рессор. На автомашинах и большинстве прицепов, которые я видел, оси их мостов проходят над рессорами, что, вероятно, делается для уменьшения высоты центра тяжести системы прицеп - груз. У нашего же - под рессорами. Сделано так из соображений, что "Казанка" - очень легкая лодка и положение ее центра тяжести не окажет значительного влияния на устойчивость прицепа. В то же время приподнятая продольная ось (она же - ось дышла) даже при полной загрузке прицепа будет располагаться горизонтально на одной высоте со сцепным устройством тягача и при торможении не создаст усилия, поднимающего "задок" авто. Эксплуатация полностью подтвердила эти расчеты - при езде присутствие прицепа почти не ощущается.
Технические характеристики:
- Масса снаряженная, кг.............100
- Масса перевозимого
груза, кг .................500
- Нагрузка на шаровой шарнир
сцепного устройства, кг..........30
- Габариты прицепа, мм: длина макс. с дышлом
для лодки................. 5040
- с дышлом для кузова.......... 3365
- ширина................. 1520
- колея................. 1360
- Габариты кузова, мм: длина................. 1900
- ширина................. 1150
- высота.................300
Неудача постигла нас только однажды - сломался шток амортизатора. Проанализировал поломку и нашел конструктивную ошибку: амортизатор не имел хотя бы небольшого наклона вперед. А должен. Ибо при работе рессоры углы взаимного расположения амортизатора и его пальцев будут меняться в пределах, определяемых эластичностью резиновых втулок. Действительно, так и делается на всех комбинированных (эллиптические рессоры плюс гидроамортизаторы) подвесках.
Что касается конструкции кузова, то она выполнена по классической схеме, где основой является каркас со стойками из труб прямоугольного сечения, обшитых дюралюминиевыми листами.
Автор: Д.Пекарев
Рекомендуем интересные статьи раздела Личный транспорт: наземный, водный, воздушный:
▪ Катамаран Царевна Лягушка
▪ Мини-веломобиль
▪ Раскладушка на волнах
Смотрите другие статьи раздела Личный транспорт: наземный, водный, воздушный.
Читайте и пишите полезные комментарии к этой статье.
<< Назад
Последние новости науки и техники, новинки электроники:
Лабораторная модель прогнозирования землетрясений
30.11.2025
Предсказание землетрясений остается одной из самых сложных задач геофизики. Несмотря на развитие сейсмологии, ученые все еще не могут точно определить момент начала разрушительного движения разломов. Недавние эксперименты американских исследователей открывают новые горизонты: впервые удалось наблюдать микроскопические изменения в контактной зоне разломов, которые предшествуют землетрясению.
Группа под руководством Сильвена Барбота обнаружила, что "реальная площадь контакта" - участки, где поверхности разлома действительно соприкасаются - изменяется за миллисекунды до высвобождения накопленной энергии. "Мы открыли окно в сердце механики землетрясений", - отмечает Барбот. Эти изменения позволяют фиксировать этапы зарождения сейсмического события еще до появления традиционных сейсмических волн.
Для наблюдений ученые использовали прозрачные акриловые материалы, через которые можно было отслеживать световые изменения в зоне контакта. В ходе искусственного моделирования примерно 30% ко ...>>
Музыка как естественный анальгетик
30.11.2025
Ученые все активнее исследуют немедикаментозные способы облегчения боли. Одним из перспективных направлений становится использование музыки, которая способна воздействовать на эмоциональное состояние и когнитивное восприятие боли. Новое исследование международной группы специалистов демонстрирует, что даже кратковременное прослушивание любимых композиций может значительно снижать болевые ощущения у пациентов с острой болью в спине.
В эксперименте участвовали пациенты, обратившиеся за помощью в отделение неотложной помощи с выраженной болью в спине. Им предлагалось на протяжении десяти минут слушать свои любимые музыкальные треки. Уже после этой короткой сессии врачи фиксировали заметное уменьшение интенсивности боли как в состоянии покоя, так и при движениях.
Авторы исследования подчеркивают, что музыка не устраняет саму причину боли. Тем не менее, она воздействует на эмоциональный фон пациента, снижает уровень тревожности и отвлекает внимание, что в сумме приводит к субъективном ...>>
Алкоголь может привести к слобоумию
29.11.2025
Проблема влияния алкоголя на стареющий мозг давно вызывает интерес как у врачей, так и у исследователей когнитивного старения. В последние годы стало очевидно, что границы "безопасного" употребления спиртного размываются, и новое крупное исследование, проведенное международной группой ученых, вновь указывает на это. Работы Оксфордского университета, выполненные совместно с исследователями из Йельского и Кембриджского университетов, показывают: даже небольшие дозы алкоголя способны ускорять когнитивный спад.
Команда проанализировала данные более чем 500 тысяч участников из британского биобанка и американской Программы миллионов ветеранов. Дополнительно был выполнен метаанализ сорока пяти исследований, в общей сложности включавших сведения о 2,4 миллиона человек. Такой масштаб позволил оценить не только прямую связь между употреблением спиртного и развитием деменции, но и влияние генетической предрасположенности.
Один из наиболее тревожных результатов касается людей с повышенным ге ...>>
Случайная новость из Архива Кольца стабильной плазмы в условиях открытого воздуха
22.11.2017
В многочисленных научно-фантастических фильмах достаточно часто мелькают кадры с использованием плазменного оружия, оружия, стреляющего сгустками ионизированной высокотемпературной плазмы. Однако плазма, являющаяся одним из самых таинственных состояний материи, существует на Земле только во время кратковременных разрядов молний, внутри неоновых вывесок, плазменных телевизионных панелей и многочисленных научных установок. И лишь недавно группе ученых из Калифорнийского технологического института удалось получить кольца стабильной плазмы на открытом воздухе. Более того, это было сделано достаточно просто, при помощи тончайшей струи воды под высоким давлением и пластины из специального кристаллического материала.
Обычно плазма создается путем нагрева материи до столь высокой температуры, что электроны отрываются от атомов, а материя превращается в "суп" из ионов и свободных электронов. Такая плазма называется высокотемпературной плазмой и именно ее ученые пытаются получить и стабилизировать в камерах термоядерных реакторов. Также существует и холодная плазма, которая получается путем ионизации газа под воздействием электрического поля. Именно такая плазма находится в трубках неоновых вывесок и за счет ее создания работают космические ионные двигатели.
Плазма, которую удалось получить на открытом воздухе ученым из Калифорнии, относится к новому третьему типу. Расщепление молекул воды на атомы и ионизация атомов производится за счет высокой кинетической энергии движения струи воды и взаимодействия молекул с атомами кристаллической решетки пластины. В отличие от других попыток создания плазменных сгустков в атмосфере, которые существовали не более 10 миллисекунд, "водяные" плазменные кольца могут существовать сколь угодно долго до тех пор, пока в кристаллическую пластину будет бить струя воды, являющаяся источником энергии.
Струя воды, которая бьет в пластину, имеет диаметр 85 микронов. Давление в 9 тысяч psi (порядка 630 атмосфер) разгоняет струю воды до скорости 305 метров в секунду. Ученые сравнивают это со струей воды, толщиной с человеческий волос, двигающейся со скоростью летящей пули.
"Некоторые из наших коллег утверждали, что создание стабильной плазмы на открытом воздухе является невозможным" - рассказывает Франсиско Перейра (Francisco Pereira), один из исследователей, - "Но нам удалось создать кольцо стабильной плазмы и поддерживать его столько, сколько нам это необходимо. При этом, мы не нуждаемся ни в вакууме, ни в магнитном поле или еще чем-нибудь другом".
Пока еще трудно сказать, как может быть использован на практике новый метод создания плазмы. Тем не менее, считают ученые, этот метод может оказаться очень полезным для проведения исследований в области плазменной физики, а на практике его использование просматривается в области аккумулирования и хранения энергии.
|
Другие интересные новости:
▪ Определено самое долгоживущее позвоночное
▪ Телевидение и школьные оценки
▪ Все мультимедийные возможности HSPA на одном кристалле
▪ Дизель с пальмы
▪ Твердый свет для квантовых компьютеров
Лента новостей науки и техники, новинок электроники
Интересные материалы Бесплатной технической библиотеки:
▪ раздел сайта Видеотехника. Подборка статей
▪ статья Психоактивные вещества и механизмы формирования наркозависимости. Основы безопасной жизнедеятельности
▪ статья Где находится ресторан быстрого питания, который рекламирует себя как самый вредный в мире? Подробный ответ
▪ статья Факторы, влияющие на исход поражения электрическим током
▪ статья Бареттер и урдокс. Энциклопедия радиоэлектроники и электротехники
▪ статья Автомобильная сигнализация. Энциклопедия радиоэлектроники и электротехники
Оставьте свой комментарий к этой статье:
Комментарии к статье:
Александр
Очень понравилось, огромное СПАСИБО!!!!!
А можно я ещё прийду?
[up]
Главная страница | Библиотека | Статьи | Карта сайта | Отзывы о сайте

www.diagram.com.ua
2000-2025