Menu Home

Бесплатная техническая библиотека для любителей и профессионалов Бесплатная техническая библиотека


Учебная кордовая авиамодель. Советы моделисту

Моделирование

Справочник / Аппаратура радиоуправления

Комментарии к статье Комментарии к статье

Эта модель уже много лет с успехом "тиражируется" моделистами. Секрет ее популярности - в простоте конструкции и хороших летных качествах. И даже несмотря на неизменность размеров "серийной" модели, на различных ее экземплярах устанавливались микродвигатели рабочим объемом от 2,5 до 4 см3 в компрессионном и калильном вариантах. Но наиболее часто использовался широко известный КМД-2,5, оснащаемый воздушным винтом диаметром 220x120 мм. Длина корд, обычно применяемых для запусков, близка к стандартной величине -16 метров. Для изготовления деталей модели в основном применяются недефицитные материалы.

Начинается постройка этого самолета с фюзеляжа. В качестве заготовки для него подойдет ровная доска из осины, липы, ольхи, тополя или несмолистой ели. Боковые поверхности доски нужно вышкурить или начисто отстругать. Толщина заготовки после обработки должна оказаться в пределах 6-7 мм. На одну из ее сторон наносят карандашом контуры будущего фюзеляжа, после чего лишний материал обрезается. Затем выпиливают окно облегчения в хвостовой части и вырез под картер двигателя. Из миллиметровой фанеры вырезают две одинаковые заготовки для обшивки носовой части фюзеляжа (на чертеже их контуры обозначены белыми треугольниками).

Эти фанерные детали приклеивают справа и слева к фюзеляжу эпоксидной смолой. Пока клей полимеризуется, из бука, граба или ясеня вырезают бруски моторамы. К фюзеляжу их можно приклеить также эпоксидкой или же клеем ПВА. В окно облегчения хвостовой части вклеиваются распорки из кусочков рейки сечением 6x3 мм.

Киль и фальшкиль выпиливают из березовой фанеры 1,2 мм или из фанеры толщиной 3 мм от фруктовых ящиков (она легкая, практически белого цвета, легко пилится и шкурится; предположительно ее изготавливают из шпона осины на клее типа КМЦ). Из такой же легкой осиновой фанеры выпиливаются стабилизатор и "рамка", образующая каркас руля высоты. В эту "рамку" после ее обработки нужно будет еще вклеить нервюры-распорки, сделанные из сосновой рейки сечением 4x3 мм.

Конечно, если вам не удалось найти легкой осиновой фанеры от фруктовых ящиков, для горизонтального оперения подойдут и другие материалы. Так, стабилизатор можно изготовить из липовой или осиновой пластины толщиной 3 - 3,5 мм или бальзовой пластины толщиной около 4 мм. Руль высоты несложно выполнить наборным. На переднюю кромку пойдут сосновые рейки 8x3 мм, для задней кромки и нервюр-распорок - 4x3 мм.

Учебная кордовая авиамодель

Учебная кордовая авиамодель
Учебная кордовая авиамодель (нажмите для увеличения): 1 - передняя кромка (сосна, сечение 4x4 мм); 2 - носик нервюры (фанера s1,2); 3 - нервюра (фанера s 1,2); 4 - полка лонжерона (сосна, сечение 3,5x6); 5 - поводки корд (проволока ОВС 00,6); 6 - стенка лонжерона (фанера s3); 7 - зашивка центроплана (фанера s1,2); 8 качалка (дюралюминий s2); 9 - топливный бак (луженая жесть s0,2 - 0,3); 10 - накладка носовой части фюзеляжа (фанера s 1,2); 11 - моторама (береза или бук, сечение 8x10,11230); 12-груз внешней консоли крыла (свинец 20 г); 13 - косынка усиления концевой нервюры (фанера s3); 14 - задняя кромка (сосна, сечение 4x12); 15 - тяга руля высоты (дюралюминиевая проволока O3); 16 - фюзеляж; 17 - стабилизатор (осиновая фанера s3); 18 - передняя кромка руля высоты (сосна, сечение 3x8); 19 - "нервюра" руля высоты (сосна, сечение 3x4); 20 - петли навески руля (капроновые или лавсановые нити); 21 - задняя кромка руля высоты (сосна, сечение 3x4); 22 - выводы поводков корд (пружинки, навитые из корда); 23 - фонарь кабины; 24-положение центра масс готовой модели (с двигателем); 25 - контур окна облегчения хвостовой части фюзеляжа; 26 - подкосы (сосна, сечение 3x6); 27 - вертикальное оперение (фанера s1,2); 28 - кабанчик руля высоты (ударопрочный пластик)

Проще всего руль высоты сделать при возможности из бальзовой пластины толщиной 4 мм (конечно, не выпиливая окон облегчения).

В хвостовой части фюзеляжа под готовый стабилизатор выполняется паз. В законченных деталях горизонтального оперения тонким сверлом или стержнем из закаленной стальной проволоки диаметром 1-1,2 мм, заточенным под четырехгранник, просверливаются по три-четыре отверстия под петли навески. Их расположение показано на чертеже. Сами петли образованы переплетением прочной капроновой или лавсановой нити (применение лески недопустимо). Плетение выполняется в виде "восьмерки". Готовое вертикальное оперение и стабилизатор лакируются одним или двумя слоями нитролака, после чего эти детали окрашивают нитроэмалями марки НЦ. Руль высоты (если он не цельнобальзовый) обтягивается лавсановой пленкой толщиной 25 мкм.

Такой же пленкой или кусками микалентной бумаги на нитролаке обшивается проем окна облегчения в хвостовой части фюзеляжа. После установки крыла для защиты оперения и фюзеляжа (особенно моторамы) рекомендуем покрыть их поверхности двухкомпонентным паркетным лаком. Для модели, на которой будет установлен микродвигатель с калильным зажиганием, такая лакировка обязательна.

Фонарь кабины может быть сделан из любого подходящего материала. Для снижения веса нами применяется прозрачная полимерная пленка толщиной 0,3 - 0,5 мм, из которой склеивается плоская фигурная "коробочка" фонаря. Для простоты допустимо выпилить плоский контур фонаря из тонкой фанеры, раскрасив его перед приклейкой на фюзеляж.

Элементы управления (качалка и кабанчик) - покупные, либо самодельные. Качалку несложно вырезать из дюралюминиевой пластины (не тоньше 1,5 мм). Хороший кабанчик руля получается из угловой части пластмассовой коробки (например, из поддона от КМД). Крепление кабанчика состоит из двух винтов М2. Тяга, соединяющая качалку и руль высоты, согнута из стальной спицы диаметром 1,8 - 2 мм или дюралюминиевой диаметром 2,5 - 3 мм. Ось качалки сделана из стальной проволоки диаметром 2,5 - 3 мм.

Топливный бак спаян из "белой" (луженой) жести. Для его надежного крепления изнутри в боковую стенку впаивается (еще на стадии сгибания жестяной выкройки) стальной винт или болт М3х14. Для дренажа и питания двигателя используются медные или латунные трубки диаметром 3 мм. При пайке применяются кислота (хлористый цинк) и припой типа ПОС-40. Заметьте, что отверстия под трубочки в бачке удобнее всего прокалывать самодельным шилом, сделанным из проволоки ОВС диаметром 3 мм. Такой инструмент выполняет ровные и точные по диаметру отверстия. При этом на жести образуется отбортовка, повышающая надежность пайки.

Учебная кордовая авиамодель
Вариант формы фюзеляжа

Учебная кордовая авиамодель
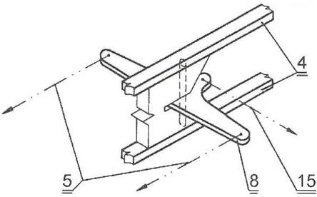
Узел качалки (позиции соответствуют общему виду)

Учебная кордовая авиамодель
Топливный бак

Крыло - типичной наборной конструкции. Для сборки его каркаса потребуется 10 нервюр и 12 носиков, выпиленных из 1,2 мм фанеры, и 4 нервюры из осиновой фанеры толщиной 3 мм (для центроплана и законцовок консолей). Сечения продольных элементов крыла указаны на чертежах. Центроплан имеет двухстороннюю зашивку из фанеры толщиной 1,2 мм. В центральной части крыла и у концевых нервюр между полками лонжерона монтируется стенка из осиновой фанеры 3 мм. На конце внешней части крыла вклеивается компенсирующий груз массой 15 - 20 г. Соединение концевых нервюр с кромками усиливают с помощью фанерных косынок. Способ установки качалки на фигурном бруске, вклеиваемом между полками лонжерона, показан на рисунках.

Готовый каркас крыла обтягивается лавсановой пленкой или микалентной бумагой. В фюзеляж крыло вклеивается уже в полностью готовом виде. После многочисленных опытов по подбору клеев для данной операции, самым надежным и прочным признано соединение, выполненное на эпоксидной смоле.

Перед первыми полетами полезно проверить крыло на отсутствие крутки в горизонтальной плоскости, положение центра тяжести модели с установленным моторчиком, а также величину и симметричность углов отклонения руля высоты вверх и вниз. Опыт показал, что максимальный угол отклонения в одну сторону не должен превышать 30°. Из серийных пластиковых винтов при условии использовании КМД-2,5 наиболее подходящим является "Термик" типоразмера 230x120 мм.

Автор: В.Викторчук

 Рекомендуем интересные статьи раздела Моделирование:

▪ Носовая бобышка резиномоторной модели

▪ Контактная колодка торцевого типа

▪ Комнатные авиамодели

Смотрите другие статьи раздела Моделирование.

Читайте и пишите полезные комментарии к этой статье.

<< Назад

Последние новости науки и техники, новинки электроники:

Канада планирует построить космодром 06.04.2026

Развитие космической инфраструктуры все чаще становится вопросом не только науки и технологий, но и национальной безопасности. Многие государства стремятся получить независимый доступ к космическим запускам, чтобы не зависеть от внешних партнеров и укреплять собственный технологический суверенитет. На этом фоне Канада объявила о запуске масштабного проекта по созданию собственного космодрома. Министр обороны Канады Дэвид Мак-Гинти сообщил, что правительство страны инвестирует 200 млн канадских долларов, что составляет около 150 млн долларов США, в строительство национального космодрома. Эти средства станут частью долгосрочной программы развития суверенных возможностей космических запусков. По словам Мак-Гинти, Министерство обороны подписало 10-летнее соглашение с компанией MLS на сумму 200 млн долларов. В рамках этого контракта планируется строительство стартовой площадки, которая будет использоваться не только военными структурами, включая Министерство обороны и Вооруженные силы ...>>

Обновленные телевизоры Xiaomi S Mini LED TV 2026 06.04.2026

Компания Xiaomi представила обновленную серию телевизоров S Mini LED TV 2026, которая заметно отличается от версии, недавно вышедшей на европейский рынок. Новое поколение ориентировано на расширенные возможности отображения и более гибкую конфигурацию экранов, что делает линейку более универсальной для разных сценариев использования. В обновленной серии Xiaomi S Mini LED TV 2026 предлагается сразу пять диагоналей, начиная от 55 дюймов и заканчивая внушительными 100 дюймами. Флагманская модель оснащена 1920 зонами локального затемнения, способна достигать пиковой яркости до 2000 нит и поддерживает частоту обновления изображения до 288 Гц, что делает ее особенно привлекательной для динамичного контента и игр. Младшая модель в линейке отличается в первую очередь количеством зон локального затемнения, которых здесь 576, однако остальные ключевые характеристики остаются на уровне старших версий. Это позволяет сохранить высокое качество изображения даже в более доступном сегменте, не ж ...>>

Беспилотный грузовой самолет с двигателем AEP100 05.04.2026

Авиационная отрасль стоит перед масштабной задачей перехода к экологически чистым технологиям, и одним из наиболее перспективных направлений считается использование водорода в качестве топлива. Этот элемент рассматривается как потенциальная альтернатива традиционным видам авиационного топлива благодаря своей энергоэффективности и отсутствию углеродных выбросов при использовании. На этом фоне Китай сообщил об успешном испытании беспилотного грузового самолета, оснащенного турбовинтовым двигателем AEP100 мегаваттного класса, работающим на водороде. Это событие стало важным этапом в развитии авиационных технологий, так как позволило протестировать двигатель в реальных условиях полета, а не только в лабораторной среде. Испытательный полет был проведен в субботу, 4 апреля, в городе Чжучжоу, расположенном в китайской провинции Хунань. Именно там впервые в реальных условиях был задействован водородный авиационный двигатель подобной мощности, что дало возможность оценить его стабильность ...>>

Случайная новость из Архива

Пчелиный теблообмен 26.07.2016

Как известно, пчелы демонстрируют несколько способов охлаждения в жаркую погоду. Одни создают движение воздуха внутри улья с помощью крыльев, другие покидают улей для улучшения циркуляции воздуха, третьи летят на поиски пруда или лужи. Последние наполняют себя водой, возвращаются домой и отрыгивают содержимое. Окружающие пчелы подхватывают воду ртами и разбрызгивают ее по улью, что позволяет жилищу охлаждаться по мере испарения воды.

Несмотря на то, что постоянная доставка воды в жаркую погоду кажется очевидной, ученые Корнельского университета в Нью-Йорке решили проверить это эмпирическим путем, а заодно попытаться выяснить, каким образом добытчики воды узнают, когда пора отправляться в экспедицию. Относительно первого предположения все оказалось просто. Исследователи собрали 3000 пчел в двух ульях и поставили их под лампу в лаборатории. При отсутствии у пчел возможности приносить воду температура внутри ульев поднималась до 43°С, что практически смертельно для пчел, которые погибают при температуре выше 40°С. Как только пчелы возобновили поставку воды, температура сразу опустилась до нормальной.

Что же касается оповещения о нехватке воды, то процедура оказалась достаточно простой. Пчелы-разбрызгиватели при повышении температуры начинали приставать к пчелам-водовозам и дотрагиваться языками до их ртов, напоминая им, что пора выплюнуть очередную порцию. При нормальной температуре такого не происходило. А после дня аномальной температуры часть водовозов и разбрызгивателей выступила в роли живых цистерн, запасая воду на будущее.

Другие интересные новости:

▪ Геймеры принимают решения быстрее и точнее

▪ Портативный проектор к PlayStation 4 для игры без телевизора

▪ Быстрое биотопливо из водорослей

▪ Akyumen Holofone: фаблет со встроенным мини-проектором

▪ Микробы против кариеса

Лента новостей науки и техники, новинок электроники

 

Интересные материалы Бесплатной технической библиотеки:

▪ раздел сайта Культурные и дикие растения. Подборка статей

▪ статья Блудница вавилонская. Крылатое выражение

▪ статья Какая надпись на упаковках растительного масла бессмысленна? Подробный ответ

▪ статья Восьмерка. Советы туристу

▪ статья Металлоискатель с совмещенными катушками. Энциклопедия радиоэлектроники и электротехники

▪ статья Нормы испытаний электрооборудования и аппаратов электроустановок потребителей. Норма отклонения значений сопротивления постоянному току элементов машин постоянного тока. Энциклопедия радиоэлектроники и электротехники

Оставьте свой комментарий к этой статье:

Имя:


E-mail (не обязательно):


Комментарий:





Главная страница | Библиотека | Статьи | Карта сайта | Отзывы о сайте

www.diagram.com.ua

www.diagram.com.ua
2000-2026