Menu Home

Бесплатная техническая библиотека для любителей и профессионалов Бесплатная техническая библиотека


Постройка модели-полукопии. Советы моделисту

Моделирование

Справочник / Аппаратура радиоуправления

Комментарии к статье Комментарии к статье

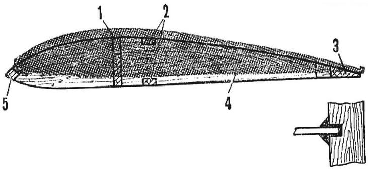
Постройку модели-полукопии начинают с изготовления фюзеляжа (рис. 1), контуры его боковой проекции должны наиболее точно отражать сходство с копируемым самолетом. К конструкции фюзеляжа предъявляют требования максимальной прочности при минимальном весе. Наибольшая трудность при его изготовлении - это уменьшение веса хвостовой части, которая значительно длиннее передней, Поэтому ее делают ферменной.

Изготовление хвостовой фермы усложнено необходимостью взаимной подгонки деталей и их склейки. Верхняя и нижняя ее полки - из сосновых реек толщиной 3-4 мм и шириной 8-12 мм (по носовой части фюзеляжа). Желательно, чтобы сечение реек к концу уменьшалось. Толщина диагональных распорок 1-2 мм, ширина равна ширине полок в данном месте. Пространство между полками можно вместо диагональных распорок сплошь заполнить легким пенопластом. Ферма заканчивается бобышкой. Все части фюзеляжа соединены на клею ПВА или эпоксидной смоле. Длина склеиваемых стыков полок и носовой части должна составлять не менее 30 мм.

Так как беспокоиться об облегчении носовой части фюзеляжа и ее прочности не приходится, то ее изготавливают из монолитного деревянного бруска. Иногда носовую часть оклеивают тканью или стеклотканью на клею или смоле. Это уменьшает хрупкость сосновой пластины.

Особое внимание следует обратить на соответствие контура вертикального оперения - киля и руля поворота (рис. 2), так как они служат своеобразным автографом конструкторского бюро, создавшего этот самолет.

Киль с рулем поворота - из деревянной пластины толщиной 1-2 мм. Руль отклонен вправо на 10-15° для натяжения корды в полете и усиления жесткости вертикального оперения.

Стабилизатор и руль высоты тоже из деревянной пластины толщиной 2-3 мм. Передняя кромка закруглена, задняя сведена до толщины 0,5-1мм. Все это для уменьшения сопротивления и веса. Подвижный руль высоты, как правило, устанавливается только на одной половине стабилизатора. Этого вполне достаточно.

Постройка модели-полукопии
Рис. 1. Конструкция фюзеляжа модели-полукопии: 1 - передняя часть (деревянная пластина), 2 - кабина (оргстекло, целлулоид), 3 - ферменная хвостовая часть, 4 - задняя бобышка, 5 - полка-лонжерон, 6 - раскос, 7 - место склейки (обмотать ниткой), 8 - вырезы под лонжероны крыла

Постройка модели-полукопии
Рис. 2. Формы килей, характерные для самолетов различных типов

Постройка модели-полукопии
Рис. 3. Центровка и балансировка моделей: 1 - груз (20 г), 2 - руль поворота, 3 - тяги, 4 - корды

Постройка модели-полукопии
Рис. 4. Крепление двигателя на модели-полукопии: 1 - болт М3, 2 - пластина, 3 - гайки М3, 4 - пружинная шайба

Постройка модели-полукопии
Рис. 5. Установка воздушного винта: 1 - кок винта, 2 - винт, 3 - двигатель, 4 - упорная шайба, 5 - шайба

Постройка модели-полукопии
Рис. 6. Декоративное оформление носовой части фюзеляжа

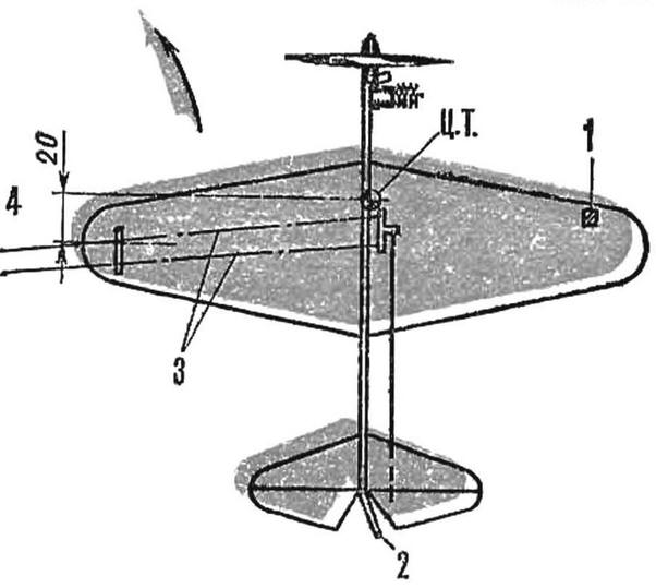
До приклейки оперения следует проверить расположение центра тяжести фюзеляжа с установленным двигателем и приложенным оперением. Он должен быть на уровне передней кромки крыла. В противном случае необходимо принять меры по облегчению фермы и хвостового оперения (рис. 3).

Двигатель крепится к модели (рис. 4) четырьмя болтами с гайками. Под обе гайки, чтобы они не врезались в древесину, необходимо проложить одну общую металлическую пластину размером 10x20 и толщиной 1,2 мм.

Фиксируются гайки контргайками. На моделях самолетов с носовым колесом стойка шасси крепится хомутиком под эти же гайки. Для перемещения центра тяжести фюзеляжа вперед вместо шестигранной гайки, крепящей воздушный винт, ставят стальной кок (рис. 5) с внутренней резьбой по валу двигателя и поперечным отверстием под вороток затяжки.

Иногда носовую часть фюзеляжа со стороны, противоположной двигателю, оклеивают тонкой фанерой, которая закрывает вырез под картер. С этой же стороны рисуют или наклеивают выхлопные патрубки двигателя самолета (рис. 6). Фонарь кабины (рис. 7) обычно делают прозрачным из целлулоида или плексигласа. Внутрь целлулоидного фонаря можно вставить изображение головы пилота.

Ферма фюзеляжа оклеивается бумагой после монтажа хвостового оперения и предварительной балансировки модели в сборе с двигателем и воздушным винтом. Затем приступают К изготовлению крыла.

Типичной особенностью конструкции крыла модели-полукопии является центральный фанерный лонжерон толщиной 2-3 мм (рис. 8), который обеспечивает прочное соединение крыла с фюзеляжем и передачу усилий от шасси (на большинстве самолетов они установлены на крыле). Высота фанерного лонжерона такая же, как и нервюр в местах их пересечения, или несколько меньше.

Форма его учитывает поперечное V крыла. Нервюры врезаются в лонжерон на одну треть его высоты. Вырез у нервюр обычно снизу, у лонжерона - сверху.

Постройка модели-полукопии
Рис. 7. Фонарь пилотской кабины: А - монолитный (оргстекло), Б - выклеенный из целлулоида

Постройка модели-полукопии
Рис. 8. Крепление стойки шасси к лонжерону крыла: 1 - фюзеляж, 2 - нитки и клей, 3 - стойка шасси (проволока), 4 - лонжерон.

Постройка модели-полукопии
Рис. 9. Нервюра крыла: 1 - центральный лонжерон (фанера), 2 - полочные лонжероны (сосна), 3 - задняя кромка крыла, 4 - нервюра, 5 - передняя кромка

Нервюры (рис. 9) вырезают лобзиком из фанеры толщиной 1 мм или липового шпона. Тонкие липовые пластины отпиливаются на циркулярной пиле и обрабатываются для выравнивания поверхности шкуркой, наклеенной на деревянный плоский брусок длиной 200-300 мм и шириной 50-60 мм.

Кроме короткого фанерного силового лонжерона, по всему крылу проходит двухполочный лонжерон, соединяющий все нервюры и законцовку крыла. Он состоит из двух сосновых реек, которые вставляются сверху и снизу нервюр в соответствующие прорези. Изготовьте переднюю и заднюю кромки крыла. Переднюю, обычно квадратную, вставляют в вырезы в носках нервюр на клею, задняя, треугольного сечения, имеет пропилы, в них вводят, предварительно промазав клеем, хвостики нервюр. Пропилы надо делать глубиной на одну треть кромки и точно по толщине хвостика нервюры.

Законцовки крыла (рис. 10) - из деревянных пластинок или брусочков пенопласта, обработанного ножом и шкуркой.

Сначала склеивают одну половину крыла, а после полного высыхания клея -- вторую. Собранное крыло монтируется на фюзеляже (рис. 11), силовой лонжерон вставляется в соответствующую прорезь в фюзеляже и фиксируется клеем. Полки лонжеронов и переднюю кромку приклеивают на фанерных уголках. При монтаже не забудьте об установке корневых (примыкающих к фюзеляжу) нервюр. Эти детали служат только для крепления обтяжки крыла и могут быть значительно облегчены внутренними вырезами. Угол заклинения крыла должен строго выдерживаться и быть постоянным по всему размаху - перекосы исключаются. Поперечное V крыла - симметричное по отношению к плоскости симметрии фюзеляжа.

После крыла монтируются шасси и хвостовое оперение (рис. 12). Стабилизатор накладывается на ферму фюзеляжа или врезается в бобышку (в зависимости от конструкции самолета и чертежа модели). В стык фюзеляжа и стабилизатора снизу и сверху для прочности склейки закладываются треугольные усилители (сторона треугольного сечения 2-3 мм), которые после высыхания клея прошкуриваются. Киль и руль поворота монтируются после стабилизатора.

Стойки шасси (рис. 13) схематически копируют настоящие самолетные. Так, на Ла-5, Як-7, Як-9 стойки прямые, а на Як-1, Як-3 как бы огибают колесо, на Ил-2 "нога" шасси - двухстоечная. Стойки - из стальной проволоки Ø 2,5-3 мм - крепятся к фанерному лонжерону нитками на клею. В лонжероне сверлятся несколько отверстий, через которые стойка как бы пришивается. В месте выхода стойки из плоскости крыла к лонжерону и нервюре приклеивается фанерный прямоугольник, к нему крепится обтяжка.

Колесо обычно из пенопласта (рис. 14). Отверстие в нем для оси сверлится после приклеивания с обеих сторон усиливающих фанерных накладок толщиной 3 мм. Для уменьшения трения в колесо вставляется медная или жестяная (согнутая из полоски жести) трубка. Без усилительных боковых накладок колесо модели, несмотря на наличие втулки, сминается и начинает задевать за стойку.

Боковая часть колеса заклеивается кружком из чертежной бумаги, который скрывает дефекты установки накладок, имитируя диск колеса, Колеса из пористой резины более соответствуют прототипу, но требуют особого ухода - они "боятся" горючего от двигателя.

На настоящем самолете на стойках установлены щитки, закрывающие люки уборки шасси. Характерную для данного самолета форму их следует повторить на модели.

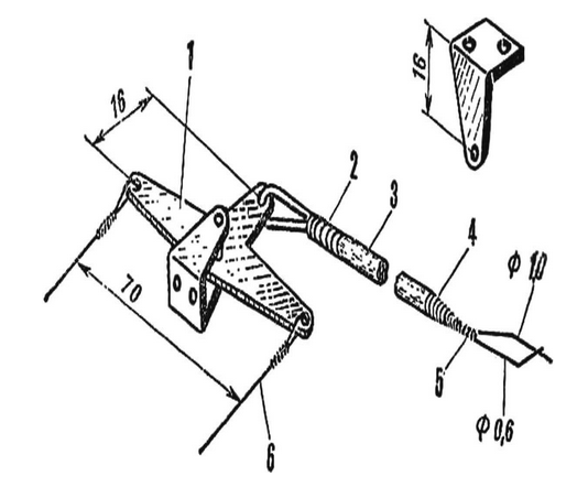
Система управления (рис. 15) состоит из двух гибких тяг из стальной проволоки Ø 0,6-0,7 мм, трехплечевой дюралюминиевой (S = 1,5 мм) качалки, ось которой вращается в ушках укрепленного на фюзеляже кронштейна, а также деревянной тяги с двумя проволочными Ø 1,5 мм законцовками, дюралюминиевой качалки, приклепанной к рулю высоты, фанерных или проволочных направляющих на конце левого крыла для прохода тяг (поз. 6). Эти направляющие расположены на 20 - 30 мм позади центра тяжести модели. В полете фюзеляж должен быть направлен не по касательной к траектории полета, а носовой частью наружу круга. Это необходимо для натяжения корды, то есть обеспечения надежного управления рулем высоты. Чтобы модель не кренилась внутрь круга под тяжестью корд или от случайного порыва ветра, внешнее правое крыло утяжеляется грузом 20-30 г. Кронштейн качалки может быть установлен с любой стороны фюзеляжа, но по эстетическим соображениям (желание сохранить большую копийность с левого борта) моторная установка с баком, качалка, тяга и руль высоты располагаются с правого борта, а в фюзеляже сверлят два отверстия для прохода гибких тяг.

После монтажа всех агрегатов модели еще раз определяется расположение ее центра тяжести. Он должен быть впереди первой четверти хорды крыла.

Постройка модели-полукопии
Рис. 10. Варианты законцовок крыла: 1 - жесткая обшивка, 2 - законцовка из деревянной пластины, 3 - законцовка из пенопласта.

Постройка модели-полукопии
Рис. 11. Установка крыла относительно фюзеляжа перед склейкой

Постройка модели-полукопии
Рис. 12. Установка горизонтального и вертикального оперения на фюзеляж модели: 1 - киль, 2 - клей, 3 - горизонтальное оперение, 4 - штапики, 5 - фюзеляж

Постройка модели-полукопии
Рис. 13. Варианты стоек шасси применительно к самолетам различных типов

Постройка модели-полукопии
Рис. 14. Колесо: 1 - "диск" (чертежная бумага), 2 - металлическая трубка-втулка, 3 - колесо (пенопласт).

Постройка модели-полукопии
Рис. 15. Элементы системы управления моделью: 1 - качалка, 2 - обмотка (нитки) и клей, 3 - тяга (сосна), 4- - обмотка (нитки) и клей, 5 - замок (проволоки спаять припоем ПОС-40), 6 - тяга.

Обтяжка модели - бумага: фюзеляж - микалентная или писчая, на передней части крыла и около фюзеляжа - чертежная, в остальных местах - микалентная или писчая. Для ее наклейки лучше всего использовать клей ПВА. Бумажную обшивку модели надо покрыть два раза нитролаком АН-1 (эмалит), который может быть заменен раствором целлулоида в растворителе для нитрокрасок или ацетоне. Второе покрытие делается через 3-4 часа после полного высыхания первого. Красить модель желательно с помощью распылителя или пульверизатора жидким раствором нитрокраски. Перед покраской потренируйтесь в малярном искусстве на каком-либо другом предмете. Ведь от качества этой заключительной операции зависит внешний вид модели.

Типичные цвета раскраски военных самолетов - голубой снизу и различные оттенки зеленого или защитного цвета сверху. Многие самолеты имели сверху камуфляжно-маскировочную окраску из пятен зеленого и коричневого цветов.

Красные звезды на крыльях, фюзеляже и вертикальном оперении в начале Великой Отечественной войны не имели белой окантовки по контуру.

Диски колес обычно зеленого или серого цветов, "покрышки" - черные. Цвет покрышек необходимо регулярно восстанавливать, так как краска стирается о почву при взлете и посадке.

После окраски выполняется окончательная балансировка. Центр тяжести готовой модели должен находиться не далее первой четверти ширины крыла. В большинстве случаев приходится загружать носовую часть дополнительными металлическими прокладками под болты крепления двигателя, так как при задней центровке (более тяжелом хвосте) модель плохо слушается руля высоты и летает неустойчиво.

Автор: С.Малик

 Рекомендуем интересные статьи раздела Моделирование:

▪ Импеллер

▪ Борьба с радиопомехами

▪ Автожир на корде

Смотрите другие статьи раздела Моделирование.

Читайте и пишите полезные комментарии к этой статье.

<< Назад

Последние новости науки и техники, новинки электроники:

Питомцы как стимулятор разума 06.10.2025

Помимо эмоциональной поддержки, домашние питомцы могут оказывать заметное воздействие на когнитивные процессы, особенно у пожилых людей. Новое масштабное исследование показало, что общение с кошками и собаками не просто улучшает настроение - оно действительно способствует замедлению возрастного снижения умственных способностей. Работа проводилась в рамках проекта Survey of Health, Ageing and Retirement in Europe (SHARE), охватывающего период с 2004 по 2022 год. В исследовании приняли участие тысячи европейцев старше 50 лет. Анализ показал, что владельцы домашних животных демонстрируют более устойчивые когнитивные функции по сравнению с теми, кто не держит питомцев. Особенно выражен эффект оказался у владельцев кошек и собак. Согласно данным ученых, владельцы собак дольше сохраняют хорошую память, в то время как хозяева кошек медленнее теряют способность к быстрому речевому взаимодействию. Исследователи связывают это с тем, что ежедневное взаимодействие с животными требует внимани ...>>

Мини-ПК ExpertCenter PN54-S1 06.10.2025

Компания ASUSTeK Computer презентовала новый мини-компьютер ASUS ExpertCenter PN54-S1. Устройство ориентировано на пользователей, которым важно сочетание производительности, энергоэффективности и универсальности - от офисных задач до мультимедийных проектов. В основе ExpertCenter PN54-S1 лежит современная аппаратная платформа AMD Hawk Point, использующая архитектуру Zen 4. Это поколение чипов отличается улучшенным управлением энергопотреблением и повышенной вычислительной мощностью. Новинка доступна в конфигурациях с процессорами Ryzen 7260, Ryzen 5220 и Ryzen 5210, представленных AMD в начале 2025 года. Таким образом, устройство охватывает широкий диапазон задач - от базовых офисных до ресурсоемких вычислений. Корпус мини-ПК выполнен из прочного алюминия и имеет размеры 130&#215;130&#215;34 мм, что делает его практически незаметным на рабочем столе или за монитором. Несмотря на компактность, внутренняя компоновка позволяет установить два модуля оперативной памяти SO-DIMM ...>>

Глазные капли, возвращающие молодость зрению 05.10.2025

С возрастом человеческий глаз постепенно теряет способность четко видеть на близком расстоянии - развивается пресбиопия, или возрастная дальнозоркость. Этот естественный процесс связан с утратой эластичности хрусталика и ослаблением цилиарной мышцы, отвечающей за фокусировку. Миллионы людей по всему миру сталкиваются с необходимостью носить очки для чтения или прибегают к хирургическим методам коррекции. Однако исследователи из Центра передовых исследований пресбиопии в Буэнос-Айресе представили решение, которое может стать удобной и неинвазивной альтернативой - специальные глазные капли, способные улучшать зрение на длительный срок. Разработку возглавила Джованна Беноцци, директор Центра. По ее словам, цель исследования состояла в том, чтобы предоставить пациентам с пресбиопией эффективный и безопасный способ коррекции зрения без хирургического вмешательства. Новые капли, созданные на основе пилокарпина и диклофенака, показали убедительные результаты: уже через час после первого пр ...>>

Случайная новость из Архива

Открытие нового миллисекундного пульсара в шаровом скоплении Terzan 6 26.09.2024

Астрономы, используя телескоп Грин-Бэнк (GBT), совершили важное открытие, обнаружив новый миллисекундный пульсар в шаровом скоплении Terzan 6. Этот пульсар стал первым, зарегистрированным в данном скоплении, и, вероятно, связан с ним, что открывает новые горизонты для изучения подобных астрономических объектов.

Пульсары представляют собой нейтронные звезды, которые вращаются с огромной скоростью и излучают пучки электромагнитного излучения. Особый интерес вызывают миллисекундные пульсары (MSP) - это пульсары, период вращения которых составляет менее 30 миллисекунд. По современным представлениям, они образуются в двойных системах. В процессе эволюции сначала массивная звезда превращается в нейтронную, а затем ее раскручивают силы аккреции, когда материал с компаньона постепенно передается на нейтронную звезду.

Шаровое скопление Terzan 6, расположенное примерно в 21 800 световых годах от Земли, давно известно астрономам. Это скопление, насыщенное металлами и с разрушенным ядром, стало объектом наблюдений по причине высокой вероятности наличия пульсаров. Хотя скопление было известно десятилетиями, до недавнего времени в нем не удавалось обнаружить ни одного пульсара. Однако частые звездные взаимодействия в его пределах указывали на возможность существования множества таких объектов.

Команда астрономов под руководством Ши-Цзе Гао из Нанкинского университета в Китае впервые зарегистрировала миллисекундный пульсар в Terzan 6, получивший обозначение PSR J1751-3116A. Этот пульсар был обнаружен в ходе целенаправленного поиска с помощью GBT в частотном диапазоне 4-8 ГГц (C-диапазон). Его период вращения составляет около 5,33 миллисекунды, а дисперсия, измеренная при наблюдении, равна примерно 383,08 пк/см?. Эти данные указывают на высокую вероятность связи пульсара с шаровым скоплением Terzan 6.

В ходе дальнейшего анализа ученые выяснили, что плотность потока PSR J1751-3116A на частоте 6,0 ГГц составляет около 3,0 мкДж. Используя спектральный индекс 1,4, исследователи подсчитали, что на частоте 1,44 ГГц плотность потока пульсара увеличивается до 23 мкДж, что является важной характеристикой его радиоизлучения.

Особенностью PSR J1751-3116A является его изолированное положение, что согласуется с данными о Terzan 6 как скоплении с коллапсом ядра. Предполагается, что этот пульсар образовался в результате динамических взаимодействий, характерных для звездных систем в шаровых скоплениях. Это добавляет ценную информацию для понимания процессов образования пульсаров в таких структурах.

Исследователи уверены, что PSR J1751-3116A - это лишь начало. Современные радиотелескопы, такие как GBT и MeerKAT, с их высокой чувствительностью, обещают дальнейшие открытия в Terzan 6. Ученые предполагают, что подобные проекты, как исследовательская программа TRAPUM на базе MeerKAT, позволят обнаружить новые пульсары в этом и других шаровых скоплениях.

В итоге, это открытие не только подтверждает наличие миллисекундных пульсаров в Terzan 6, но и расширяет наши представления о звездной эволюции в подобных скоплениях. Подобные исследования помогут лучше понять, как взаимодействия в густонаселенных звездных системах могут влиять на формирование нейтронных звезд и пульсаров.

Другие интересные новости:

▪ 8-разрядные микроконтроллеры PIC12F635 и PIC12F636

▪ Искусственный алмаз получен при комнатной температуре

▪ Бетон для строительства на Марсе

▪ Нанолазер для фотоники

▪ Критическая уязвимость SIM-карт любого оператора

Лента новостей науки и техники, новинок электроники

 

Интересные материалы Бесплатной технической библиотеки:

▪ раздел сайта Типовые инструкции по охране труда (ТОИ). Подборка статей

▪ статья Пузырчатая упаковка. История изобретения и производства

▪ статья Какой из российских регионов Тайвань считает своей территорией? Подробный ответ

▪ статья Бульдонеж. Легенды, выращивание, способы применения

▪ статья Искусственное масло. Простые рецепты и советы

▪ статья Устройство ориентировки антенн. Энциклопедия радиоэлектроники и электротехники

Оставьте свой комментарий к этой статье:

Имя:


E-mail (не обязательно):


Комментарий:





Главная страница | Библиотека | Статьи | Карта сайта | Отзывы о сайте

www.diagram.com.ua

www.diagram.com.ua
2000-2025