Menu Home

Бесплатная техническая библиотека для любителей и профессионалов Бесплатная техническая библиотека


Конвертер. История изобретения и производства

История техники, технологии, предметов вокруг нас

Справочник / История техники, технологии, предметов вокруг нас

Комментарии к статье Комментарии к статье

Конвертер - аппарат (вид печи) для получения стали из передельного расплавленного чугуна и шихты продувкой воздухом или технически чистым кислородом. В настоящее время чаще применяется кислород. Кислород подается в рабочее пространство конвертера через фурмы (под давлением около 1,5 МПа). Такой метод получения стали называют конвертерным или кислородно-конверторным.

Конвертер представляет собой емкость, состоящую из трех частей: верхней - шлема, средней - цилиндра и нижней - днища. Днище может быть приставным, вставным или цельным с цилиндрической частью. В этом случае конвертер называют глуходонным.

В 1855 году англичанин Генри Бессемер провел интереснейший опыт: он расплавил в тигле кусок доменного чугуна и продул его воздухом. Хрупкий чугун превратился в ковкую сталь. Все объяснялось очень просто - кислород воздуха выжигал углерод из расплава, который удалялся в атмосферу в виде оксида и диоксида.

Впервые в истории металлургии для получения продукта не требовался дополнительный подогрев сырья. Это и понятно, ведь Бессемер реализовал экзотермическую реакцию горения углерода. Процесс был удивительно быстротечен. В пудлинговой печи сталь получали лишь за несколько часов, а здесь - за считанные минуты. Так Бессемер создал конвертер - агрегат, превращающий расплавленный чугун в сталь без дополнительного нагрева. Д.И. Менделеев назвал бессемеровские конвертеры печами без топлива. А поскольку по форме агрегат Бессемера напоминал грушу, его так и называли - "бессемеровская груша".

Конвертер
Конвертер Бессемера

В бессемеровском конвертере можно переплавлять не всякий чугун, а только такой, в составе которого имеются кремний и марганец. Соединяясь с кислородом подаваемого воздуха, они выделяют большое количество теплоты, которая и обеспечивает быстрое выгорание углерода. Все же теплоты не хватает, чтобы расплавлять твердые куски металла. Поэтому в бессемеровском конвертере нельзя перерабатывать железный лом или твердый чугун. Это резко ограничивает возможности его применения.

Бессемеровский процесс - быстрый, дешевый и простой способ получения стали, но есть у него и большие недостатки. Поскольку химические реакции в конвертере идут очень быстро, то углерод выгорает, а вредные примеси - сера и фосфор - остаются в стали и ухудшают ее свойства. Кроме того, при продувке сталь насыщается азотом воздуха, а это ухудшает металл. Вот почему, как только появились мартеновские печи, бессемеровский конвертер стал редко употребляться для выплавки стали. Гораздо больше конвертеры использовали для выплавки цветных металлов - меди и никеля.

Конвертер
Конвертер

Сегодняшний конвертер, конечно, можно в определенном смысле называть потомком бессемеровского детища, ибо в нем, как и прежде, сталь получают, продувая жидкий чугун. Но уже не воздухом, а технически чистым кислородом. Это оказалось намного эффективнее.

Кислородно-конвертерный способ выплавки стали пришел в металлургию более чем полвека назад. Созданный в Советском Союзе по предложению инженера-металлурга Н.И. Мозгового, он полностью вытеснил бессемеровский процесс А первая в мире тонна кислородно-конвертерной стали была успешно выплавлена в 1936 году на киевском заводе "Большевик".

Оказалось, что таким способом можно не только перерабатывать жидкий чугун, но и добавлять в него значительные количества твердого чугуна и железного лома, который раньше можно было перерабатывать только в мартеновских печах. Вот почему кислородные конвертеры получили такое большое распространение.

Но только в 1950-е годы конвертеры для выплавки стали окончательно выдвинулись на первый план. Степень использования тепла в кислородном конвертере гораздо выше, чем в сталеплавильных агрегатах подового типа. Тепловой коэффициент полезного действия конвертера составляет 70 процентов, а у мартеновских печей не более 30. Кроме того, газы отходящие из конвертера, используются при дожигании в котлах-утилизаторах, или как топливо при отводе газов из конвертера без дожигания.

Существует три вида конвертеров: с донной продувкой, верхней и комбинированной. В настоящее время наиболее распространенными в мире являются конвертеры с верхней продувкой кислородом - агрегаты весьма производительные и относительно простые в эксплуатации. Однако в последние годы во всем мире конвертеры с донным и с комбинированным (сверху и снизу) дутьем начинают теснить конвертеры с верхней продувкой.

Конвертер
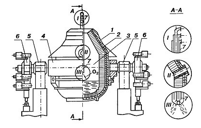
Устройство кислородного конвертера верхнего дутья: 1 - корпус; 2 - футеровка; 3 - рабочее пространство конвертера; 4 - опорное кольцо с цапфами и системой крепления в нем корпуса; 5 - опорные узлы и станины; 6 - механизм поворота; 7 - кислородная фурма с системой крепления и перемещения

Рассмотрим устройство кислородного конвертера с верхней продувкой. Средняя часть корпуса конвертера цилиндрической формы, стены ванны сферической формы, днище плоское. Верхняя шлемная часть конической формы. Кожух конвертера выполняют из стальных листов толщиной 30-90 миллиметров. В конвертерах садкой до 150 тонн днище отъемное, крепят его к корпусу болтами, что облегчает ремонтные работы. При садке 250-350 тонн конвертер делают глуходонным, что вызвано необходимостью создания жесткой конструкции корпуса, гарантирующей от случаев прорыва жидкого металла.

Корпус конвертера крепят к специальному опорному кольцу, к которому приваривают цапфы. Одна из цапф через зубчатую муфту соединена с механизмом поворота. В конвертерах вместимостью больше двухсот пятидесяти тонн обе цапфы являются приводными. Конвертер цапфами опирается на подшипники, установленные на станинах. Механизм поворота позволяет вращать конвертер вокруг горизонтальной оси.

Корпус и днище конвертера футеруют огнеупорным кирпичом. Подача кислорода в ванну конвертера для продувки металла осуществляется через специальную фурму, вводимую в горловину конвертера.

Первой операцией конвертерного процесса является загрузка скрапа. Конвертер наклоняют на некоторый угол от вертикальной оси и специальным коробом-совком вместимостью через горловину загружают в конвертер скрап - железный и стальной лом. Обычно загружают 20-25 процентов скрапа на плавку. Если скрап не подогревают в конвертере, то затем сразу же заливают жидкий чугун. После этого конвертер устанавливают в вертикальное положение, через горловину в конвертер вводят кислородную фурму.

Для наводки шлака в конвертер по специальному желобу вводят шлакообразующие материалы: известь и в небольшом количестве железную руду и плавиковый шпат.

После окисления примесей чугуна и нагрева металла до заданных величин продувку прекращают, фурму из конвертера удаляют и сливают металл и шлак в ковши. Легирующие добавки и раскислители вводят в ковш.

Продолжительность плавки в хорошо работающих конвертерах почти не зависит от их вместимости и составляет 45 минут, продолжительность продувки - 15-25 минут. Каждый конвертер в месяц дает 800-1000 плавок. Стойкость конвертера - 600-800 плавок.

Движение металла в конвертере весьма сложное, помимо кислородной струи, на жидкую ванну воздействуют пузыри оксида углерода. Процесс перемешивания усложняется еще и тем, что шлак проталкивается струей газа в толщу металла и перемешивается с ним. Движение ванны и вспучивание ее выделяющимся оксидом углерода приводят значительную часть жидкого расплава в состояние эмульсии, в которой капли металла и шлака тесно перемешаны друг с другом. В результате этого создается большая поверхность соприкосновения металла со шлаком, что обеспечивает высокие скорости окисления углерода.

Конвертеры с донной продувкой кислородом из-за меньшего угара железа позволяют получить больший (на 1,5-2 процента) выход годной стали по сравнению с конвертерами с верхней продувкой. Плавка в 180-тонном конвертере с донной продувкой длится 32-39 минут, продувка - 12-14 минут, то есть производительность выше, чем у конвертеров с верхней продувкой. Однако необходимость промежуточной замены днищ нивелирует это различие в производительности.

Первые конвертеры с донной продувкой за рубежом были построены в 1966-1967 годах. Необходимость создания такого конвертера обусловлена, в основном, двумя причинами. Во-первых, необходимостью переработки чугунов с повышенным содержанием марганца, кремния и фосфора, поскольку передел такого чугуна в конвертерах с верхней продувкой сопровождается выбросами металла в ходе продувки и не обеспечивает должной стабильности химического состава готовой стали. Во-вторых, тем, что конвертер с такой продувкой является наиболее приемлемой конструкцией, позволяющей осуществить реконструкцию существующих бессемеровских и томасовских цехов, и вписывается в здание существующих мартеновских цехов.

Этому конвертеру свойственно наличие большого числа реакционных зон, интенсивное окисление углерода с первых минут плавки, низкое содержание оксидов железа в шлаке. В силу специфики работы сталеплавильной ванны при донной продувке в конвертерах подобного типа выход годного несколько выше, чем в других конвертерах, а запыленность отходящих газов ниже.

В конвертерах с донной продувкой, имеющих большое число фурм, все технологические процессы протекают интенсивнее, чем в конвертерах с верхней продувкой Однако общая производительность конвертеров с донной продувкой не превышает значительно таковую для конвертеров с верхней продувкой по причине ограниченной стойкости днищ.

Чтобы предохранить кладку днища конвертера от действия высоких температур, фурму делают в виде двух коаксиальных трубок - по центральной подается кислород, а по периферийной - какое-либо углеводородное топливо, чаще всего природный газ. Таких фурм обычно 16-22. Большое число более мелких фурм обеспечивает лучшее перемешивание ванны и более спокойный ход плавки.

Струя топлива отделяет реакционную зону от днища, снижает температуру около днища в месте выхода кислородных струй за счет отбора тепла на нагрев топлива, крекинг и диссоциации составляющих топлива и продуктов их окисления. Охлаждающий эффект, кроме того, обеспечивается пылевидной известью, которая подается в струю кислорода. Таким образом, продувка расплавленного металла несколькими струями кислорода снизу создает ряд благоприятных особенностей в работе конвертера. Обеспечивается большее число реакционных зон и большая межфазная поверхность контакта кислородных струй с металлом. Это позволяет увеличить интенсивность продувки, повысить скорость окисления углерода. Улучшается перемешивание ванны, повышается степень использования кислорода. В результате появляется возможность расплавления больших по массе кусков скрапа. Лучшая гидродинамика ванны обеспечивает более ровный и спокойный ход всей плавки, практически исключает выбросы. В силу этого в конвертерах с донной продувкой можно перерабатывать чугуны с повышенным содержанием марганца и фосфора.

Стремление повысить производительность агрегатов одновременно с необходимостью повысить однородность состава и температуры металла при возможности изготовления сталей широкого диапазона привело к использованию комбинированной продувки при относительно небольшом (по сравнению только с донной продувкой) количестве газов, вдуваемых через фурмы, установленные в днище конвертера.

В последнее время появилось два основных варианта такого процесса, когда снизу подают кислород или инертные газы с целью обеспечить интенсивное перемешивание ванны и ускорить процесс удаления примесей. При этом, как и при донной продувке, снизу вместе с газами может подаваться пылевидная известь. По такому важному показателю, как возможный расход скрапа, конвертеры с верхней, донной и комбинированной продувкой оказываются приблизительно на одном уровне, при несколько более высоком выходе годного при донной продувке.

В настоящее время в мире применяется и разрабатывается много различных методов комбинированной продувки расплавленной ванны, рационально сочетающих верхнюю и донную продувку, причем в последней используется как кислород, так и инертные газы (аргон, азот).

В кислородно-конвертерном процессе с верхней продувкой достаточно интенсивное перемешивание достигается только в середине плавки при интенсивном окислении углерода. В начале и в конце плавки перемешивание недостаточно, что затрудняет глубокое рафинирование металла от серы и фосфора. Комбинированная подача кислорода через верхнюю и донные фурмы еще более, чем при одной донной продувке, ускоряет процесс окисления углерода и повышает производительность конвертера.

По сравнению с чисто донной продувкой в случае комбинированного процесса в сопоставимых условиях температура металла выше. Кроме того, при комбинированной продувке уменьшение расхода кислорода через верхнюю фурму снижает пылеобразование и разбрызгивание.

И еще одно преимущество кислородных конвертеров: здесь все процессы механизированы и автоматизированы, все чаще управление конвертерами поручается компьютерам.

Автор: Мусский С.А.

 Рекомендуем интересные статьи раздела История техники, технологии, предметов вокруг нас:

▪ Линза и очки

▪ Трансформатор

▪ Пульт дистанционного управления

Смотрите другие статьи раздела История техники, технологии, предметов вокруг нас.

Читайте и пишите полезные комментарии к этой статье.

<< Назад

Последние новости науки и техники, новинки электроники:

Власть является ключевым фактором счастья в отношениях 11.03.2026

Исследования семейных и романтических отношений показывают, что длительное счастье пары зависит не только от привычных факторов, таких как доверие, уважение и преданность, но и от более тонких психологических аспектов. Современные ученые ищут закономерности, которые отличают действительно счастливые пары от остальных, чтобы понять, какие механизмы поддерживают гармонию в отношениях. Группа исследователей из Университета Мартина Лютера в Галле-Виттенберге и Бамбергского университета провела опрос среди 181 пары, которые состояли в совместных отношениях более восьми лет и прожили вместе хотя бы месяц. Участники заполняли анкету, описывая различные аспекты своих отношений, включая распределение обязанностей, эмоциональную поддержку и степень вовлеченности в совместные решения. Анализ данных показал интересный паттерн: пары, где оба партнера ощущали высокий уровень личной власти, оказывались наиболее счастливыми и удовлетворенными. В данном контексте под властью понимается способност ...>>

Защищенная колонка-повербанк Anker Soundcore Boom Go 3i 11.03.2026

Компания Anker представила новую модель линейки Soundcore - колонку Soundcore Boom Go 3i, ориентированную на активное использование на улице. Новинка отличается высокой степенью защиты: корпус соответствует стандарту IP68, что обеспечивает водо- и пыленепроницаемость, а ударопрочный дизайн выдерживает падение с высоты до одного метра. За качество звука отвечает 15-ваттный драйвер, обеспечивающий пик громкости до 92 дБ, а технология BassUp 2.0 усиливает низкие частоты, делая звучание более насыщенным. Колонка обладает автономностью до 24 часов, а LED-индикатор позволяет контролировать уровень заряда батареи. Кроме того, Soundcore Boom Go 3i может выполнять функцию павербанка: согласно внутренним тестам, устройство способно зарядить iPhone 17 с нуля до 40% за один час, что делает его полезным аксессуаром в походах и поездках. Среди функциональных особенностей модели стоит выделить технологию Auracast, которая улучшает подключение и позволяет создавать стереопару из двух колонок ...>>

Раннее воздержание от алкоголя перестраивает мозг и иммунитет 10.03.2026

Алкогольная зависимость - хроническое расстройство с компульсивным употреблением спиртного, которое влияет не только на поведение, но и на функционирование мозга и иммунной системы. Недавние исследования показали, что даже на ранних этапах воздержания организм начинает перестраиваться, открывая новые возможности для терапии зависимости. Ученые сосредоточились на пациентах, находящихся в первые недели абстиненции, и зафиксировали значительные изменения в мозговой активности. С помощью функциональной магнитно-резонансной томографии они выявили перестройку сетей нейронных связей, отвечающих за контроль импульсов и принятие решений. Эти изменения могут быть ключевыми для восстановления самоконтроля и снижения риска рецидива. Одновременно с нейронной перестройкой исследователи наблюдали колебания иммунной системы. В крови повышался уровень цитокинов - сигнальных белков, регулирующих воспалительные процессы. Эти данные свидетельствуют о существовании нейроиммунного взаимодействия, при ...>>

Случайная новость из Архива

Мини-ПК GMKTec K11 15.01.2025

На рынок вышла новая модель мини-ПК GMKTec K11, которая сочетает в себе компактность, высокую производительность и стильный внешний вид. Этот мини-ПК не только выглядит привлекательно благодаря RGB-подсветке, но и обладает достаточно мощными характеристиками для выполнения множества задач, от повседневных до более требовательных.

Мини-ПК GMKTec K11 представляет собой интересный выбор для пользователей, которым важна высокая производительность в компактном форм-факторе. Благодаря мощным компонентам, расширяемости и поддержке современных интерфейсов, он способен удовлетворить потребности большинства пользователей, от офисных задач до игровых и мультимедийных приложений.

GMKTec K11 оснащен гибридным процессором AMD APU Ryzen 9 8945HS Hawk Point. Чип включает в себя 8 вычислительных ядер на базе архитектуры Zen 4 с поддержкой 16 потоков, что обеспечивает отличную многозадачность и высокую производительность в различных приложениях. К тому же, процессор дополнен 12-ядерным графическим процессором Radeon 780M, что позволяет мини-ПК справляться с графическими задачами без дополнительных затрат на отдельную видеокарту.

В стандартной комплектации мини-ПК оснащен 32 ГБ оперативной памяти и SSD-накопителем объемом 2 ТБ. Однако для тех, кто нуждается в еще большем объеме памяти и хранилища, предусмотрены возможности для модернизации. Оперативную память можно увеличить до 96 ГБ, а хранилище расширить до 8 ТБ с помощью двух слотов M.2, что позволяет пользователям адаптировать систему под свои нужды.

Графика, интегрированная в чип Radeon 780M, вполне подходит для большинства стандартных задач, таких как просмотр видео, работа с графикой и легкие игры. Однако если пользователь хочет играть в современные ААА-игры с высокими графическими настройками, мини-ПК имеет порт OCuLink. Этот порт обеспечивает подключение к внешним графическим ускорителям (eGPU), которые значительно превосходят решения на базе USB, давая возможность наслаждаться более сложной графикой и высокими разрешениями.

Что касается подключения, GMKTec K11 предоставляет два порта USB4.0, два порта 2.5G LAN для высокоскоростного интернета, HDMI 2.1 и DP2.1 для подключения внешних дисплеев, два порта USB 2.0 и аудиоразъем. Беспроводное соединение поддерживается через Wi-Fi 6 и Bluetooth 5.2, что обеспечивает стабильную и быструю связь. Система охлаждения достаточно эффективна, что позволяет системе потреблять до 70 Вт, поддерживая стабильную работу в различных режимах.

Компактные размеры устройства не мешают его производительности, а стильный RGB-вентилятор, видимый через верхнюю крышку корпуса, добавляет мини-ПК дополнительного шарма и индивидуальности. K11 - это устройство, которое подойдет как для дома, так и для офиса, обеспечивая мощность и функциональность при минимальных габаритах.

Цена на GMKTec K11 начинается с 479,99 долларов за базовую версию barebone и может достигать 649 долларов за модель с 32 ГБ оперативной памяти и 2 ТБ SSD. Это делает устройство доступным для широкой аудитории, желающей получить качественное решение для работы и развлечений.

Другие интересные новости:

▪ Реверсив-контрацептив

▪ Ожирение ухудшает умственные способности

▪ Жизнь на Марсе

▪ Китай - крупнейший в производитель солнечной энергии

▪ Тишина после снегопада

Лента новостей науки и техники, новинок электроники

 

Интересные материалы Бесплатной технической библиотеки:

▪ раздел сайта Молниезащита. Подборка статей

▪ статья Имя им легион. Крылатое выражение

▪ статья Впадают ли какие-нибудь птицы в зимнюю спячку? Подробный ответ

▪ статья Электромонтер электропитающих установок. Типовая инструкция по охране труда

▪ статья Усилитель с малыми динамическими искажениями. Энциклопедия радиоэлектроники и электротехники

▪ статья Управление освещением. Управление внутренним освещением. Энциклопедия радиоэлектроники и электротехники

Оставьте свой комментарий к этой статье:

Имя:


E-mail (не обязательно):


Комментарий:





Главная страница | Библиотека | Статьи | Карта сайта | Отзывы о сайте

www.diagram.com.ua

www.diagram.com.ua
2000-2026