Бесплатная техническая библиотека
Солнечная сушилка фруктов. Советы домашнему мастеру

Справочник / Строителю, домашнему мастеру
Комментарии к статье
Сушат фрукты по-разному. Чаще всего - воздушно-солнечным способом, имеющим, помимо явных преимуществ (простота, доступность и пр.), известные всем минусы.
Предлагаемый вариант гелиосушилки свободен от многих присущих другим конструкциям недостатков. "Парниковый эффект" работает в нем, как говорится, на все сто процентов, обеспечивая температуру под пленкой на 20-25°С выше температуры окружающей среды.
Процесс сушки идет здесь почти в 3 раза интенсивнее: за счет наклона сушильной площадки и разности температур воздуха создаются условия для оптимальной циркуляции последнего внутри установки и положительного влияния естественной конвекции. Часть солнечной энергии аккумулируется в почве (под "дном" сушилки, в роли которого выступает расстеленная зачерненная рулонная бумага), позволяя продлить дневной цикл сушки на 5-6 часов. Производительность установки, несмотря на ее кажущуюся "слабосильность", 0,3-0,5 кг сухофруктов в сутки с одного квадратного метра лучевоспринимающей поверхности.
Конструкция гелиосушилки на первый взгляд мало чем отличается от традиционных "пленочных" парников. По сути, та же коробка со сводчатой крышей из прозрачной синтетики на жестком каркасе. Материал для изготовления бортов - любой. Например, доски подходящих размеров. Соединенные друг с другом при помощи шипов, усиленных металлическими уголками (на иллюстрации не показано), они образуют прочный, ориентированный лучевоспринимающей поверхностью на солнце остов для крепления на нем остальных элементов.
Рис. 1. Гелиосушилка для тепловой переработки фруктов: 1 - штанга (алюминиевая труба, заполненная песком), 2 - прозрачное покрытие (полиэтиленовая пленка), 3 - натяжное устройство (резиновый бинт), 4 - дуги каркаса (алюминиевые трубы), 5 - рама (доска 20х200 мм), 6 - стойка крепления дуги каркаса (стальной пруток), 7 - теплопоглощающее покрытие основания сушилки (плотная бумага черного цвета).
К боковым бортам привинчены стальные стержни-стойки, на которые насаживаются трубчатые дуги свода. Причем в качестве последних можно использовать распиленные и разогнутые по шаблону до R=750 мм гимнастические обручи: алюминиевые, диаметром 900 мм. Для повышения прочности концы трубчатых дуг, насаженные на стальные стержни-стойки, заштифтовываются (на иллюстрации не показано). Кроме того, получившийся каркас может быть дополнительно скреплен поверху продольным трубчатым элементом.
Само прозрачное покрытие - сварное, из синтетической (например, полиэтиленовой) рулонной пленки. К основному полотну прочно присоединяют две боковины, оставляя с северной стороны сушилки незакрепленный участок основного полотна (около 100 мм) - для образования вентиляционной щели. Надо также предусмотреть и другое: проваренный загиб для последующего укрепления в нем штанги - отрезка трубы соответствующего диаметра (можно от выпрямленных гимнастических обручей), заполненного песком.
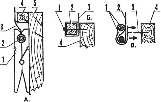
Рис. 2. Способы крепления прозрачного покрытия гелиосушилки. А - с помощью бельевых прищепок: 1 - прищепка, 2 - металлический пруток, 3 - пленка, 4 - опора (деревянный штапик сечением 15х15 мм), 5 - рама основания сушилки. Б - с помощью рейки и гвоздей: 1 - гвоздь, 2 - рейка сечением 15х15 мм, 3 - пленка, 4 - рама основания сушилки. В - с помощью шипов и металлических прутков: 1 - металлические прутки, 2 - пленка, 3 - шип (гвоздь без шляпки), 4 - рама основания сушилки
Из существующих вариантов крепления синтетического покрытия к раме хорошо зарекомендовали себя на практике штапиковый зажим, накалывание завернутого между двух металлических прутков края пленки на забитые через каждые 200 мм гвозди без шляпок, а также разъемное соединение с помощью... прищепок. Последние можно использовать и для закрепления на нужной высоте штанги, обеспечивающей заданный режим вентиляции при сушке.
Чтобы уменьшить трение пленки о дуги каркаса (и соответственно увеличить срок службы прозрачного покрытия гелиосушилки), рекомендую обмотать эти металлические элементы полосой старой пленки. Повышению долговечности покрытия служат и резиновые бинты, из которых выполнено натяжное устройство, обеспечивающее постоянное натяжение пленки при резких порывах ветра.
Рис. 3. Приспособление для сварки полиэтиленовой пленки: 1 - сварочный ролик (стальная шайба с накаткой по внешнему диаметру), 2 - ось ролика (заклепка), 3 - вилка (закрепляется в электропаяльнике вместо штатного жала)
Гелиосушилка располагается на наклонной площадке, сориентированной на юг, чтобы максимально использовать лучистый поток солнечной энергии. Угол наклона зависит от географической широты данной местности и находится для средней полосы страны в пределах 20...30°.
Предварительно обработанное (бланшировка, сульфитация) сырье укладывается внутрь установки на расстеленную бумагу (зачерненную, рулонную). Примерно 10-12 кг на квадратный метр. Солнечные лучи, проходя через прозрачную синтетическую пленку, поглощаются высушиваемыми продуктами. Режим работы во многом определяется шириной вентиляционной щели, регулирующей интенсивность воздухообмена.
Не исключена возможность использования установки в качестве парника весной для выращивания ранней рассады.
Автор: С.Ларкин
Рекомендуем интересные статьи раздела Строителю, домашнему мастеру:
▪ Незамерзающий водопровод
▪ Безопасный погреб
▪ Лопата из вил
Смотрите другие статьи раздела Строителю, домашнему мастеру.
Читайте и пишите полезные комментарии к этой статье.
<< Назад
Последние новости науки и техники, новинки электроники:
Кислотность океана разрушает зубы акул
03.10.2025
Мировые океаны выполняют важнейшую функцию - они поглощают около трети углекислого газа, выбрасываемого в атмосферу. Это помогает замедлять темпы глобального потепления, но имеет и обратную сторону. Растворяясь в воде, CO2 образует угольную кислоту, которая повышает концентрацию водородных ионов и приводит к снижению pH. Вода становится более кислой, а последствия этого процесса уже заметны для морских экосистем.
Средний показатель кислотности океана сейчас равен примерно 8,1, тогда как еще недавно за условную норму брали значение 8,2. По прогнозам, к 2300 году уровень может упасть до 7,3 - это сделает океан почти в десять раз кислее нынешнего состояния. Для обитателей морей подобные изменения означают не просто сдвиг химического равновесия, а реальную угрозу физиологическим процессам, начиная от формирования раковин у моллюсков и заканчивая охотничьим поведением акул.
Чтобы выяснить, как именно кислотная среда отражается на зубах акул, группа немецких исследователей провела эксп ...>>
Почтовый космический корабль Arc
03.10.2025
Космические технологии становятся частью инфраструктуры, способной повлиять на логистику, медицину и даже военную сферу. Идея использовать орбиту как глобальный склад для срочных поставок звучала еще недавно как научная фантастика, но стартап Inversion пытается превратить ее в практическое решение.
Компания Inversion появилась в начале 2021 года благодаря Джастину Фиаскетти и Остину Бриггсу, которые на тот момент были студентами Бостонского университета. Их замысел состоял в том, чтобы сделать возможной доставку грузов не только через спутниковые сети данных, но и в буквальном смысле - физических предметов. В основе лежит простая мысль: если космос обеспечивает доступ к любой точке Земли, то и грузы должны перемещаться тем же маршрутом.
Уже за три года работы команда из 25 специалистов успела построить демонстрационный аппарат "Ray". Его запуск состоялся в рамках миссии SpaceX Transporter-12. Устройство весом 90 килограммов проверяло ключевые технологии Inversion, включая двухком ...>>
Лазерное обогащение урана
02.10.2025
Ядерная энергия остается одним из ключевых источников стабильного электричества, особенно для стран с растущими потребностями в энергоснабжении. Однако обеспечение бесперебойных поставок топлива для атомных станций требует современных технологий обогащения урана, которые одновременно эффективны и безопасны. Американская компания Global Laser Enrichment (GLE) делает значительный шаг в этом направлении, завершив масштабное тестирование лазерной технологии обогащения урана.
Демонстрационная программа была проведена на объекте в Уилмингтоне, Северная Каролина. Тестирование технологии SILEX (Separation of Isotopes by Laser EXcitation), разработанной австралийской Silex Systems, стартовало в мае 2025 года и продлится до конца года. В ходе экспериментов компания планирует получить сотни фунтов низкообогащенного урана (LEU), который может быть использован в качестве топлива для атомных электростанций.
GLE была создана в 2007 году для коммерциализации лазерных методов обогащения урана в С ...>>
Случайная новость из Архива Окна могут обогревать дом
08.12.2024
В условиях глобального стремления снизить энергопотребление и уменьшить выбросы углекислого газа, ученые и инженеры активно разрабатывают новые экологичные технологии. Одной из таких инноваций стали умные окна - решение, способное преобразовать привычные стеклянные конструкции в эффективные помощники в управлении климатом внутри помещений. Об этом рассказывает Анураг Рой, инженер из Университета Эксетера.
Умные окна - это стеклянные конструкции, которые могут автоматически адаптироваться к изменениям внешних условий. Они регулируют уровень освещенности и теплообмена в помещении, позволяя экономить энергию. Такая технология может значительно сократить расходы на отопление и охлаждение зданий, делая их более экологичными и энергоэффективными.
Анураг Рой выделяет несколько типов умных окон, каждое из которых имеет свои особенности:
1. Электрохромные окна: при подаче электрического тока изменяют прозрачность, блокируя инфракрасное излучение. Это помогает предотвратить перегрев помещений летом.
2. Фотохромные окна: темнеют под воздействием ультрафиолетового света, работая по принципу солнцезащитных очков.
3. Термохромные окна: реагируют на изменения температуры, автоматически регулируя свою прозрачность. Они особенно перспективны для сохранения тепла зимой.
Сегодня ученые активно работают над усовершенствованием термохромных окон, чтобы они могли эффективно функционировать при низких температурах. Такая модернизация сделает их более универсальными и пригодными для использования в холодных климатических условиях.
Кроме того, исследователи стремятся повысить долговечность и снизить стоимость этих технологий, чтобы сделать их доступными для массового использования.
Широкое внедрение умных окон может стать важным шагом на пути к снижению углеродного следа. Благодаря способности регулировать теплообмен, такие окна помогут существенно уменьшить энергопотребление зданий, особенно в густонаселенных городах. Кроме того, они найдут применение не только в строительстве, но и в автомобилестроении, улучшая энергоэффективность транспортных средств.
Умные окна представляют собой не просто технологическое новшество, а значимый вклад в экологию и устойчивое развитие. Интеграция таких окон в повседневную жизнь способна изменить подход к строительству и эксплуатации зданий, делая их более комфортными и экологически безопасными. С развитием технологий их потенциал станет еще более ощутимым, помогая нам сделать мир более энергосберегающим и дружественным к природе.
|
Другие интересные новости:
▪ Полезные продукты для курильщиков
▪ Датчики давления с кварцевым генератором и высокой точностью измерений
▪ Моноблочный компьютер Dell XPS 27
▪ Смарт-браслет Sony SmartBand
▪ Спутниковый интернет для Африки
Лента новостей науки и техники, новинок электроники
Интересные материалы Бесплатной технической библиотеки:
▪ раздел сайта Типовые инструкции по охране труда (ТОИ). Подборка статей
▪ статья Универсальная свободнолетающая модель. Советы моделисту
▪ статья Как рыбы нюхают? Подробный ответ
▪ статья Кузнец. Типовая инструкция по охране труда
▪ статья Первичные часы. Энциклопедия радиоэлектроники и электротехники
▪ статья Электроснабжение и электрические сети. Область применения, определения. Энциклопедия радиоэлектроники и электротехники
Оставьте свой комментарий к этой статье:
Главная страница | Библиотека | Статьи | Карта сайта | Отзывы о сайте

www.diagram.com.ua
2000-2025